Организация обеспечения автомобилей горюче-смазочными материалами
Тема 4.3. Тема 4.4. Организация обеспечения автомобилей горюче-смазочными материалами
Вопросы темы:
1. Перевозка, хранение и раздача жидкого топлива
2. Перевозка, хранение и раздача сжиженного и сжатого газов
3. Перевозка, хранение и раздача смазочных материалов
4.4.1. Перевозка, хранение и раздача жидкого топлива
Перевозка жидкого топлива. Жидкое топливо доставляется на АТП и АЗС с ближайшей нефтебазы в автомобилях-цистернах, а в отдельных случаях — в бочках.
Вместимость цистерн для перевозки жидкого топлива, смонтированных на стандартных шасси автомобилей ГАЗ, ЗИЛ, Урал, КрАЗ, МАЗ, КамАЗ, составляет 4—10 тыс. л., а при использовании полуприцепов-цистерн — до 25 тыс.л. При транспортировании топлива и заправке его в полевых условиях применяют автомобили-топливозаправщики, снабженные насосом и раздаточным устройством.
При отпуске топлива с нефтебазы выдается паспорт качества на отпускаемую партию. Количество топлива, отпускаемого нефтебазой в цистерны автомобилей, определяют взвешиванием на автомобильных весах или по объему и удельному весу топлива, залитого в цистерну. Последний определяется по пробе, взятой из цистерны.
Рекомендуемые материалы
Каждая автоцистерна должна иметь паспорт местных органов Госстандарта СССР, удостоверяющий ее объем (в м3) и грузоподъемность (в тоннах).
При приемке топлива на нефтебазе или АТП проверяют наличие и правильность документов, отсутствие течи в цистерне, количество и качество топлива. Для этого определяют удельный вес и высоту налива топлива в цистерне, а также после 10 мин отстоя — наличие воды.
При расхождении фактического количества топлива с данными товарно-транспортной накладной или обнаружении воды в цистерне составляется акт с указанием количества принятого топлива за подписями сдающего и принимающего нефтепродукт
Из цистерны топливо сливается в подземные резервуары самотеком или с помощью насосов.
Хранение жидкого топлива. В зависимости от количества топлива и условий хранения его содержат в бочках или цистернах. Различают наземное, полуподземное и подземное хранение.
Подземное хранение получило наибольшее распространение и имеет ряд преимуществ: менее огнеопасно, дешевле в эксплуатации, занимает меньшую площадь, не требует для слива топлива насосных установок и, самое существенное, обеспечивает наименьшие потери топлива от испарения, а следовательно, и наименьшее ухудшение его качества в процессе хранения.
Известно, что смесь паров бензина с воздухом при определенных условиях может быть взрывоопасной. Опасность взрыва возникает в случае, когда ввоздухе содержится 2,4-5% паров бензина (по объему). Такое отношение бензина и воздуха характерно для температуры воздуха 0 °С и ниже. Учитывая, что при хранении бензина всегда могут возникнуть условия такого его испарения, когда даже при температуре выше 0 °С воздух может быть не полностью насыщен парами бензина и представлять собой взрывную смесь, необходимо предусмотреть меры, обеспечивающие полную безопасность хранения бензина.
Для обеспечения полной противопожарной безопасности при хранении бензина в резервуарах применяют различные системы: с огневыми предохранителями, с использованием инертных газов или жидкостей и основанные на принципе насыщения.
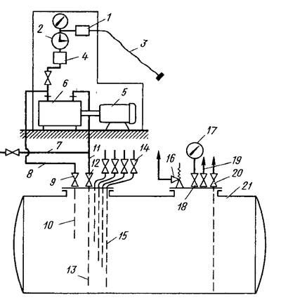
Наибольшее распространение получила система хранения топлива с огневыми предохранителями. Ее суть – резервуар сообщается с внешней средой, а воздух может попасть в него, только пройдя огневой предохранитель. Рассмотрим схему хранилища топлива с огневыми предохранителями (рис. 20.4). Резервуар 2 устанавливают в предварительно вырытом котловане на бетонные подушки 15, засыпают песком и крепят к фундаменту хомутами 14. Если грунтовые воды отсутствуют, резервуар укладывают на песчаные подушки без крепления.
Для наполнения резервуара служит сливной трубопровод 7 с фильтром 6. Конец трубопровода 7 опускают в резервуар ниже обратного клапана всасывающей трубы 11, т. е. в так называемый «мертвый остаток» бензина в резервуаре, благодаря чему в сливном трубопроводе создается гидравлический затвор. Он предотвращает доступ наружного воздуха в резервуар при его заполнении и, следовательно, препятствует проникновению огня внутрь. В свою очередь, сливной фильтр 6 снабжен сетчатым фильтром, служащим одновременно огневым предохранителем. На крышке горловины резервуара смонтированы всасывающая 11 и мерная 9 трубы. На всасывающей трубе установлен огневой предохранитель (угловой) 10. Внутрь мерной трубы, имеющей по всей длине отверстия и обтянутой латунной сеткой, вставлен стержень, на котором нанесены деления, соответствующие количеству бензина в объемных единицах. Для удержания жидкости, заполняющей всасывающую трубу, на ее конце устанавливают обратный клапан с сетчатым фильтром. Бензин всасывается насосом топливораздаточной колонки 12 и раздается через шланг 13 с раздаточным пистолетом. На воздушной трубе 5 установлены угловой 8 и концевой 4 огневые предохранители.
Для предупреждения разряда статического электричества резервуар должен иметь заземление 3. Огневые предохранители представляют собой две латунные сетки, установленные с небольшим зазором между собой. Сетка должна иметь 144—220 ячеек на 1 см2.
Устройство топливохранилищ и пунктов раздачи дизельного топлива в принципе не отличается от рассмотренного, за исключением дополнительных резервуаров, обеспечивающих 10-дневный отстой топлива, наличия приемочной трубки с поплавком для забора дизельного топлива с верхних слоев и дополнительных фильтров между резервуаром и раздаточной колонкой (рис. 20.5). При транспортировке

хранении и раздаче дизельное топливо надо тщательно очищать. Баки автомобилей периодически следует промывать.
Заправка автомобилей жидким топливом. Автомобили заправляют из топливозаправочных колонок, состоящих из насоса, который качает топливо из резервуара, счетчика для замера отпускаемого количества топлива и раздаточного шланга с пистолетом.
Производительность колонок 25— 250 л/мин. Предел допустимой относительной погрешности показаний ±0,5 % от действительного количества топлива, прошедшего через колонку при разовом отпуске. Нормальная работа колонки гарантируется при температуре окружающей среды от —40 до +46 °С и относительной влажности воздуха не более 80 %.
По способу установки колонки подразделяются на стационарные и переносные, по способу привода насоса — на ручные, электромеханические и комбинированные, по способу замера отпускаемого топлива — на объемные и прямоточные с непрерывно действующими счетчиками, по способу управления — на ручные, с дистанционным задающим устройством, с комбинированным управлением и автоматические.
Клапаны обеспечивают прекращение подачи топлива через пистолет сразу же после отпускания пускового рычага и выключения колонки, что позволяет поддерживать гидравлическую систему в заполненном состоянии.
Счетчик представляет собой гидравлический двигатель, рабочими органами которого являются горизонтальные цилиндры с поршнями. Перемещение поршней передается счетному механизму, который имеет два счетчика — разовый и суммарный.
В местах хранения топлива нельзя пользоваться открытым огнем. Заправлять автомобили разрешается только при неработающем двигателе. АЗС должна быть оборудована огнетушителями и ящиками с песком. На опорах наружного освещения должны быть установлены молниеотводы. В топливораздаточной колонке должно быть предусмотрено отключение ее от внешней линии электропитания. Магнитный пускатель монтируют в закрытом помещении. Все металлические и токоведущие части электрооборудования и колонки заземляют.

Этилированный бензин следует хранить в отдельных резервуарах и раздавать из специальных колонок. Запрещается переносить его в открытой таре. При попадании бензина на кожу надо промыть ее керосином, а затем водой с мылом. Глаза промывают 2%-ным раствором питьевой соды.
4.4.2. Перевозка, хранение и раздача сжиженного и сжатого газов
Особенность сжиженных нефтяных газов заключается в том, что они переходят из газообразного состояния в жидкое при обычной темперауре и сравнительно низких давлениях. Поэтому их можно транспортировать и хранить в герметичных резервуарах или баллонах, рассчитанных на давление 1,6—2,0 МПа, и производить раздачу газа или наполнение им баллонов автомобиля в жидком виде. В качестве сжиженных газов для автомобильных двигателей применяют легкие углеводороды — пропан, бутан и их смеси. При особо низких температурах применяют пропан с добавлением до 10 % этана или этилена.
Заправляют автомобили сжиженным газом на газонапдлнительных станциях путем слива жидкого газообразного топлива из резервуара, в котором он хранится, в автомобильные баллоны. При этом резервуар с жидким газом располагается выше уровня баллона автомобиля. Для уравновешивания давлений парового пространства резервуар и баллон автомобиля соединяют трубопроводом. Недостаток этого способа раздачи — медленное перетекание газа вследствие его малого удельного веса. Баллоны на автомобиле можно заполнять, кроме того, под давлением инертных газов, при помощи компрессора, а также перекачиванием газа центробежными многоступенчатыми насосами. На практике чаще всего используется последний способ.
Баллоны для сжиженного газа, устанавливаемые на автомобилях, рассчитаны на давление 1,6 МПа. Каждые 2 года они должны быть переосвидетельствованы. При заправке их сжиженным газом на газонаполнительной станции (рис. 20.6) автомобиль необходимо устанавливать на горизонтальной площадке с тем, чтобы уровень жидкости в баллоне не превысил максимального значения (90 % от объема баллона). В противном случае уменьшится объем паровой подушки и при нагреве баллона может резко повыситься давление, что приведет к его разгерметизации.
При заправке баллонов автомобиля сжиженным газом запрещается: стоять около газонаполнительного шланга, подтягивать гайки соединений металлическими инструментами, курить, регулировать и ремонтировать двигатель. Если после заправки двигатель плохо пускается или работает с хлопками, его следует остановить и откатить автомобиль на расстояние не менее 15 м от газораздаточного устройства. Запрещается заправлять автомобиль при наличии в кузове взрывоопасного груза. При заправке сжиженными газами необходимо иметь в виду их свойство быстро испаряться и отнимать тепло от окружающего воздуха и предметов, с которыми они соприкасаются. Интенсивное испарение начинается при температуре кипения, которая составляет для пропана минус 41,5 °С, бутана плюс 0,5 °С и пропан-бута-новой смеси — минус 20,5 °С. Поэтому при наполнении баллонов во избежание обмораживания рук следует пользоваться рукавицами. Запрещаются разборка и ремонт баллонов до полного выпуска сжиженного газа.
Газонаполнительные станции должны быть оснащены углекислотными огнетушителями и, кроме того, иметь ящики с песком и гидрант для воды. Автомобили тоже оснащаются углекислотными огнетушителями.
Сжатый природный газ (метан) при повышении давления не переходит из газообразного состояния в жидкое. Поэтому для обеспечения необходимого запаса хода его закачивают под давлением 20 МПа в специальные толстостенные баллоны, устанавливаемые под кузовом автомобиля.
Заправка газобаллонных автомобилей, работающих на сжатом природном газе, как правило, производится на автомобильных газонаполнительных компрессорных станциях (АГНКХ). Газ на АГНКХ поступает под небольшим давлением (0,4— 1,2 МПа), очищается от механических примесей и компрессорами сжимается до 26—35 МПа. Проходя затем через влагомаслоотделитель и блок осушки, газ поступает в аккумулятор высокого давления, оттуда через специальные узлы запорной и регулирующей арматуры по трубопроводам направляется к заправочным колонкам.
Колонки расположены в специальных боксах, куда въезжают автомобили для заправки. Они снабжены шлангом высокого давления, присоединяемым к наполнительному вентилю автомобиля, и имеют контрольный манометр для определения начального давления газа в баллонах и давления в конце заправки. Количество заправленного газа определяется исходя из разности этих давлений по специальной номограмме.
В отдельных случаях для заправки газобаллонных автомобилей применяют передвижные газокомпрессорные установки, осуществляющие сжатие газа до 35 МПа непосредственно у потребителя. С их помощью можно заправлять автомобили газом в ночное время, что исключает холостые пробеги. Компрессор модели 2РО-3/350, который составляет основу таких установок, за 16 ч работы заправляет 22 автомобиля.
Для дозаправки газобаллонных автомобилей на линии используются специальные установки, в которых газ находится в аккумуляторных агрегатах под давлением 26—35 МПа. Для таких же целей применяют батареи стандартных автомобильных баллонов с давлением 20 МПа, установленных на специально оборудованных для этого автомобилях.
Наполнение баллонов автомобиля сжатым газом при дозаправке осуществляется под действием перепада давлений между аккумулятором установки и баллонами автомобиля. Для приближенного определения количества газа V (м3), заправленного в баллоны автомобиля, а также для учета израсходованного газа пользуются формулой:

где Vб — объем баллона, л; n — число баллонов на автомобиле; Р1 и Р2 —- начальное и конечное давление газа в баллонах, кгс/см2; z1, z2 — коэффициенты, учитывающие температурное расширение газа.

Рис. 20.6. Схема хранилища и газонаполнительной колонки для сжиженного газа: 1— электромагнитный вентиль; 2 — жидкостной счетчик; 3 — заправочный шланг; 4 — фильтр; 5 — электродвигатель; 6 — жидкостной насос; 7 — трубопровод от опоражниваемой цистерны; 8, 10 — трубопроводы слнвной линии; 9 — вентиль сливной линии; 11, 13 — трубопроводы всасывающей линии; 12 — вентиль всасывающей линии; 14 — указатели уровня жидкости; 15 — трубки указателей уровня; 16 — предохранительный клапан; 17 — манометр; 18 — вентиль манометра; 19 — вентиль указателя максимального уровня заполнения; 20 — вентиль промывочной трубы; 21 — подземная цистерна
В соответствии с Правилами устройства и безопасной эксплуатации сосудов, работающих под давлением Госгортехнадзора СССР автомобильные баллоны для сжатого природного газа должны подвергаться периодическому освидетельствованию на специальных пунктах. Срок освидетельствования для баллонов из легированной стали 1 раз в 5 лет, для баллонов из углеродистой стали 1 раз в 3 года.
Сжатые и сжиженные газы опасны в пожарном отношении, так как при испарении их объем увеличивается соответственно в 600 и 300 раз. В случае пожара на автомобиле надо немедленно закрыть магистральный и баллонный вентили, увеличить частоту вращения коленчатого вала и израсходовать газ из газопроводов. Вспыхнувший газ нужно тушить углекислотным огнетушителем, направляя струю не навстречу огню, а, наоборот, чтобы сбить его.
В последние годы проводятся испытания газобаллонных автомобилей, работающих на сжиженном природном газе, который находится в специальном баллоне автомобиля при температуре минус 161°С. При этом природный газ представляет собой жидкость и его можно заливать в баллоны автомобилей, в автомобильные или железнодорожные цистерны, имеющие надежную теплоизоляцию. Способы заправки сжиженным природным газом не имеют принципиальных различий от способов заправки сжиженным нефтяным газом.
4.4.3. Перевозка, хранение и раздача смазочных материалов
Правильная организация хранения и раздачи смазочных материалов обеспечивает сохранение их качества, сокращение непроизводительных потерь при складских операциях.
Указанным требованиям удовлетворяет централизованный способ доставки, хранения и раздачи смазочных материалов. При этом масла перевозят в автоцистернах, бочках или специальной таре, хранят в цистернах или других резервуарах в специальных помещениях-складах и при раздаче подают их к постам смазки по трубопроводам. Жидкие масла доставляют в автомобилях-цистернах или металлических бочках, а консистентные смазки — в деревянных или металлических бочках.
Склад масла располагается обычно в подвальных помещениях, что обеспечивает слив в складские резервуары самотеком чистых масел из транспортной тары и отработанных с постов смазки. Для сокращения длины трубопроводов помещение склада располагают по возможности ближе к постам смазки. Для каждого сорта смазочного материала предусматривают отдельный резервуар.
Жидкие масла из складских резервуаров подаются на посты смазки к раздаточным устройствам по трубопроводам сжатым воздухом, насосами или комбинированным способом (сжатым воздухом и насосами), а также самотеком. Преимущество следует отдать применению насосных установок. Для этой цели можно использовать ротационно-зубчатые насосы.
На складе смазочных материалов должно быть отведено место для хранения керосина, промывочной жидкости для системы смазки двигателя, тормозной жидкости и антифриза.
Принципиальная схема смазочного хозяйства приведена на рис. 20.7.
На складе масла размещены в резервуарах для хранения свежих и отработанных масел. На данном предприятии не предусматривается регенерация масел, поэтому предусмотрена возможность подачи его в автомобиль-цистерну для отправки в пункты регенерации. Масло, полученное после регенерации, хранится в отдельном резервуаре, из которого оно может подаваться в резервуар для смешивания и последующей подачи в маслораздаточные колонки. Масла подаются шестеренными насосами. Все резервуары для хранения масел оборудуются пароподогревом. Помимо централизованной раздачи масла, предусмотрена выдача масла в передвижные резервуары.
Пластичные (консистентные) смазки для заправки ими нагнетателей можно подавать по трубопроводам шестеренными насосами под давлением до 5,0 МПа или стационарными нагнетателями. Чтобы избежать увеличения вязкости и повышения сопротивления прокачиваемости масла по трубопроводам в результате снижения его температуры при хранении предусматриваются:отопление помещения склада, подогрев масла в цистернах до 30—40 °С при помощи змеевиков, через которые подается пар, и прокладка труб отопления в общем блоке с трубопроводом масла.
Отработанные масла собираются с помощью воронок, расположенных на постах смазки, и поступают самотеком в цистерну, откуда перекачиваются по трубопроводу на регенерацию или в автомобиль-цистерну для вывоза с территории.
По условиям пожарной безопасности полы в маслохранилище должны быть цементными или из метлахской плитки. Склад, размещенный в пределах основного производственного здания АТП, должен иметь непосредственный выход наружу.
Рассмотренное смазочное хозяйство используется на крупных АТП. В небольших автохозяйствах для этой цели рекомендуется использовать стационарные смазочные и маслораздаточные установки моделей С101, С101-1 и С101-2, которые предназначены для централизованной механизированной подачи пластичных смазок и заправки подвижного состава моторными и трансмиссионными маслами. Кроме того, отечественная промышленность выпускает: нагнетатели пластичных смазок моделей Э154М, С321; маслораздаточные колонки моделей 397А, 367МЗ, 367М4, 3155М1; маслораздаточные установки моделей С228, 3119Б, 3161 и другое смазочно-заправочное оборудование, позволяющее на современном уровне организовать смазочное хозяйство на любом АТП.
Контрольные вопросы темы:
1.Какие транспортные средства используются для перевозок жидкого топлива?
2.Какие способы хранения жидкого топлива применяются?
3.Какие требования безопасности предъявляются к транспортным средствам по перевозке топлива?
4.Каким оборудованием должно быть оборудована емкость для хранения жидкого топлива?
5.Как производится заправка автомобилей жидким топливом?
6.Объясните работу элементов топливораздаточной колонки.
7.Как производится перевозка и хранение сжатого и сжиженного газов?
8.Как производится контроль наполнения баллонов автомобиля сжатым газом?
9.Как производится перевозка и хранение смазочных материалов?
10.Какое оборудование используется для раздачи масла?
11.Как производится обозначение марок видов масел на емкостях для хранения?
.
Вопросы темы:
1. Факторы , влияющие на расход топлива автомобилями
2. Нормативные показатели расхода топлива
3. Нормирование расхода топлива на АТП
4 Планирование групповых норм расхода топлива
4.3.1. Факторы , влияющие на расход топлива автомобилями.
Основные факторы, влияющие на расход топлива, связаны с механическими пртерями в двигателе и трансмиссии, а гакже с преодолением сопротивления движению автомобиля.
Расход топлива, затрачиваемый на преодоление сопротивления движению, складывается из расходов на преодоление сопротивления качению, аэродинамического сопротивления и сил инерции.
Топливный баланс автомобиля характеризуется следующей зависимостью:

где QΣ — суммарный расход топлива на движение автомобиля; Qлв-- расход топлива на преодоление .механических, тепловых и насосных потерь в двигателе; Qf — расход топлива на преодоление сопротивления качению; Qw, - расход топлива на преодоление аэродинамического сопротивления; QTp -- расход топлива на преодоление механических потерь в трансмиссии; Qj — расход топлива на преодоление сил инерции автомобиля; Qa — расход топлива на преодоление подъемов и спусков.
Из топливного баланса легкового автомобиля, приведенного на рис. 20.1, следует, что около 60% производимой энергии двигатель потребляет на собственные нужды. Эффективная мощность, подводимая к трансмиссии автомобиля при скорости 40 км/ч, составляет 21 %. Механические потери в трансмиссии достигают 10—15 %.
Существенное влияние на расход топлива оказывает сопротивление движению автомобиля, зависящее от конструкции и массы автомобиля, скорости движения, состояния дороги, конструкции и давления воздуха в шинах. При движении того же автомобиля в городских условиях энергетические затраты на 55 % связаны с ускорениями автомобиля, 32 % приходится на сопротивление качению и 13 % на аэродинамическое сопротивление.
В связи с изложенным при конструировании повышение топливной экономичности достигается обычно путем уменьшения массы автомобиля, повышения КПД двигателя и трансмиссии, снижения сопротивления качению и аэродинамического сопротивления.
ВЛИЯНИЕ ТЕХНИЧЕСКОГО ОБСЛУЖИВАНИЯ АВТОМОБИЛЕЙ НА ЭКОНОМИЮ ТОПЛИВА
Эксплуатационный расход топлива, как правило, превышает контрольный расход топлива, приведенный в технической характеристике автомобиля. Обусловлено это тем, что в реальных условиях эксплуатации на расход топлива оказывают влияние ряд дополнительных факторов (рис. 20.2), которые можно разделить на управляемые и учитываемые.

4.3.2. Нормативные показатели расхода топлива
Нормирование расхода ТСМ и других материалов - это установление допустимой меры их потребления в эксплуатации.
Нормы расхода топлива на автомобильном транспорте - это плановые показатели его расхода на единицу пробега и единицу транспортной работы. Они являются нормами технологическими, т.е. включают расход топлива, необходимый для осуществления транспортного процесса. Расход топлива на ремонт автомобилей и прочие хозяйственные расходы в состав этих норм не включаются и формируются отдельно.
Нормы расхода топлива разрабатываются в соответствии с методикой определения базовых норм расхода топлива на AT, утверждаются Министерством транспорта РФ и периодически (раз в 2-3 года) пересматриваются.
Для автомобилей общего назначения установлены следующие виды норм:
• базовая норма на 100 км пробега автомобиля;
• норма на 100 т-км транспортной работы;
• норма на ездку с грузом.
Базовая норма устанавливается для однозначно определенных дорожно-эксплуатационных, климатических и нагрузочных условий работы. Норма на транспортную работу зависит от разновидности двигателя (бензиновый, дизельный или газовый) и полной массы автомобиля. Норма расхода топлива на ездку с грузом учитывает увеличение расхода, связанное с маневрированием в пунктах погрузки-выгрузки.
Базовые нормы расхода топлива на 100 км пробега автомобиля устанавливаются в следующих измерениях:
• для бензиновых и дизельных автомобилей - в литрах;
• для автомобилей, работающих на сжиженном газе, - в литрах;
• для автомобилей, работающих на сжатом природном газе, - в метрах кубических (при нормальных условиях);
• для газодизельных автомобилей: сжатого газа - в кубических метрах, дизельного топлива - в литрах.
Нормы расхода топлива автомобилями устанавливаются раздельно по автомобильному бензину, дизельному топливу, сжиженному и сжатому газам и служат для нормирования расхода этих ресурсов на АТП, планирования их потребления, и оценки эффективности использования. Нормы классифицируются по степени агрегации на индивидуальные и групповые.
Индивидуальные нормы расход а топлива формируются по технологическим объектам (по моделям автомобилей), а групповые — по экономическим объектам (по министерству, ведомству, объединению, предприятию) .
Индивидуальная норма — это норма расхода топлива автомобилем данной модели в литрах на 100 км пробега, устанавливаемая для однозначно определенных дорожно-эке-плуатационных, климатических и нагрузочных условий работы автотранспорта. Эти нормы предназначаются для текущих расчетов с водителями и учета расхода топлива на АТП и называются линейными.
Групповая норма — это норма расхода топлива на производство единицы транспортной работы определенного вида по данному экономическому объекту. В соответствии с Методикой нормирования расхода топлива на автомобильном транспорте (НИИПиН Госплана СССР, 1983 г.) для автомобилей, работа которых планируется в тонно-километрах, пассажиро-километрах, платных километрах, установлены соответственно следующие размерности групповых норм: г/(т-км), г/(пасс. • км), г/пл. км.
При переходе в 1988 г. на новые условия хозяйствования для планирования работы автомобильного транспорта наряду с указанными стали применять и другие показатели, например объем перевозок грузов в тоннах. Очевидно, в этом случае меняется и размерность групповой нормы, но суть ее остается прежней. Это норма расхода топлива на единицу транспортной работы. Эти нормы рассчитываются на основании линейных норм расхода и служат для планирования потребности и оценки эффективности использования топлива в масштабах министерства, ведомства, объединения, предприятия.
4.3.3. Нормирование расхода топлива на АТП.
Определение нормируемого расхода автомобильного бензина, дизельного топлива, сжиженного и сжатого газов на АТП при расчетах с водителями осуществляется по линейным нормам расхода и нормативным коэффициентам. Последние учитывают влияние на расход топлива автомобилями различных факторов, не учтенных в линейных нормах. Значения линейных норм расхода, предельные значения нормативных коэффициентов увеличения и снижения линейных норм и условия их применения утверждены Госпланом СССР.
АТП предоставлено право устанавливать и применять при нормировании расхода топлива другие, учитывающие реальные условия эксплуатации значения нормативных коэффициентов (надбавок и снижений), но не выше предельных.
При работе автомобилей в зимнее время линейные нормы расхода топлива увеличиваются: в южных районах страны до 5 %, в северных районах до 15 %, в районах Крайнего Севера до 20 %, в остальных районах страны до 10 %.
Линейные нормы расхода топлива увеличиваются также при работе автомобилей в черте города, в горных местностях, при перевозке грузов, требующих пониженных скоростей движения, и в ряде других случаев. Предусматривается также снижение линейных норм: при работе автомобилей на внегородских дорогах с усовершенствованным покрытием они уменьшаются на 15 %.
Для грузовых бортовых автомобилей, автомобилей повышенной проходимости, специализированных автомобилей, седельных тягачей с полуприцепами и автопоездов, выполняющих работу, учитываемую в тонно-километрах, дополнительно нормируется расход топлива на каждые 100 т- км:бензина 2 л; дизельного топлива 1,3 л; сжиженного газа 2,5 л; сжатого газа 2 м3.
Для газодизельных автомобилей (при работе в газодизельном режиме) дополнительная норма расхода топлива на каждые 100т-км: дизельного топлива 0,25 л, сжатого газа 1,2 м3.
Для автомобилей-самосвалов и автопоездов с самосвальными кузовами дополнительно нормируется расход топлива на каждую ездку с грузом независимо от типа двигателя и грузоподъемности: бензина 0,25 л, дизельного топлива 0,25 л, сжиженного газа 0.3л, сжатого газа 0,25 м3.
Нормируемый расход Q„ (в литрах) автомобильного бензина, дзельного топлива, сжиженного и сжатого газов на АТП при расчетах с водителями, выполняющими различные виды перевозок, в общем случае определяется по формуле:

где HS — линейная норма расхода топлива на пробег, л/100 км; S- пробег автомобиля или автопоезда, км; Д — поправочный коэффициент к линейным нормам, в долях единицы; В - нормативный расход топлива на транспортную работу, л/100 т-км; W — объем транспортной работы, т-км; Q — нормативный расход топлива па ездку с грузом, л/ездка; ne- число ездок с грузом.
Расчет нормируемого расхода топлива для одиночных грузовых бортовых автомобилей и седельных тягачей с полуприцепами, выполняющих работу, учитываемую в тонно-километрах, осуществляется по формуле

Расчет нормируемого расхода топлива для автомобилей с прицепами (автопоездов), выполняющих работу, учитываемую в тонно-километрах, осуществляется по формуле

где Gпр -собственная масса прицепа, т.
Расчет нормируемого расхода топлива для специальных и специализированных
автомобилей осуществляется по формуле

где HS — линейная норма расхода тплива базовой модели автомобиля, л/100 км; ΔG — превышение (снижение) массы специального или специализированного автомобиля против базового за счет установки оборудования, т.
Расчет нормируемого расхода топлива одиночным автомобилем-самосвалом осуществляется по формуле

где НS - линейная норма расхода топлива одиночным автомобилем-самосвалом.
Нормированный расход топлива для легковых автомобилей, автобусов, а также грузовых автомобилей, работа которых не учитывается в тонно-километрах (с почасовой оплатой определяется по формуле

Результаты произведенных расчетов нормируемого расхода топлива, выполненных по формулам (20.1) — (20.5), заносятся в путевой лист и накопительную карточку учета работы водителя в графу «Расход топлива по норме».
4.3.4. Планирование групповых норм расхода топлива
Планирование расхода топлива для автомобильного транспорта. Групповые нормы расхода топлива на работу автомобильного транспорта разрабатываются по следующим видам работ:
автогрузоперевозки, выполняемые на бортовых автомобилях, седельных тягачах с полуприцепами, специализированных автомобилях, автомобилях-самосвалах и автопоездах, г/т•км;
пассажироперевозки, выполняемые автобусами, г/пасс.км;
пассажиро- и грузоперевозки, выполняемые такси, г/пл. км.
Групповая норма на работу автомобильного транспорта НW для всех видов перевозок определяется (раздельно по видам топлива) по формуле:

где
— групповая норма расхода топлива без учета надбавок, г/(т-км), г/(пасс. км), г/пл. км; Д - общая по парку надбавка за планируемый период в долях единицы.
В свою очередь:

где р — плотность топлива, равная: для бензина 0,74; дизельного топлива 0,825; сжиженного газа 0,53; сжатого газа 0,72 кг/м3;
- — средневзвешенная норма расхода топлива на пробег автомобилей и автопоездов при фактическом (планируемом) коэффициенте полезной работы; q — средневзвешенная грузоподъемность автомобиля, т; z— коэффициент полезной работы.
Средневзвешенная норма определяется по формуле:
+В
Средневзвешенная норма расхода топлива на пробег грузовых автомобилей
определяется по установленным линейным нормам расхода топлива
для соответствующих моделей автомобилей парка и по списочному количеству автомобилей Aci на начало планируемого периода:

где п — число моделей автомобилей в парке.
Средневзвешенная грузоподъемность автомобилей рассчитывается по номинальной грузоподъемности соответствующих моделей автомобилей и списочному их количеству на начало планируемого периода

Коэффициент полезной работы грузового автомобильного транспорта — это отношение планируемой (выполненной) транспортной работы (т*км) к той транспортной работе, которая может быть выполнена при полном использовании пробега и грузоподъемности автомобиля. Он определяется по формуле

где W — планируемый (выполненный) объем транспортной работы, тыс. км; S — планируемый (выполненный) общий пробег, тыс. км.
Групповая норма расхода топлива без учета надбавок на пассажироперевозки автобусами определяется по формуле

Где
– cредневзвешенная норма расхода топлива на пробег автобусов, л/100 км,
-средневзвешенная вместимомть автобуса, пасс.
Средневзвешенная норма расхода топлива на пробег автобусов HS средневзвешенная пассажировместимость автобуса qn и коэффициент полезной работы автобуса z рассчитываются по формулам, аналогичным (20.6), (20.7), (20.8).
Групповая норма расхода топлива без учета надбавок для легковых и грузовых такси определяется по формуле

Общая надбавка Д включает в себя надбавки к основному нормируемому расходу топлива, учитывает другие отклонения, обусловленные условиями работы автомобильного транспорта, а также экономию топлива за счет осуществления организационно-технических мероприятий. Общая надбавка за отчетный период определяется по формуле

Где- QФ- общий фактический расход топлива за отчетный период с учетом надбавок; W-объем транспортной работы за отчетный период;
— групповая норма расхода топлива на работу автомобильного транспорта за отчетный период без учета общей надбавки.
В случае определения групповой нормы Hw на планируемый год общая надбавка определяется по фактическим ее значениям за ряд предыдущих лет обычными статистическими методами.
Общий нормируемый расход топлива QH на планируемый период рассчитывается по групповой норме расхода топлива Hw и планируемой транспортной работе: QH = HwW.
Анализ эффективности использования топлива проводится путем сравнивания фактических групповых норм расхода топлива с плановыми.
При этом фактическая групповая норма
определяется по формуле:
/WФ
Где QФ – общий фактический расход топлива по парку за отчетный период, тыс.кг;
Wф- фактически выполненная транспортная работа, тыс.т.км.
Контрольные вопросы темы:
1.Составьте и объясните уравнение топливного баланса автомобиля.
2.Перечислите факторы, влияющие на расход топлива.
3.Объясните влияние технического обслуживания автомобилей на экономию топлива.
4. Объясните влияние климатических факторов автомобилей на расход топлива.
5.Какое влияние на расход топлива оказывает состояние механизмов трансмиссии, колес.
6.Какие нормы расход топлива существуют на автомобильном транспорте?
7.В чем разница между индивидуальными и групповыми нормами расхода топлива?
8.Как учитываются при нормировании расхода топлива реальные условия эксплуатации?
9.По какой зависимости определяется нормируемый расход топлива при расчете с водителями на различных перевозках?
10.По какой зависимости производится расчет нормируемого расхода топлива для одиночных и грузовых автомобилей и седельных тягачей и полуприцепов?
11. По какой зависимости производится расчет расхода топлива автомобилей с прицепами?
12. По какой зависимости производится расчет расхода топлива специальных и специализированных автомобилей.
Обратите внимание на лекцию "Лекция 2".
13. По какой зависимости производится расчет нормируемого расхода топлива для одиночного автомобиля-самосвала?
14. По какой зависимости производится расчет расхода топлива для легковых автомобилей, автобусов?
15.Как определяется групповая норма расхода топлива?
16.Как определяется средневзвешенная норма расхода топлива?
17.Объясните значение коэффициента полезной работы грузового автомобильного транспорта.
18.В каких случаях устанавливаются надбавки к расходу топлива? Как они подсчитываются?




















