Автоматизация ЭЭС
Автоматика
1. Автоматическое повторное включение. Назначение и область применения АПВ.
Значительная часть коротких замыканий (КЗ) на воздушный линиях электропередачи (ВЛ), вызванных перекрытием изоляции, схлестыванием проводов и другими причинами, при достаточно быстром отключении повреждений релейной защитой самоустраняется. При этом электрическая дуга, возникшая в месте КЗ, гаснет, не успевая вызвать существенных разрушений, препятствующих обратному включению линии под напряжение. Такие самоустраняющиеся повреждения принято называть неустойчивыми. Статистические данные о пов-реждаемости ВЛ за многолетний период эксплуатации показывают, что доля неустойчивых повреждений весьма высока и составляет 50—90%.
Поскольку отыскание места повреждения на линии электропередачи путем ее обхода требует длительного времени, а многие повреждения имеют неустойчивый характер, обычно при ликвидации аварийного нарушения режима оперативный персонал производит опробование ВЛ обратным включением под напряжение. Эту операцию называют повторным включением. Линия, на которой произошло неустойчивое повреждение, при повторном включении остается в работе. Поэтому повторные включения при неустойчивых повреждениях принято называть успешными.
Реже на ВЛ возникают такие повреждения, как обрывы проводов, тросов или гирлянд изоляторов, падение или поломка опор и т. д. Такие повреждения не могут самоустраниться, поэтому их называют устойчивыми. При повторном включении ВЛ, на которой произошло устойчивое повреждение, вновь возникает КЗ, и она вновь отключается защитой. Поэтому повторные включения линий при устойчивых повреждениях называются неуспешными.
Для ускорения повторного включения линий и уменьшения времени перерыва электроснабжения потребителей широко используются специальные устройства автоматического повторного включения (АПВ). Время действия АПВ обычно составляет от 0,5 до нескольких секунд.
Согласно Правилам устройств электроустановок (ПУЭ) обязательно применение АПВ на всех воздушных и смешанных (кабельно-воздушных) линиях напряжением выше 1 кВ. Автоматическое повторное включение восстанавливает нормальную схему сети также и в тех случаях, когда отключение выключателя происходит вследствие ошибок персонала или ложного действия релейной защиты.
Как показывает опыт эксплуатации, успешность действия АПВ на ВЛ 110—220 кВ достигает 75—80%, а на линиях сверхвысокого напряжения 330 кВ—65—70%, 500—750 кВ—около 50%. Наиболее эффективно применение АПВ на линиях с односторонним питанием, так как в этих случаях каждое успешное действие АПВ восстанавливает питание потребителей и предотвращает аварию.
Неустойчивые КЗ часто возникают не только на ВЛ, но и на шинах подстанций. Поэтому на подстанциях, оборудованных быстродействующей защитой шин, также Применяется АПВ, которое производит повторную подачу напряжения на шины в случае их отключения релейной защитой; АПВ шин имеет высокую эффективность, поскольку каждый случай успешного действия .предотвращает аварийное отключение целой подстанции или ее части.
Рекомендуемые материалы
Устройствами АПВ оснащаются также все одиночно работающие трансформаторы мощностью 1000 кВА и более и трансформаторы меньшей мощности, питающие ответственную нагрузку. Устройства АПВ на трансформаторах выполняются так, чтобы их действие происходило при отключении трансформатора максимальной токовой защитой. Повторное включение при повреждении самого трансформатора, когда он отключается защитами от внутренних повреждений, как правило, не производится. Успешность действия устройств АПВ трансформаторов и шин так же высока, как и устройств АПВ ВЛ, и составляет 70—90%.
В ряде случаев АПВ используется на кабельных и смешанных кабельно-воздушных тупиковых линиях 6— 10 кВ. При этом несмотря на то что повреждения кабелей бывают, как правило, устойчивыми, успешность АПВ составляет 40—60%. Это объясняется тем, что АПВ восстанавливает питание потребителей при неустойчивых повреждениях на шинах подстанций, при отключении линий вследствие перегрузки, при ложных и неселективных действиях релейной защиты. Применение АПВ позволяет в ряде случаев упростить схемы релейной защиты и ускорить отключение КЗ в сетях, что также является положительным качеством этого вида автоматики.
2. Требования к схемам АПВ, классификация схем АПВ.
В эксплуатации получили применение следующие виды устройств АПВ: трехфазные, осуществляющие повторное включение трех фаз выключателя после их отключения релейной защитой; однофазные, осуществляющие включение одной фазы выключателя, отключенной релейной защитой при однофазном КЗ; комбинированные, осуществляющие включение трех фаз (при междуфазных повреждениях) или одной фазы (при однофазных КЗ).
Трехфазные устройства АПВ в свою очередь подразделяются на несколько видов: простые (ТАПВ), быстродействующие (БАПВ), с проверкой наличия напряжения (АПВНН), с ожиданием синхронизма (АПВОС), с улавливанием синхронизма (АПВУС) и др.
По виду оборудования, на которое действием устройств АПВ повторно подается напряжение, различают АПВ линий, АПВ шин, АПВ трансформаторов.
По числу циклов (кратности действия) различают АПВ однократного действия и АПВ многократного действия.
Устройства АПВ, выполненные с помощью специальных релейных схем, называют электрическими, а встроенные в грузовые или пружинные приводы, — механическими.
Схемы АПВ в зависимости от конкретных условий могут существенно отличаться одна от другой. Однако все они должны удовлетворять следующим основным требованиям.
1. Схемы АПВ должны приходить в действие при аварийном отключении выключателя (или выключателей), находившегося в работе. В некоторых случаях схемы АПВ должны удовлетворять дополнительным требованиям, при выполнении которых разрешается пуск АПВ: например при наличии или, наоборот, при отсутствии напряжения, при наличии синхронизма, после восстановления частоты и т. д.
2. Схемы АПВ не должны приходить в действие при оперативном отключении выключателя персоналом, а также в тех случаях, когда выключатель отключается релейной защитой сразу после его включения персоналом (т.е. при включении выключателя на КЗ), поскольку повреждения в этом случае обычно бывают устойчивыми. В схемах АПВ должна также предусматриваться возможность запрета действия АПВ при срабатывании отдельных защит. Так, например, как правило, не допускается действие АПВ трансформаторов при внутренних повреждениях в них, когда срабатывает газовая или дифференциальная защита. В отдельных случаях не допускается действие АПВ линий при срабатывании дифференциальной защиты шин.
3. Схемы АПВ должны обеспечивать определенное количество повторных включений, т. е. действие с заданной кратностью. Наибольшее распространение получило АПВ однократного действия. Применяются также АПВ двукратного, а в некоторых случаях и трехкратного действия.
4. Время действия, как правило, должно быть минимально возможным, для того чтобы обеспечить быструю подачу напряжения потребителям и восстановление нормального режима работы. Наименьшая выдержка времени, с которой производится АПВ на линиях с односторонним питанием, принимается 0,3—0,5 с. Вместе с тем в некоторых случаях, когда наиболее вероятны повреждения, вызванные набросами и касаниями проводов передвижными механизмами, целесообразно для повышения успешности АПВ принимать выдержки времени порядка нескольких секунд.
5. Схемы АПВ должны обеспечивать автоматический возврат в исходное положение готовности к новому действию после включения в работу выключателя, на который действует АПВ.
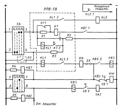
3. Схема 3-х фазного АПВ однократного действия.
Принципиальная схема АПВ для линии с масляным выключателем приведена на рис. 8.1. В комплектное устройство РПВ-58 входят: реле времени КТ типа ЭВ-133 с добавочным резистором R1 для обеспечения термической стойкости реле; промежуточное реле KLI с двумя обмотками—параллельной и последовательной; конденсатор С (20 мкФ), обеспечивающий однократность действия АПВ; зарядный резистор R2 (1,1 МОм) и разрядный резистор R3 (510 Ом).

Рис 8 1 Схема электрического АПВ однократного действия для линии с масляным выключателем.
В рассматриваемой схеме дистанционное управление выключателем производится ключом управления SA, у которого предусмотрена фиксация положения последней операции. Поэтому после операции включения ключ управления остается в положении “Включено” (Да), а после операции отключения—в положении “Отключено” (От). Когда выключатель включен и ключ управления находится в положении “Включено”, к конденсатору С подводится плюс оперативного тока через контакты ключа, а минус—через зарядный резистор R2. При этом конденсатор заряжен и схема АПВ находится в состоянии готовности к действию.
При включенном выключателе реле положения “Отключено” KQT, осуществляющее контроль исправности цепей включения, током не обтекается и контакт его в цепи пуска схемы АПВ разомкнут. Пуск схемы АПВ происходит при отключении выключателя релейной защитой в результате возникновения несоответствия между положением ключа управления, которое не изменилось, и положением выключателя, который теперь отключен. Несоответствие положений ключа и выключателя характеризуется тем, что через контакты ключа .1—3 на схему АПВ по-прежнему подается плюс оперативного тока, а ранее разомкнутый вспомогательный контакт выключателя SQ.1 переключился и замкнул цепь обмотки реле KQT, которое, сработав, подало контактом KQT.1 минус на обмотку реле времени КТ.
При срабатывании реле времени размыкается его мгновенный размыкающий контакт КТ.1 и вводится в цепь обмотки реле дополнительное сопротивление (резистор R1). Это приводит к уменьшению тока в обмотке реле, благодаря чему обеспечивается его термическая стойкость при длительном прохождении тока.
По истечении установленной выдержки времени реле КТ подключает замыкающим контактом КТ.2 параллельную обмотку реле KL1 к конденсатору С. Реле KL1 при этом срабатывает от тока разряда конденсатора и, самоудерживаясь через свою вторую обмотку, включенную последовательно с обмоткой контактора КМ, подает команду на включение выключателя. Благодаря использованию у реле KL1 последовательной обмотки обеспечивается необходимая длительность импульса для надежного включения выключателя, поскольку параллельная обмотка этого реле обтекается током кратковременно при разряде конденсатора. Выключатель включается, размыкается его вспомогательный контакт SQ.1 и возвращаются в исходное положение реле KQT, KL1 и КТ.
Если повреждение на линии было неустойчивым, она останется в работе. После размыкания контакта реле времени КТ.2 конденсатор С начнет заряжаться через зарядный резистор R2, сопротивление которого выбирается таким, чтобы время заряда конденсатора С составляло 20—25 с. Таким образом, спустя указанное время схема АПВ будет подготовлена к новому действию.
Если повреждение было устойчивым, то включившийся под действием схемы АПВ выключатель вновь отключится релейной защитой и вновь сработают реле KQT, и КТ. Реле KL1, однако, при этом второй раз работать не будет, так как конденсатор С, разряженный при первом АПВ, еще не успел зарядиться. Таким образом, рассмотренная схема обеспечивает однократное действие при устойчивом КЗ на линии.
При оперативном отключении выключателя ключом управления SA несоответствия не возникает и схема АПВ не действует, так как одновременно с подачей команды на отключение выключателя контактами ключа 6—8 размыкаются его контакты 1—3, чем снимается плюс оперативного тока со схемы АПВ. Поэтому сработает только реле KQT, а реле КТ и KL1 не сработают. Одновременно со снятием оперативного тока контактами 1-—3 SA замыкаются контакты 2—4 и конденсатор С разряжается через резистор R3. При оперативном включении выключателя ключом управления готовность схемы АПВ к действию наступает после заряда конденсатора через 20—25 с. В случае отключения линии защитой РЗ, когда Действия АПВ не требуется, через резистор R3 производится разряд конденсатора.
Для предотвращения многократного включения выключателя на устойчивое КЗ, что могло бы иметь место в случае застревания контактов реле KL1 в замкнутом состоянии, в схеме управления устанавливается специальное промежуточное реле KBS типа РП-232, имеющее две обмотки — рабочую последовательную и параллельную удерживающую. Реле KBS срабатывает при прохождении тока по катушке отключения выключателя и удерживается в сработавшем положении до снятия команды на включение. Цепь обмотки КМ при этом размыкается контактом KBS.1, благодаря чему предотвращается включение выключателя.
4. Ускорение защиты до и после АПВ.
Ускорение защиты после АПВ.
Автоматическое ускорение действия защиты при АПВ применяется для ускорения ликвидации КЗ и повышения надежности работы энергосистемы и потребителей. Ускорение защиты после АПВ предусматривается, как правило, на всех линиях как мера повышения надежности защиты линии в целом.
На рис. 8.2, а показана схема ускорения защиты после АПВ. Цепь ускоренного действия нормально разомкнута контактом промежуточного реле ускорения KL2.1, которое срабатывает перед повторным включением выключателя и, имея замедление на возврат, держит свой контакт замкнутым в течение 0,7—1 с. Поэтому, если повторное включение происходит на устойчивое КЗ, защита второй раз подействует без выдержки времени по цепи ускорения через контакт KL2.1 и мгновенный контакт КТ.1 реле времени. В качестве реле ускорения обычно используется реле типа РП-252.


Рис. 8.2. Схема ускорения действия защиты:а — после АПВ; б—до АПВ

Рис. 8.3. Пуск реле ускорения от контактов реле положения “Отключено”.
Для запуска промежуточного реле ускорения наряду со схемой, показанной на рис. 8.1, применяется схема, приведенная на рис. 8.3. При отключении выключателя реле положения “Отключено” срабатывает и кроме рассмотренных ранее действий замыкает контакт KQT.1 в цепи обмотки реле ускорения K.L, которое, сработав, в свою очередь замыкает контактом K.L.1 цепь ускорения. При подаче команды на включение выключателя реле KQT возвращается и снимает плюс с обмотки реле ускорения KL.
Однако последнее возвращается не сразу, а с замедлением 0,7—1 с, что достаточно для срабатывания защиты по цепи ускорения при включении выключателя на устойчивое КЗ. Ускорение защиты можно выполнять непосредственно контактами реле KQT. При этом специальное реле ускорения не устанавливается, а в качестве реле KQT используется замедленное на возврат реле типа РП-252.
Схема, приведенная на рис. 8.3, обеспечивает ускорение защиты при любом включении выключателя, как от АПВ, так и от ключа управления, что является ее достоинством.
Ускорение защиты до АПВ
В сети, показанной на рис. 8.4, максимальная токовая защита МТ31, установленная на линии W1, по условию селективности должна иметь выдержку времени больше, чем максимальные токовые защиты МТ32 и МТЗЗ линий W2 и W3.

Рис. 8.4. Участок сети с односторонним питанием
Одним из способов, обеспечивающих быстрое отключение повреждений на линии W1 без применения сложных защит, является ускорение максимальной токовой защиты этой линии доАПВ. С этой целью защита МТ31 выполняется так, что при возникновении КЗ она на первый раз действует без выдержки времени независимо от того, на какой из линий произошло КЗ, а после АПВ действует с нормальной выдержкой времени.
В случае КЗ на линии W1 срабатывает защита МТ31 по цепи ускорения и без выдержки времени отключает эту линию. После АПВ, если повреждение устранилось, линия останется в работе, если же повреждение оказалось устойчивым, то линия вновь отключится, но уже с выдержкой времени.
При КЗ на линии W2 происходит неселективное отключение линии W1 защитой МТ31 по цепи ускорения без выдержки времени. Затем линия W1 действием схемы АПВ включается обратно. Если повреждение на линии W2 оказалось устойчивым, то эта линия отключается своей защитой МТ32, а линия W1 остается в работе, так как после АПВ защита МТ31 действует с нормальной селективной выдержкой времени.
Ускорение защиты до АПВ выполняется аналогично ускорению после АПВ. Пуск реле ускорения KL2 при осуществлении ускорения защиты до АПВ осуществляется при срабатывании выходного реле схемы АПВ (см. рис. 8.2, б). У реле KL2 при этом используется размыкающий контакт KL2.1. Цепь ускорения будет замкнута до АПВ и разомкнется при действии схемы АПВ на включение выключателя. Реле KL2 при этом будет удерживаться в положении после срабатывания до тех пор, пока не отключится КЗ и не разомкнутся контакты реле защиты.
Выполнение схем АПВ на переменном оперативном токе.
В рассмотренных выше схемах АПВ на постоянном оперативном токе энергия, необходимая для включения и отключения выключателей, работы реле, входящих в схему АПВ, поступает от аккумуляторной батареи. В схемах АПВ на переменном оперативном токе в качестве источников энергии используются трансформаторы напряжения и собственных нужд.
Наиболее просто выполняются устройства АПВ на выключателях, оборудованных грузовыми или пружинными приводами. В этих приводах энергия, необходимая для включения, запасается в предварительно натянутых пружинах или поднятом грузе. Подъем груза или натяжение пружин производятся вручную или с помощью специального автоматического электродвигателя редуктора (АДР), который состоит из электродвигателя типа МУН мощностью 80—100 Вт и редуктора. Наибольшее распространение получили грузовые приводы ПГМ-10, пружинные приводы ППМ-10, ПП-61, ПП-61-К, ВМП-10П и пружинно-грузовые приводы УПГП.
В пружинных и грузовых приводах имеются специальные механические устройства, выполняющие повторное включение выключателя без выдержки времени при отключении выключателя от реле прямого действия, встроенных в привод. При оперативном отключении выключателя (вручную или дистанционно через катушку отключения) механическое АПВ блокируется и выключатель остается отключенным.
В случае АПВ на устойчивое КЗ и отключения выключателя от защиты устройство АПВ второй раз не подействует, так как пружина (или груз) находится в незаведенном состоянии. Для подготовки устройства АПВ к новому действию необходимо вручную или от АДР завести пружину (или груз). Таким образом, механические устройства АПВ обладают однократностью действия. При необходимости механическое устройство АПВ может быть выведено из действия с помощью специального устройства.
Механические устройства АПВ недостаточно надежны и, как правило, не допускают регулирования времени действия. Поэтому наряду с механическими устройствами АПВ получили широкое распространение электрические схемы АПВ на переменном оперативном токе, воздействующие на включающие катушки грузовых или пружинных приводов мгновенно или с выдержкой времени.
5. АПВ сборных шин.
Для подстанций с односторонним питанием, отключение повреждений на шинах которых обеспечивается защитами, установленными на противоположных концах питающих линий или на трансформаторах, повторная подача напряжения на шины осуществляется за счет действия схем АПВ питающих элементов (линий или трансформаторов).
При наличии на шинах подстанции специальной защиты шин (обычно шин подстанций высокого напряжения в сетях с двусторонним питанием) повторное включение шин, так же как и в схемах с односторонним питанием, можно осуществить с помощью схем ЛПВ выключателей питающих присоединений. Cxемa АПВ при этом выполняется с пуском от несоответствия положения выключателя и ключа управления (реле фиксации). В этом случае при срабатывании защиты шин не должно осуществляться блокирование действия АПВ линии.
При наличии на подстанции не одной, а нескольких питающих линий целесообразно осуществлять АПВ нескольких или всех линий, отключившихся при срабатывании защиты шин. Это следует делать для большей автоматизации восстановления нормальной схемы подстанции и для обеспечения питания потребителей, когда одна питающая линия не может обеспечить всей нагрузки подстанции. С этой целью при срабатывании зашиты шин запускаются АПВ всех питающих линий. В случае успешного АПВ первой линии поочередно включаются выключатели других линий. Если первая линия включится на устойчивое КЗ, снова сработает зашита шин, при этом блокируется действие АПВ других линий и их выключатели не включаются, благодаря чему обеспечивается однократность АПВ шин.
2.1. Автоматическое включение резерва. Назначение и область применения АВР.

Рис. 8.5. Принципы осуществления АВР при разных схемах питания потребителей.
Высокую степень надежности электроснабжения потребителей обеспечивают схемы питания одновременно от двух и более источников (линий, трансформаторов), поскольку аварийное отключение одного из них не приводит к исчезновению напряжения на выводах электроприемников. Несмотря на эти очевидные преимущества многостороннего питания потребителей, большое количество подстанций, имеющих два и более источников питания, работают по схеме одностороннего питания. Одностороннее питание имеют также секции собственных нужд электростанций. Применение такой менее надежной, но более простой схемы электроснабжения во многих случаях оказывается целесообразным для снижения значений токов КЗ, уменьшения потерь электроэнергии в питающих трансформаторах, упрощения релейной защиты, создания необходимого режима по напряжению перетокам мощности и т. п. При развитии электрической сети одностороннее питание часто является единственно возможным, так как ранее установленное оборудована и релейная защита не позволяют осуществить параллельную работу источников питания. Используются две основные схемы одностороннего питания потребителей при наличии двух или более источников.
В первой схеме один источник, включен и питает потребителей, а второй отключен и находится в резерве. Соответственно этому первый источник называется рабочим, а второй—резервным (рис. 8.4, а, б). Во второй схеме все источники нормально включены, но работают раздельно на выделенных потребителей. Деление осуществляется на одном из выключателей (рис. 8.5,в, г).
Недостатком одностороннего питания является то, что аварийное отключение рабочего источника приводит к прекращению питания потребителей. Этот недостаток можно устранить быстрым автоматическим включением резервного источника или включением выключателя, на котором осуществлено деление сети. Для выполнения этой операции широко используются специальные устройства, получившие название устройств автоматического включения резерва (АВР).
Рассмотрим принципы использования АВР на примере схем, приведенных на рис. 8.5.
1. Питание подстанции А (рис. 8.5, а) осуществляется по рабочей линии W1 от подстанции Б. Вторая линия, приходящая с подстанции В, является резервной и находится под напряжением (выключатель Q3 линии W2 нормально отключен). При отключении линии W1 автоматически от устройства АВР включается выключатель Q3 и таким образом вновь подается питание потребителям подстанции А. Схемы АВР могут иметь одностороннее или двустороннее действие. При одностороннем АВР линия W1 всегда должна быть рабочей, а линия W2—всегда резервной. При двустороннем АВР любая из этих линий может быть рабочей и резервной.
2. Питание электродвигателей и других потребителей собственных нужд каждого агрегата электростанции осуществляется обычно от отдельных рабочих трансформаторов (Т1 и Т2 на рис. 8.5, б). При отключении рабочего трансформатора автоматически от схемы АВР включаются выключатель Q5 и один из выключателей — Q8 (при отключении Т1) или Q7 (при отключении Т2) —резервного трансформатора ТЗ.
3. Трансформаторы Т1 и Т2 включены на разные системы шин (рис. 8.5, б). Шиносоединительный выключатель Q5 нормально отключен. При аварийном отключении любого из рабочих трансформаторов автоматически от схемы АВР включается выключатель Q5, подключая нагрузку шин, потерявших питание, к оставшемуся в работе трансформатору. Если мощность одного трансформатора недостаточна для питания всей нагрузки подстанции, при действии АВР должны приниматься меры для отключения части наименее ответственных потребителей.
4. Подстанции В и Г (рис. 8.1, г) нормально питаются радиально от подстанций А и Б соответственно. Линия W3 находится под напряжением со стороны подстанции В, а выключатель Q5 нормально отключен. При аварийном отключении линии W2 устройство АВР, установленное на подстанции Г, включает выключатель Q5, в результате чего питание с подстанции Г переводится на подстанцию В по. линии W3. При отключении линии W1 подстанция В и вместе с ней линия W3 остаются без напряжения. Исчезновение напряжения на трансформаторе напряжения TV также приводит в действие устройство АВР на подстанции Г, которое включением выключателя Q5 подает напряжение на подстанцию В от подстанции Г.
Опыт эксплуатации показывает, что АВР является очень эффективным средством повышения надежности электроснабжения. Успешность АВР составляет 90— 95 %. Простота схем и высокая эффективность обусловили широкое применение АВР на электростанциях и в электрических сетях.
2.2. Требования к схемам АВР.
Все устройства АВР должны удовлетворять следующим основным требованиям.
1. Схема АВР должна приходить в действие при исчезновении напряжения на шинах потребителя по любой причине, в том числе при аварийном, ошибочном или самопроизвольном отключении выключателей рабочего источника питания, а также при исчезновении напряжения на шинах, от которых осуществляется питание рабочего источника. Включение резервного источника часто допускается также при КЗ на шинах потребителя.
2. Для того чтобы уменьшить длительность перерыва питания потребителей, включение резервного источника питания должно производиться сразу же после отключения рабочего источника.
3. Действие АВР должно быть однократным, чтобы не допускать нескольких включений резервного источника на неустранившееся КЗ.
4. Схема АВР не должна приходить в действие до отключения выключателя рабочего источника, чтобы избежать включения резервного источника на КЗ в неотключившемся рабочем источнике. Выполнение этого требования исключает также в отдельных случаях несинхронное включение двух источников питания.
5. Для того чтобы схема АВР действовала при исчезновении напряжения на шинах, питающих рабочий источник, когда его выключатель остается включенным, схема АВР должна дополняться специальным пусковым органом минимального напряжения,
6. Для ускорения отключения резервного источника при его включении на неустановившееся КЗ должно предусматриваться ускорение защиты резервного источника после АВР. Это особенно важно в тех случаях, когда потребители, потерявшие питание, подключаются к другому источнику, несущему нагрузку. Ускоренная защита обычно действует по цепи ускорения без выдержки времени. В установках же собственных нужд, а также на подстанциях, питающих большое число электродвигателей, ускорение защиты осуществляется до 0,5 с. Такое замедление ускоренной защиты необходимо, чтобы предотвратить ее неправильное срабатывание в случае кратковременного замыкания контактов токовых реле в момент включения выключателя под действием толчка тока, обусловленного сдвигом по фазе между напряжением энергосистемы и затухающей ЭДС тормозящихся электродвигателей, который может достигать 180°.
2.3. Схема АВР трансформаторатора СН.

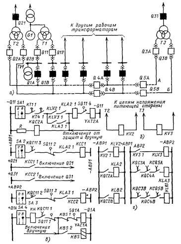
Рис 8 6 Схемы АВР трансформаторов собственных нужд блочных тепловых электростанций
а—поясняющая схема, б—цепи переменного напряжения для питающей стороны трансформаторов, в—цепи оперативного тока, г — цепи оперативного тока реле, контролирующих питание магистралей от резервных трансформаторов
На рис. 8. 6 приведена схема АВР трансформаторов собственных нужд блочных тепловых электростанций. Показанный в этой схеме рабочий трансформатор Т1 имеет расщепленные обмотки и подключен отпайкой к к генератору G1. Два резервных трансформатора Т2 и ТЗ присоединены к магистралям резервного питания 6 кВ А и Б. Выключатели высшего напряжения резервных трансформаторов Q.21 и 0.31 нормально отключены, а выключатели стороны низшего напряжения Q2A и Q2B, Q3A и Q3B включены. В рассматриваемой схеме имеется возможность замены рабочего трансформатора любого блока любым из двух резервных Т2 и ТЗ. В зависимости от того, какой из резервных трансформаторов используется, включаются выключатели Q4A, Q4B или Q5A, Q5B (секционные выключатели устанавливаются через два блока).
В случае аварийного отключения рабочего трансформатора Т1 вспомогательные контакты отключившихся выключателей SQ11.1 (SQI2.I} через контакт реле однократности включения KQ.C11. 1 (KQ.C12. 1) замыкают цепи включения выключателей Q1A и Q1B, а также обмоток промежуточных реле КСС1 (SQ1L2) или КСС2 (SQ11.8), включающих выключатели Q21 или Q3] резервных трансформаторов Т2 или ТЗ соответственно. Для выбора направления действия схемы АВР в схеме рис. 8. 6, г предусмотрены специальные промежуточные реле (KLA2, KLB2, KLA3, KLB3), контролирующие, от какого резервного трансформатора питаются вводы резервного питания к секции 6 кВ соответствующего блока (в рассматриваемом случае блока G1).
В схемах АВР выключателя Q1A, показанных на рис. 8.6, в , при использовании для резервирования Т2 замкнуты контакты KV2. 1 реле напряжения KV2, контролирующего наличие напряжения на питающей стороне трансформатора Т2, контакты реле положения “Включено” KQC2A, KQC2B выключателей Q2A и Q2B. Поэтому под напряжением находятся реле KLV2, KLA2, KLB2, и контакты их в схеме АВР (рис. 8.6, в) замкнуты. При использовании же для резервирования ТЗ под напряжением будут находиться реле KLV3, KLA3, KLB3 (рис. 8.6, в, г).
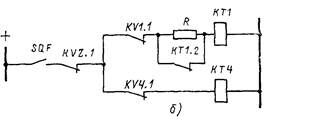
При исчезновении напряжения на шинах секции 6 кВ, когда выключатель рабочего трансформатора Q11 остается включенным, вступит в действие пусковой орган минимального напряжения АВР, схема которого приведена на рис. 8.7. Аналогично схеме пускового органа минимального напряжения, приведенной на рис. 8.5, для пуска схемы АВР в рассматриваемом случае необходимо срабатывание двух реле напряжения (KV1 и KV4 на рис. 8.7) и реле времени КТ1 и КТ4. В качестве реле KV4 и КТ4 используются соответствующие реле первой ступени защиты минимального напряжения, предназначенной для отключения неответственных электродвигателей в режиме самозапуска. На реле KV4 выполняется обычно уставка срабатывания 70 В, и оно срабатывает одновременно с реле KV1 при исчезновении напряжения на шинах, обеспечивая пуск АВР. Для исключения ложного срабатывания пускового органа АВР и защиты минимального напряжения электродвигателей при отключении автоматического выключателя SF, установленного во вторичных цепях трансформатора напряжения, плюс на контакты реле напряжения подается через его вспомогательный контакт SGF, замкнутый при включенном автоматическом выключателе.


Рис. 8.7. Схемы пускового органа АВР:
а—цепи переменного напряжения; б—цепи оперативного тока.
Предусмотренные в схеме на рис. 8.7 блокировки не исключают возможности ложного срабатывания пускового органа в случае перегорания предохранителя в средней фазе на стороне высшего напряжения ТVI, когда могут одновременно сработать оба реле напряжения KV1 и KV4. Для предотвращения в этом случае ложного срабатывания пускового органа схемы АВР плюс на его схему подается через размыкающий контакт фильтр-реле напряжения обратной последовательности KVZ (типа РНФ-1М), установленного в схеме защиты минимального напряжения электродвигателей, подключенных к данной секции шип собственных нужд.
В цепи отключения соответствующего выключателя рабочего трансформатора от пускового органа схемы АВР включены замыкающие контакты промежуточного реле KLV2 или KLV3 (см. рис. 8.7), замкнутые при наличии напряжения на резервном источнике питания. Промежуточные реле KLV2 (KLV3) приходят в действие от контактов максимального реле напряжения KV2.1 {KV3.1} и служат для размножения контактов последнего с целью использования их в цепях других рабочих трансформаторов.
Реле времени КТ1 и КТ4 замыкают цепь отключения выключателя Q.11 через замыкающие контакты реле KLV2. 1 (KLV3. 1) и KLA2. 1 (KLA3. 1) в зависимости от того, какой трансформатор — Т2 или ТЗ — используется для резервирования рабочего трансформатора Т1.
2.4. АВР секционного выключателя.
На рис. 8.8 приведена схема АВР на переменном оперативном токе для секционного выключателя подстанции с двумя трансформаторами, питающимися без выключателей на стороне высшего напряжения от двух линий. Секционный выключатель Q3 нормально отключен. Оперативный ток для питания схемы автоматики подается от трансформаторов собственных нужд ТЗ и Т4. Особенностью схемы является то, что при исчезновении напряжения на одной из линий (W1 или W2) устройство АВР включает секционный выключатель Q3, а при восстановлении напряжения на линии автоматически восстанавливает нормальную схему подстанции.



Рис. 8.8. Схемы АВР секционного выключателя на переменном оперативном токе для двухтрансформаторной подстанции, подключенной к линиям электропередачи без выключателей:
а—схема подстанции; б—цепи управления и АВР выключателя Q1; в—цепи управления и АВР выключателя Q3; пунктиром обведены цепи, относящиеся к трансформатору Т2.
Пусковым органом схемы автоматики являются реле времени КТ1 и КТ2 типа ЭВ-235, контакты которых КТ1. 2 и КТ2. 2 включены последовательно в цепи YATI. Последовательно с контактами этих реле включен мгновенный контакт реле времени КТЗ. 1 трансформатора Т2, которое контролирует наличие напряжения на этом трансформаторе. Обмотки реле КТ1 и КТ2 включены на разные трансформаторы (ТЗ и TV1), что исключает возможность ложного действия пускового органа в случае неисправности в цепях напряжения. Реле КТ1, подключенное к трансформатору собственных нужд ТЗ, установленному до выключателя трансформатора Т], используется также для контроля за появлением напряжения на Т1 при включении линии W1.
При исчезновении напряжения в результате отключения линии W1 запустятся реле времени КТ1 и КТ2 и разомкнут свои мгновенные контакты КТ1. 1 и КТ2. 1, снимая напряжение с обмотки реле времени КТЗ типа ЭВ-248. Это реле при снятии с его обмотки напряжения мгновенно возвращается в исходное положение, а при подаче напряжения срабатывает с установленной выдержкой времени.
Если действием схемы АПВ линии напряжение на подстанции восстановлено не будет, то с установленной выдержкой времени (большей времени АПВ линии) замкнутся контакты реле времени КТ1.2 и К.Т2.2 и создадут цепь на катушку отключения YAT1 выключателя Q1 трансформатора Т1. При отключении выключателя Q1 замкнется его вспомогательный контакт SQ1.1 (рис. 8.8, в) в цепи катушки включения YAC3 секционного выключателя Q3 через еще замкнутый контакт KQC1. 1 реле однократности включения.
Секционный выключатель включится и подаст напряжение на 1-ю секцию подстанции, при этом подтянется реле времени КТ2, замкнет контакт КТ2.1 и разомкнет К.Т2.2. Реле КТ1 останется без напряжения, поэтому его контакт КТ1. 1 останется разомкнутым, а реле времени КТЗ будет по-прежнему находиться в исходном положении, держа разомкнутыми все свои контакты.
При восстановлении напряжения на линии W1 напряжение появится и на трансформаторе Т1, поскольку его отделитель оставался включенным. Получив напряжение, реле КТ1 подтянется, замкнет контакт КТ1. 1 и разомкнет контакт КТ1.2. При замыкании контакта КТ1. 1 начнет работать реле времени КТЗ, которое своим проскальзывающим контактом КТЗ.2 создаст цепь на включение выключателя Q1, а конечным контактом КТЗ. 3 — цепь на отключение секционного выключателя Q3, при этом автоматически будет восстановлена исходная схема подстанции. Цепь на отключение в рассматриваемом случае секционного выключателя создается лишь при условии, что включен выключатель Q2 трансформатора Т2. Если включение выключателя Q3 будет неуспешным вследствие наличия устойчивого повреждения на 1-й секции, она должна быть выведена в ремонт. После окончания ремонта питание 1-й секции восстанавливается от Т1 или от 2-й секции и она автоматически вводится в работу. Схема автоматики, аналогичная приведенной на рис. 8.8, обеспечивает действие АВР Т2.
3.1. Автоматическая частотная разгрузка АЧР. Назначение, принцип выполнения. Категория АЧР.
Пока в энергосистеме имеется вращающийся резерв активной мощности, системы регулирования частоты и мощности будут поддерживать заданный уровень частоты. После того как вращающийся резерв будет исчерпан, дефицит активной мощности, вызванный отключением части генераторов или включением новых потребителей, повлечет за собой снижение частоты в энергосистеме.
Небольшое снижение частоты, на несколько десятых герца, не представляет опасности для нормальной работы энергосистемы, хотя, как уже отмечалось выше, и влечет за собой ухудшение экономических показателей. Снижение же частоты более чем на 1—2 Гц представляет серьезную опасность и может привести к полному расстройству работы энергосистемы.
Это в первую очередь определяется тем, что при понижении частоты снижается частота вращения электродвигателей, а следовательно, снижается и производительность приводимых ими механизмов собственного расхода тепловых электростанций. Вследствие снижения производительности механизмов собственного расхода резко уменьшается располагаемая мощность тепловых электростанций, особенно электростанций высокого давления, что влечет за собой дальнейшее снижение частоты в энергосистеме. Таким образом, происходит лавинообразный процесс—“лавина частоты”, который может привести к полному расстройству работы энергосистемы. Следует также отметить, что современные крупные паровые турбины не могут длительно работать при низкой частоте из-за опасности повреждения их рабочих лопаток.
Процесс снижения частоты в энергосистеме сопровождается также снижением напряжения, что происходит вследствие уменьшения частоты вращения возбудителей, расположенных на одном валу с основными генераторами. Если регуляторы возбуждения генераторов и синхронных компенсаторов не смогут удержать напряжение, то также может возникнуть лавинообразный процесс —“лавина напряжения”, так как снижение напряжения сопровождается увеличением потребления реактивной мощности, что еще более осложнит положение в энергосистеме.
Аварийное снижение частоты в энергосистеме, вызванное внезапным возникновением значительного дефицита активной мощности, протекает очень быстро — в течение нескольких секунд. Поэтому дежурный персонал не успевает принять каких-либо мер, вследствие чего ликвидация аварийного режима должна возлагаться на устройства автоматики. Для предотвращения развития аварии должны быть немедленно мобилизованы все резервы активной мощности, имеющиеся на электростанциях. Все вращающиеся агрегаты загружаются до предела с учетом допустимых кратковременных перегрузок.
При отсутствии вращающегося резерва единственно возможным способом восстановления частоты является отключение части наименее ответственных потребителей. Это и осуществляется с помощью специальных устройств — автоматической частотной разгрузки (АЧР), срабатывающих при опасном снижении частоты.
Следует отметить, что АЧР всегда связана с определенным народнохозяйственным ущербом, поскольку отключение линий, питающих электроэнергией промышленные предприятия, сельскохозяйственных потребителей и других потребителей, влечет за собой недовыработку продукции, появление брака и т. п. Несмотря на это, АЧР широко используется в энергосистеме как средство предотвращения значительно больших убытков из-за полного расстройства работы энергосистемы, если не будут приняты срочные меры по ликвидации дефицита активной мощности.
Глубина снижения частоты зависит не только от дефицита мощности в первый момент аварии, но и от характера нагрузки. Потребление мощности одной группой потребителей, к которой относятся электроосветительные приборы и другие установки, имеющие чисто активную нагрузку, не зависит от частоты и при ее снижении остается постоянным. Потребление же другой группы потребителей — электродвигателей переменного тока — при уменьшении частоты снижается. Чем больше в энергосистеме доля нагрузки первой группы, тем больше понизится частота при возникновении одинакового дефицита, активной мощности. Нагрузка потребителей второй группы будет в некоторой степени сглаживать эффект снижения частоты, поскольку одновременно будет уменьшаться потребление мощности электродвигателями.
Уменьшение мощности, потребляемой нагрузкой при снижении частоты, или, как говорят, регулирующий эффект нагрузки, характеризуется коэффициентом kнагр, равным отношению

Коэффициент регулирующего эффекта нагрузки показывает, на сколько процентов уменьшается потребление нагрузкой активной мощности на каждый процент снижения частоты. Значение коэффициента регулирующего эффекта нагрузки должно определяться специальными испытаниями и принимается при расчетах равным 1,5—2,5.
Устройства АЧР должны устанавливаться там, где возможно возникновение значительного дефицита активной мощности во всей энергосистеме или в отдельных ее районах, а мощность потребителей, отключаемых при срабатывании устройств АЧР, должна быть достаточной для предотвращения снижения частоты, угрожающего нарушением работы механизмов собственного расхода электростанций, что может повлечь за собой лавину частоты. Устройства АЧР должны выполняться с таким расчетом, чтобы была полностью исключена возможность даже кратковременного снижения частоты ниже 45 Гц, время работы с частотой ниже 47 Гц не превышало 20 с, а с частотой ниже 48,5 Гц— 60 с.
При выполнении АЧР необходимо учитывать все реально возможные случаи аварийных отключений генерирующей мощности и разделения энергосистемы или энергообъединения на части, в которых может возникнуть дефицит активной мощности. Чем больший дефицит мощности может возникнуть, тем на большую мощность должно быть отключено потребителей. Для того чтобы суммарная мощность нагрузки потребителей, отключаемых действием АЧР, хотя бы примерно соответствовала дефициту активной мощности, возникшему при данной аварии, АЧР, как правило, выполняется многоступенчатой, в несколько очередей, отличающихся уставками по частоте срабатывания.
На рис. 8.1 приведены кривые, характеризующие процесс изменения частоты в энергосистеме при внезапном возникновении дефицита активной мощности. Если в энергосистеме отсутствует АЧР, то снижение частоты, вызванное дефицитом активной мощности, будет продолжаться до такого установившегося значения, при котором за счет регулирующего эффекта нагрузки и действия регуляторов частоты вращения турбин вновь восстановится баланс генерируемой и потребляемой мощностей при новом, сниженном значении частоты (кривая 1).

Рис. 8.9. Изменение частоты при возникновении дефицита активной мощности: I - при отсутствии АЧР; II - при наличии АЧР.
Иначе будет протекать процесс изменения частоты при наличии АЧР (кривая 11). Пусть, например, АЧР состоит из трех очередей с уставками срабатывания 48; 47,5 и 47 Гц. Когда частота снизится до 48 Гц (точка 1), сработают устройства АЧР 1-й очереди и отключат часть потребителей: дефицит активной мощности уменьшится, благодаря чему уменьшится и скорость снижения частоты. При частоте 47,5 Гц (точка 2) сработают устройства АЧР 2-й очереди и, отключая дополнительно часть потребителей, еще больше уменьшат дефицит активной мощности и скорость снижения частоты. При частоте 47 Гц (точка 3) сработают устройства АЧР 3-й очереди и отключат потребителей на мощность, которая достаточна не только для прекращения частоты, но и для ее восстановления от номинального или близкого к номинальному значения.
Устройства АЧР, используемые для ликвидации аварийного дефицита мощности в энергосистемах, подразделяются на три основные категории.
Первая категория автоматической частотной разгрузки—АЧР1—быстродействующая (1 = 0,1—0,3 с) с уставками срабатывания от 48,5 Гц до 46,5 Гц. Назначение очередей АЧР1—не допустить глубокого снижения частоты в первое время развития аварии. Уставки срабатывания отдельных очередей АЧР1 отличаются одна от другой на 0,1 Гц. Мощность, подключаемая к АЧР1, примерно равномерно распределяется между очередями.
Вторая категория автоматической частотной разгрузки — A4PII — предназначена для восстановления частоты до нормального значения, если она длительно остается пониженной, или, как говорят, “зависает” на уровне около 48 Гц. Вторая категория A4PII работает после отключения части потребителей от АЧР1, когда снижение частоты прекращается и она устанавливается на уровне 47,5—48,5 Гц.
Верхний уровень уставок по частоте устройств A4PII принимается в пределах 48,8—48,6 Гц на 0,2 Гц выше верхнего уровня уставок по частоте АЧР1. При этом диапазон уставок A4PII по частоте должен быть 0,3 Гц с интервалом по очередям 0,1 Гц. Весь объем разгрузки A4PII разделяется на три-четыре части (например, 40, 30 и 30 % общего объема).
Уставки по времени устройств A4PII устанавливаются возрастающими от A4PII с максимальными уставками по частоте к A4PII с минимальными уставками. Наиболее ответственные потребители при этом следует подключать к A4PII с минимальными уставками по частоте (максимальными уставками по времени). Выдержки времени A4PII отличаются друг от друга на 3 с и принимаются равными 5—90 с. Большие выдержки времени A4PII принимаются для того, чтобы за это время были мобилизованы резервы активной мощности, имеющиеся в энергосистеме: загружены все работающие агрегаты, пущены и загружены резервные гидроагрегаты. При этом наибольшие выдержки времени 70—90 с следует принимать в условиях возможной мобилизации мощности ГЭС.
В дефицитных энергосистемах, получающих мощность от соседних энергосистем, применяется также быстродействующая специальная очередь АЧР с устав-кой срабатывания 49 Гц. Эта очередь предназначена для предотвращения снижения частоты в ЕЭС СССР до верхних уставок АЧР11 в случаях, когда не удается реализовать оперативные ограничения потребителей, а также для разгрузки межсистемных связей при возникновении дефицита мощности в энергообъединении. Потребители, отключенные действием спецочереди АЧР, должны быть включены в работу не позже чем через 2 ч после их отключения.
Кроме двух категорий автоматической частотной разгрузки — АЧР1 и AЧPII— в эксплуатации применяется также так называемая дополнительная разгрузка. Такие устройства АЧР применяются для осуществления местной разгрузки при возникновении большого дефицита активной мощности в районе энергосистемы или на отдельной подстанции, когда суммарной мощности потребителей, подключенных к очередям АЧР1 и AЧPII, оказывается недостаточно для ликвидации возможного дефицита активной мощности в этом районе.
Действие устройств АЧР должно сочетаться с другими видами противоаварийной автоматики. Так, например, для того чтобы АЧР было эффективным, нагрузка потребителей, отключенных при аварийном снижении частоты, не должна подхватываться устройствами АПВ и АВР. Поэтому АПВ линии, отключенной действием АЧР, должно блокироваться (не следует путать с АПВ после АЧР, т. е. с особым видом автоматики, принципы выполнения и схемы которой рассмотрены ниже). Линии и трансформаторы, обеспечивающие резервное питание в схемах АВР, должны отключаться теми же очередями АЧР, что и основные питающие линии и трансформаторы.
3.2. АПВ после АЧР.
Для ускорения восстановления питания потребителей, отключенных при срабатывании АЧР, применяется специальный вид автоматики—АПВ после АЧР (или ЧАПВ). Устройство ЧАПВ срабатывает после восстановления частоты в энергосистеме и дает импульс на включение отключенных потребителей.
Действие ЧАПВ должно осуществляться при частоте 49,5—50 Гц. Начальная уставка по времени ЧАПВ принимается равной 10—20 с, конечная—в зависимости от конкретных условий. Минимальный интервал по времени между смежными очередями ЧАПВ в пределах энергосистемы или отдельного узла—5 с. Мощности нагрузки по очередям ЧАПВ обычно распределяются равномерно. Очередность подключения потребителей к ЧАПВ—обратная очередности АЧР, т. е. к последним очередям АЧР подключаются первые очереди ЧАПВ.
Доля нагрузки, подключаемой к ЧАПВ, в каждом конкретном случае должна определяться с учетом местных условии (возможности повторного снижения частоты в отделившихся на изолированную работу районах, перегрузки линий электропередачи, замедления восстановления параллельной работы действием АПВ с улавливанием синхронизма и т. д.).
3.3. Схемы устройства АЧР и ЧАПВ.
На рис. 8.9,а приведена схема совмещенных АЧР1 и AЧPII. Действие АЧР осуществляется с помощью реле частоты KF1, промежуточного реле KL1 и выходного реле KL2. Устройство AЧPII выполняется с помощью реле частоты KF2 и реле времени КТ1. Сигнализация срабатывания АЧР1 и AЧPII выполняется с помощью указательных реле КН1 и КН2 соответственно. При выполнении АЧР только одного вида (АЧР1 или AЧPII) соответствующая часть реле исключается из схемы.
С целью экономии реле частоты во многих случаях для осуществления совмещенного АЧР используются специальные схемы, в которых предусматривается переключение уставки одного реле частоты. Одна из таких схем приведена на рис. 8.9,б. В схеме АЧР используется одно реле частоты KF типа РЧ-1, на измерительных элементах которого настроены уставки, соответствующие АЧР1 и AЧPII. В нормальном режиме до срабатывания KF замкнут контакт KL2.1 двухпозиционного реле типа РП8, чем обеспечивается готовность к действию обоих измерительных элементов реле, настроенных на уставки АЧР1 и AЧPII.
При снижении частоты до уставки AЧPII замкнется контакт KF.1 и реле KLI контактом KL1.1 подаст плюс на верхнюю обмотку реле KL2, которое, переключив свои контакты, выведет из действия измерительный элемент с уставкой AЧPII. Если частота понизится до уставки AЧPI, контакт KF.1 при этом не разомкнется или, разомкнувшись кратковременно, замкнется вновь, после чего с небольшим замедлением сработает промежуточное реле KL3 и контактом KL3.1 подаст импульс через указательное реле КН1 на выходное промежуточное реле KL5. На этом работа схемы закончится.


Рис. 8.9. Схемы АЧР1 и AЧPII:
а—с двумя реле частоты; б—с одним реле частоты с переключением уставки.
Если частота не снизится до уставки AЧPI, схема будет продолжать работать. Реле времени КТ1, сработав при замыкании контакта KL2.3, будет самоудерживаться через свой мгновенный замыкающий контакт КТ1.1. Спустя выдержку времени, установленную на проскальзывающем контакте КТ1.2, будет подан плюс на нижнюю обмотку реле KL2, и оно переключит свои контакты, вновь вводя в действие измерительный элемент с уставкой AЧPII. В течение всего времени, пока не замкнется проскальзывающий контакт КТ1.2, схема будет готова к действию на отключение без выдержки времени в случае снижения частоты до уставки АЧР1. После замыкания проскальзывающего контакта КТ1.2 и переключения контактов реле KL2 цепь отключения от АЧР1 будет выведена и в работе останется только AЧPII. После переключения KL2 сработают вновь KF (если частота в энергосистеме будет ниже уставки срабатывания AЧPII) и реле KL1 и запустится реле времени КТ2, которое, доработав, через указательное реле КН2 подаст плюс на выходное реле схемы KL5. Промежуточное реле KL4, обмотка которого включена параллельно обмотке КТ1, будет держать своим контактом KL4.1 разомкнутой цепь верхней обмотки реле KL2, предотвращая его повторное срабатывание.
Обратите внимание на лекцию "Контрольные вопросы".
Возврат схемы в исходное положение осуществляется после срабатывания выходного реле KL5, которое разомкнет контакт KL5.1 в цепи обмоток реле КТ1 и KL4. В случае если схема не подействует на отключение вследствие восстановления частоты в энергосистеме выше уетавки AЧPII и возврата реле KF, возврат схемы будет осуществлен шунтированием обмотки КТ1 по цепи: упорный контакт КТ1.3— размыкающий контакт KL1.3— размыкающий контакт KL2.4. Выдержка времени AЧPII в рассматриваемой схеме определяется суммой выдержек времени, установленных на КТ2 и на проскальзывающем контакте КТ1.2.

Рис. 8.10. Схема АЧР с ЧАПВ
На рис. 8.10 приведена схема одной очереди АЧР с ЧАПВ. В этой схеме используется одно реле частоты, уставка срабатывания которого автоматически переключается. При снижении частоты до уставки срабатывания соответствующей очереди АЧР сработает реле частоты KF и запустит реле времени КТ1. После того как замкнется контакт реле времени КТ1.1, сработают промежуточные реле KL1 и KL2 и отключат группу потребителей. Одновременно замыкающий контакт KL1.2 введет в работу измерительный элемент реле частоты типа Р4-1 с уставкой, соответствующей уставке ЧАПВ. Теперь после ввода в работу указанного измерительного элемента контакт реле частоты разомкнется лишь после того, как частота в энергосистеме восстановится до значения новой уставки, равной 49,5—50 Гц. Реле KL1 при срабатывании замыкает также своим контактом KL1.2 цепь обмотки промежуточного реле KL3, которые срабатывает и самоудерживается.
После восстановления частоты в энергосистеме реле KF и КТ1 разомкнут свои контакты. При этом реле KL1 возвратится и замкнет контакт KL1.3 в цепи обмотки реле времени КТ2. Поскольку контакт KL3.2 уже замкнут, реле КТ2 начинает работать и, спустя выдержку времени, установленную на проскальзывающем контакте КТ2.2, замкнет цепь обмотки промежуточного реле KL4. Последнее, сработав, самоудерживается через свой замыкающий контакт KL4.1 и подает импульсы на включение выключателей потребителей, отключавшихся действием АЧР. Возврат схемы осуществляется после замыкания упорного контакта реле времени КТ2.3, выдержка времени на котором отличается от выдержки времени на проскальзывающем контакте КТ2.2 примерно на 1 с. После замыкания упорного контакта KT2.S реле KL3 возвратится и разомкнет контактом KL3.2 цепь обмотки реле времени КТ2. Указательные реле КН1 и КН2, установленные в рассматриваемой схеме, предназначены для сигнализации срабатывания АЧР и ЧАПВ. С помощью накладки SX1 рассматриваемая автоматика может быть выведена из действия полностью, а с помощью накладки SX2 — только ЧАПВ.
.По схемам, приведенным на рис. 8.9,б и 8.10, может быть выполнена также схема совмещенного АЧР с ЧАПВ. При этом на реле частоты должны быть выполнены три уставки по частоте, соответствующие АЧР1, AЧPII и ЧАПВ. На линиях, оснащенных устройствами электрического АПВ, последние могут быть использованы для осуществления ЧАПВ, при этом пуск АПВ должен осуществляться после восстановления частоты, соответствующей уставке ЧАПВ.




















