Принципиальная схема контура рабочего тела
Лекция №10

Вид сбоку (рис. 24)
На рисунке представлены: 3 корпуса: БС, ПП, ИСП (контур р/т)
1.- жалюзийные устройства БС;
2.- ПТО ПП (трубки Фильда, внутри жидкий Na);
3.- ПТО ИСП (трубки Фильда, внутри жидкий Na).
Принципиальная схема контура рабочего тела:

ПГ – обратного типа, т.е. среда с большим давлением в корпусе, а с меньшим давлением в межтрубном пространстве. Р2>Р1.Давление Na мало.
Рекомендуемые материалы
Р2 »5¸10 бар, 
q Стремление применить трубки Фильда с контролем протекания Na,
q Организовать кипение воды в большом объёме, т.е. внутри корпуса испарения, следовательно, можно организовать продувку.
С ПГ на Na важно избежать отложение.
В целом ПГ получается дороже и ненадёжнее т.к.:
1)3и корпуса,
2) опускные, подъёмные трубки,
3) Fпто – сложная, т.к. трубка Фильда – 3х слойная.
Рассмотрим более подробно конструкцию трубки Фильда:
ъ
1 - наружный чехол трубы Фильда;
2 - внутренняя труба Фильда;
3 - внутренняя труба;
4 - проточки в которых циркулирует индикатор утечки;
5.-теплоизолятор.
(Р2>Р1)
![]() |
Протечки H2O в Na не допускаются.
ПГ «Энрико Ферми»

1 - внутренний корпус;
2 - змеевиковое ПТО (ЭКО, ИСП, ПП);
3 - уровень Na;
4 - газ (He или Ar);
5 - разрывная мембрана;
6 - кольцевые коллектора;
7 - дыхательные отверстия.
Мембрана «5» рассчитана на определённое давление разрыва.
Протечки допускаются.
1) Na – He р/а (2х контурная ЯППУ);
2) Предохраняющее устройство на случай контакта Na c H2O;
3) ПТО – однослойная, из обычных труб в форме змеевиков;
4) Среда с меньшим давлением (Р1) в корпусе, с высоким (Р2) в трубах;
5) ПГ прямоточный (ПЦ).
2Na+H2O=2NaOH+(H2)+Q
Na – имеет высокую теплопроводность, огромный
, из-за этого температура стенки ПТО близка к температуре теплоносителя. Малейшие колебания температуры теплоносителя влияют на температуру ПТО, из-за этого возникают большие температурные напряжения.
Для всех участков одна общая поверхность.
![]() |
Границы ЭКО, ИСП, ПП, зависят от Дпг
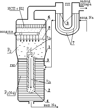
БН-350 Рис. 26 АЭС Шевченко
АТЭЦ - Nэл
- Qт
- опреснение воды
(3х контурная схема) Na – нерадиоактивный ПГ= ИСП + ЕЦ + ПП

1 - толстый корпус (Р2);
2 - тонкий корпус (Na);
3 - трубная доска;
4 - парогенирирующий элемент - трубка Фильда – контур ЕЦ (~1000штук)
5 - уровень зеркала испарения;
6 - кольцевой коллектор раздачи;
7 - U образные трубки.
По сравнению с Рис.24 роль БС выполняет толстый корпус 1, т.к. ПГ вертикальный, то высота парового пространства большая. Имеется хорошая гравитационная сепарация.
Хорошая надёжность ПГ, т.к. трубка Фильда работает при t2s
Плохая трубная доска;
На дне трубки откладывается шлам, забивается трубка Фильда;
В лекции "Видовой стереотип поведения и лабильные поведенческие реакции" также много полезной информации.
ЧССР БН-350 стр.17 – ст.27
Металлоёмкость.
Реактор БН – 600 с тремя турбинами К-200-130
Р0=130 бар t0/tпп= 505/5050С; Секционный – модульный ПГ (прямоточный ПГ)

смотри рис.28.
Секция = 3 модуля. В 1ом ПГ 8мь секций по 3и модуля. Всего 6 ПГ по 2а на 1у турбину
























