Цап и ацп
Цап и ацп
ЦАП
Цифро-аналоговый преобразователь обеспечивает преобразование входной информации в цифровой форме в выходную информацию в аналоговой форме.
Выходное напряжение ЦАП пропорционально входному числу N:
, где
- число двоичных разрядов,
=1.0.



;
;
- опорное напряжение.
Т.о., принцип цифро-аналогового преобразования состоит в суммировании эталонных напряжений умноженных на веса, т.е.
при условии, что соответствующий коэфф.
.
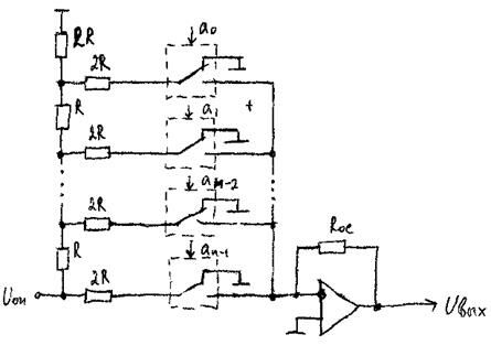
Обычно входной код N сначала преобразуют в ток, а затем в напряжение. Для преобразования кода в ток используются резистивные матрицы, а для преобразования тока в напряжения – операционный усилитель.
Различают следующие резистивные матрицы:
1) матрица с двоично-взвешенными резисторами
Рекомендуемые материалы
2) матрицы R-2R
Матрицы с двоично-взвешенными (по номиналу) резисторами:

С увеличением номера разряда сопротивление R уменьшается в 2 раза. Соответственно, с уменьшением номера - R увеличивается в 2 раза.
При замыкании ключа на ОУ, включенного по схеме инвертирующего сумматора, поступает соответствующий ток.
Недостатки:
- широкий диапазон сопротивлений;
- высокая требуемая точность сопротивлений.
Матрица R-2R:

Основные параметры ЦАП:
Рекомендация для Вас - 23 Государственное управление в социально-культурной сфере.
- число разрядов n;
- разрешающая способность, характеризует способность ЦАП различать смежные коды (отличаются младшим разрядом);
- абсолютная погрешность преобразования
-отклонение выходного напряжения от расчетного в конечной точке характеристики преобразования. Причины: смещение нуля, изменение коэффициента передачи код-напряжения;
- нелинейность
- максимальное отклонение реальной характеристики преобразования от прямой теоретической линии, соединяющей точку нуля и максимального выходного сигнала;
- время установления
- интервал времени от подачи входного кода до момента, когда выходной сигнал достигнет установившегося значения;
- уровни входного кода и т.д.






















