Определение производительности и напора водопроводных насосных станций первого подъема
Определение производительности и напора водопроводных насосных станций первого подъема.
При определении производительности насосов первого подъема возможны два основных случая:
1. Насосная станция подает воду на очистные сооружения для хозяйственно-питьевых или производственных нужд;
2. Насосная станция подает воду в резервуары чистой воды без очистки либо без очистки непосредственно потребителю.
При работе насосной станции по первому варианту расчетную часовую производительность определяют по формуле:

, (1)
где Qсут. мак. – максимальный суточный расход, м3/сут;
- коэффициент, учитывающий расход воды на собственные нужды станции, принимается равным 1,04…1,11 в зависимости от качества воды в источнике водоснабжения, конструкции фильтров, принятой интенсивности промывки и схемы повторного использования промывной воды;
Т – продолжительность работы насосной станции, принимаемая обычно 24 часа.
Рекомендуемые материалы
Если насосная станция первого подъема работает по второму варианту, то ее расчетную часовую производительность определяют по аналогичной формуле, но с коэффициентом
, учитывающий расход воды на собственные нужды, принимаемый равным 1,01…1,02.
С целью сокращения размеров сооружений и стабилизации процесса очистки, режим работы насосной станции обычно назначается равномерной в течение суток. Если же водопотребление в течение суток неравномерно, подача насосной станции должна назначаться по максимальному часовому расходу потребителя (при отсутствии регулирующей емкости) и по среднечасовому расходу потребления (при наличии регулирующей емкости).
Окончательный выбор режима работы, а, следовательно, и подача насосной станции первого подъема определяется на основании технико-экономического обоснования с учетом технологического процесса очистки воды.
При определении подачи насосной станции первого подъема системы объединенного хозяйственно-питьевого и противопожарного водопровода необходимо обеспечить возможность форсированной подачи воды в часы пополнения противопожарного запаса.
Восстановление противопожарного запаса может производиться:
· рабочими насосами, если эти насосы задействованы не круглые сутки, т.е. во время перерывов в их работе;
· рабочими насосами за счет возможного сокращения водопотребления;
· резервными насосами; противопожарными насосами.
В случае если на насосной станции первого подъема установлены противопожарные насосы, то их подача определяется по формуле (2):

,
(2)
где 3Qп – полный пожарный расход за три часа (расчетная продолжительность тушения пожара в населенном пункте или на предприятии);
- суммарный расход воды в течение 3 часов наибольшего водопотребления (по графику водопотребления);
Q – средняя часовая подача нормально работающих насосов станции первого подъема;
Т – продолжительность пополнения пожарного запаса (принимается 24…74 часа в соответствие с требованиями СНиП 2.04.02-84).
Расчетный напор насосов станции первого подъема в каждом конкретном случае определяется по вертикальной планировке с учетом потерь напора во всасывающей и напорной линиях

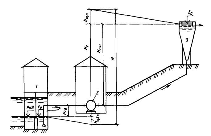
Рис 4. Высотная схема подачи воды на очистные сооружения
1 – водоприемный береговой колодец;
2 – насос;
3 – смеситель на очистных сооружениях;
РУВ – расчетный уровень воды.
Как видно на рис. 4 напор насосов, м, можно определить:
Н = НГ + hω,вс + hω,н + h2 + h3 + 1, м, (3)
где НГ – статический напор (геометрическая высота подъема воды), т.е. разница отметок уровней воды в смесителе очистных сооружений Zс и у всасывающих водоводов в водоприемном сеточном колодце Zр;
hω,вс - потери напора во всасывающем трубопроводе, м;
Обратите внимание на лекцию "26 Философские взгляды Ф. Бэкона".
hω,н – гидравлические потери в напорном трубопроводе, м;
h2 – потери напора в насосной станции, м ;
h3 – потери напора в водомере, м;
1 – запас напора, м.
Статический напор определяют при минимальном расчетном уровне воды в водоисточнике. Уровень воды в приемной камере водоприемного сеточного колодца устанавливается ниже уровня воды в водоеме на сумму гидравлических потерь на решетке, в самотечных водоводах и на сетке.
Для предварительных расчетов высоту расположения смесителя можно принять 4-6 м над поверхностью земли, при окончательных расчетах эту высоту устанавливают в соответствии с проектом очистной станции.





















