Контрольно-измерительная аппаратура
Контрольно-измерительная аппаратура.
Контроль работы основного и вспомогательного оборудования насосных станций осуществляют с помощью различных приборов и контрольно-измерительных устройств. Приборы и устройства условно разделяют на две группы:
- приборы технологического контроля
- приборы для измерения электрических величин.
На насосных станциях следует предусматривать измерения: давления в напорных водоводах и у каждого насосного агрегата, расходов и объемов подаваемой воды, уровней воды в резервуарах, в дренажных приямках, в приемных резервуарах, аварийного уровня затопления и др.
Для измерения давления и вакуума применяют пружинные манометры, мановакууметры и вакууметры. Общая схема устройства электрического манометра представлена на рис. 25.

Рис. 25. Электрический манометр
Рекомендуемые материалы
1,3 – левый и правый подвижные контакты;
2 – стрелка-неподвижный контакт;
4 – устройство регулирования или сигнализации.
На автоматизированных насосных станциях применяют пружинные электроконтактные манометры, выдающие сигнал при достижении заданного давления (или вакуума). Наиболее совершенными можно считать датчики серии “Сапфир”.
Наиболее сложным видом технологического контроля является измерение подачи насосной станции. На насосных станциях применяют, как правило, турбинные водосчетчики (рис. 26) либо расходомеры переменного перепада давления. В качестве сужающих устройств таких водомеров используются диафрагмы (рис. 27), сопла Вентури (рис. 28) и нормальные сопла (рис. 29).

Рис. 26. Скоростные турбинные водомеры типа ВВ общий вид
1 – корпус;
2 – вертушка;
3 – передача;
4 – счетный механизм.

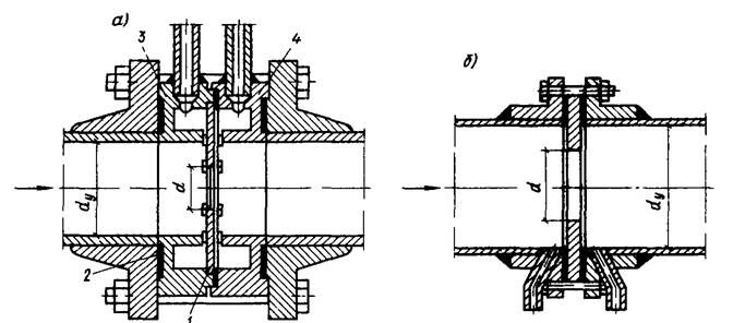
Рис. 27. Диафрагмы нормальные, смонтированные в трубопроводах
а – камерные;
б – дисковые;
1 – диафрагма, 2 - прокладка; 3 – камера «+»; 4 – камера «-».

Рис. 28. Сопла Вентури для установки в трубопроводах
а - диаметром до 500 мм;
б – диаметром свыше 500 мм.

Рис. 29. Нормальное сопло.
Сужающее устройство вызывает местный перепад давления, величина которого зависит от средней скорости, а следовательно, и от расхода. Перепад измеряется дифференциальным манометром.
Потери напора в водомерах определяются по формулам (24-26):
для диафрагм hвдм=
; (24)
для сопел hвдм=
; (25)
для труб Вентури hвдм=0,14
; (26)
где v - скорость в трубе на подходе к водомеру, м/с;
m - коэффициент относительного сужения потока, определяется по формуле (27):

(27)
где d и D диаметры сужающего устройства и подводящего трубопровода.
Значения m выбирают из стандартных: для диафрагм - 0,1; 0,2; 0,3; 0,4 и 0,5; для труб и сопел Вентури - 0,2 и 0,4.
Расходомеры следует устанавливать за прямолинейным участком трубопровода. Длина прямолинейного подводящего участка принимается (20...40)D и отводящего - 5D.
Измерение расхода в трубах большого диаметра (Dу³400 мм) может производиться с помощью ультразвукового расходомера. Для измерения расхода сточных вод с большим содержанием крупных взвесей, а также расходов илов, осадков и пульп рекомендуют электромагнитные расходомеры (ЭМР). Принцип действия таких расходомеров основан на измерении тока, возникающего при движении жидкости в магнитном поле.
Для измерения расхода сточных вод применяем ультразвуковой расходомер ДНЕПР-7 с накладным монтажом датчиков (рис 30.). При применении этого расходомера измерения объемного расхода не требуют нарушения целостности трубопровода, расходомер не вносит дополнительного гидравлического сопротивления, т.е. потери в расходомере равны нолю. Его характеристики приведены в таблице 3.

Рис. 30. Общий вид датчиков расхода воды Днепр – 7.
Таблица 3
| Модификация прибора | Стационарный вариант |
| Наименование прибора | |
| Способ представления информации | Эллектронный счетчик-интегратор с таймером времени наработки, индикатор мгновенного значения объемного расхода. Аналоговый выход (0-5мА), импульсный выход (10,25, 50,100,1000,10000 л/имп), частотный выход (открытый коллектор), PS232, RS485 |
| Контролируемая среда | Вода: артезианская. чистая питьевая, сточная горячая, сиаманская, речная, с примесями., аэрированная и т.д. Жидкости: кислоты, ацетоны, щелочи, растворы коагулянтов, спирты,и их растворы и т.д. Насыщенный водяной пар при температуре от 100 до 2000С. При индивидуальной градуировке возможна работа на мазуте и воздухе, попутном нефтяном газе. |
| Пределы измерения, м3/ч | 0,1-43429,4 |
| Диаметры трубопроводов, мм | от 20 до 1600 |
| Мин.длина прямого участка, Ду | 10-15 Ду. Может быть сокращена при контролируемом симметричном потоке. |
| Тип трубопровода | Заполненный, незаполненный, самотечный- используеться прямое измерение расходов в самотечьных коллекторах по двум параметрам |
| Погрешность измерения | 2% в точке, в диапазоне расходов от 3 до 100%, во всем температурном диапазоне |
| Потеря давления, мПа | 0 |
| Тип монтажа датчиков | Накладной |
| Питание | ~220В, с частотой 50Гц |
| Исполнение | IP-54 |
| Габаритные размеры, мм | 150*150*110 |
| Вес полного комплекта, кг | 4,2 |
| Срок службы, лет | 8 |
| Срок и метод поверки | В лекции "Экзистенциальная психотерапия" также много полезной информации. 2 года, имитационная, включающая весь контур измерения. |
Расходомер ЭХО-Р-02 предназначен для измерения объема (количества) протекающей жидкости, в том числе сточных вод, в открытых каналах шириной до 4-х и в безнапорных трубопроводах диаметром 100 мм и более с целью учета в канализационных сетях, на очистных сооружениях, промышленных предприятиях. Принцип действия расходомера ЭХО-Р-02 заключается в бесконтактном измерении уровня жидкости, протекающей в водоводе, пересчете его в мгновенное значение расхода и последующем интегрировании. Потери напора в ультрозвуковом расходомере равны нулю.
Водоизмерительное устройство устанавливается за пределами насосной станции в специальной камере.


Рис. 31. Общий вид ультрозвукового расходомера ЭХО – Р – 02.






















