Структурная организация микроконтроллера i8051
4. Структурная организация микроконтроллера i8051. Общие характеристики. Арифметико-логическое устройство. Назначение выводов. Организация портов ввода вывода. Альтернативные функции.
Структурная организация микроконтроллера i8051.
Общие характеристики.
Микроконтроллер семейства 8051 имеют следующие аппаратные особенности:
· внутреннее ОЗУ объемом 128 байт;
· четыре двунаправленных побитно настраиваемых восьмиразрядных порта ввода-вывода;
· два 16-разрядных таймера-счетчика;
· встроенный тактовый генератор;
· адресация 64 КБайт памяти программ и 64 Кбайт памяти данных;
Рекомендуемые материалы
· две линии запросов на прерывание от внешних устройств;
· интерфейс для последовательного обмена информацией с другими микроконтроллерами или персональными компьютерами.
Микроконтроллер 8751 снабжен УФ ПЗУ объемом 4 Кбайт.
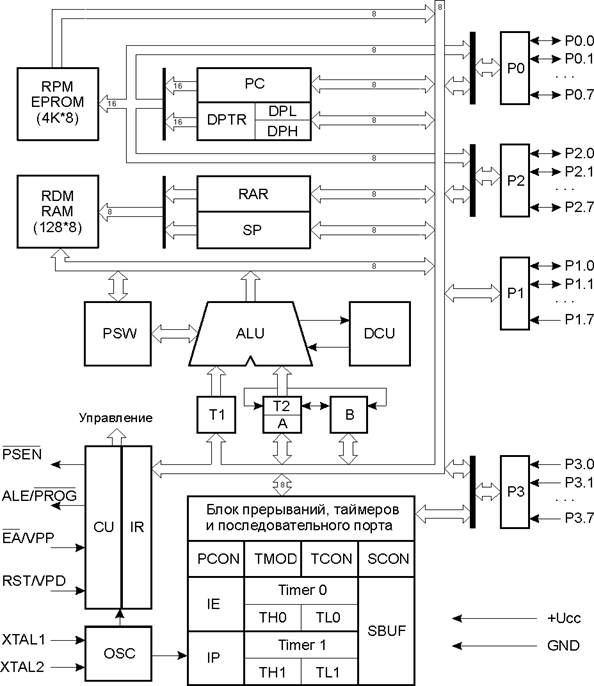
Функциональная схема микроконтроллера семейства 8051.
Микроконтроллер выполнен на основе высокоуровневой n-МОП технологии. Через четыре программируемых параллельных порта ввода/вывода и один последовательный порт микроконтроллер взаимодействует с внешними устройствами. Основу структурной схемы образует внутренняя двунаправленная8-битная шина, которая связывает между собой основные узлы и устройства микроконтроллера: резидентную память программ (RPM), резидентную память данных (RDM), арифметико-логическое устройство (ALU), блок регистров специальных функций, устройство управления (CU) и порты ввода/вывода (P0-P3).

Арифметико-логическое устройство
8-битное арифметико-логическое устройство (ALU) может выполнять арифметические операции сложения, вычитания, умножения и деления; логические операции И, ИЛИ, исключающее ИЛИ, а также операции циклического сдвига, сброса, инвертирования и т.п. К входам подключены программно-недоступные регистры T1 и T2, предназначенные для временного хранения операндов, схема десятичной коррекции (DCU) и схема формирования признаков результата операции (PSW).
Простейшая операция сложения используется в ALU для инкрементирования содержимого регистров, продвижения регистра-указателя данных (RAR) и автоматического вычисления следующего адреса резидентной памяти программ. Простейшая операция вычитания используется в ALU для декрементирования регистров и сравнения переменных. Простейшие операции автоматически образуют “тандемы” для выполнения таких операций, как, например, инкрементирование 16-битных регистровых пар. В ALU реализуется механизм каскадного выполнения простейших операций для реализации сложных команд. Так, например, при выполнении одной из команд условной передачи управления по результату сравнения в ALU трижды инкрементируется счётчик команд (PC), дважды производится чтение из RDM, выполняется арифметическое сравнение двух переменных, формируется 16-битный адрес перехода и принимается решение о том, делать или не делать переход по программе. Все перечисленные операции выполняются всего лишь за 2 мкс.
Важной особенностью ALU является его способность оперировать не только байтами, но и битами. Отдельные программно-доступные биты могут быть установлены, сброшены, инвертированы, переданы, проверены и использованы в логических операциях. Эта способность достаточно важна, поскольку для управления объектами часто применяются алгоритмы, содержащие операции над входными и выходными булевыми переменными, реализация которых средствами обычных микропроцессоров сопряжена с определенными трудностями.
Таким образом, ALU может оперировать четырьмя типами информационных объектов: булевыми (1 бит), цифровыми (4 бита), байтными (8 бит) и адресными (16 бит). В ALU выполняется 51 различная операция пересылки или преобразования этих данных. Так как используется 11 режимов адресации (7 для данных и 4 для адресов), то путем комбинирования операции и режима адресации базовое число команд 111 расширяется до 255 из 256 возможных при однобайтном коде операции.
Назначение выводов микроконтроллера 8051.

Обозначения на этом рисунке:
· Uss — потенциал общего провода ("земли");
· Ucc — основное напряжение питания +5 В;
· X1,X2 — выводы для подключения кварцевого резонатора;
· RST — вход общего сброса микроконтроллера;
· PSEN — разрешение внешней памяти программ; выдается только при обращении к внешнему ПЗУ;
· ALE — строб адреса внешней памяти;
· ЕА — отключение внутренней программной память; уровень 0 на этом входе заставляет микроконтроллер выполнять программу только внешнее ПЗУ; игнорируя внутреннее(если последнее имеется);
· P1 — восьми битный квази двунаправленный порт ввода/вывода: каждый разряд порта может быть запрограммирован как на ввод, так и на вывод информации, независимо от состояния других разрядов;
· P2 — восьми битный квази двунаправленный порт, аналогичный Р1; кроме того, выводы этого порта используются для выдачи адресной информации при обращении к внешней памяти программ или данных (если используется 16-битовая адресация последней). Выводы порта используются при программировании 8751 для ввода в микроконтроллер старших разрядов адреса:
· РЗ — восьми битный квази двунаправленный порт, аналогичный. Р1; кроме того, выводы этого порта могут выполнять ряд альтернативных функций, которые используются при работе таймеров, порта последовательного ввода-вывода, контроллера прерываний, и внешней памяти программ и данных;
· P0 — восьми битный двунаправленный порт ввода-вывода информации: при работе с внешними ОЗУ и ПЗУ по линиям порта в режиме временного мультиплексирования выдается адрес внешней памяти, после чего осуществляется передача или прием данных
Организация портов ввода вывода микроконтроллера 8051.
Общие сведения.
Количество портов - 4. Название - P0...P3, они адресуются как регистры специальных функций.
Разрядность - 8 с возможностью побитной адресации разрядов.
Направление обмена информацией через порты - все порты двунаправленные, причем имеется возможность в каждом порту часть разрядов использовать для ввода данных, а часть для вывода.
Альтернативные функции.
Из-за ограниченного количества выводов корпуса ИМС микроконтроллера, большинство выводов используется для выполнения двух функций - в качестве линий портов и для альтернативных функций
Порты P0 и Р2используются при обращении к внешней памяти. При этом на выходах P0 младший байт адреса внешней памяти мультиплексируется с вводимым/выводимым байтом. Выходы Р2 содержат старший байт адреса внешней памяти, если адрес 16-разрядный. При использовании восьмиразрядного адреса портом Р2 можно пользоваться для ввода-выввода информации обычным образом. При обращении к внешней памяти в P0 автоматически заносятся 1 во все биты. Информация в Р2 при этом остается неизменной.
Порт P3 помимо обычного ввода и вывода информации используется для формирования и приема специальных управляющих и информационных сигналов. Разряды порта (все или частично) при этом могут выполнять следующие альтернативные функции:
Альтернативные функции могут быть активированы только в том случае, если в соответствующие биты порта P3 предварительно занесены 1. Неиспользуемые альтернативным образом разряды могут работать как обычно.
| Вывод порта | Альтернативная функция |
| РЗ.0 | RXD - вход последовательного порта |
| Р3.1 | TXD - выход последовательного порта |
| РЗ.2 | INT0 - внешнее прерывание 0 |
| Р3.3 | INT1 - внешнее прерывание 1 |
| РЗ.4 | Т0 - вход таймера-счетчика 0 |
| Лекция "4 Лабораторная работа" также может быть Вам полезна. РЗ.5 | Т1 - вход таймера-счетчика 1 |
| РЗ.6 | WR - строб записи во внешнюю память данных |
| РЗ.7 | RD - строб чтения из внешней памяти данных |




















