Плавка во взвешенном состоянии
Лекция 7. Плавка во взвешенном состоянии.
Вопрос. 1. Физико-химические особенности процесса.
Это наиболее распространенный процесс. Впервые он был внедрен на заводе Харьявалта (Финляндия), разработка фирмы Outokumpu.

Этот процесс является доминирующим, насчитывается порядка 54 различных печей для взвешенной плавки.
Сейчас в мире печей взвешенной плавки порядки 54 штук. Этот процесс отличается низким пылевыносом.
Особенность физико-химии технологии состоит в том, что частицы движутся вместе с потоком, так как частицы находятся во взвешенном состоянии и условия для окисления минимальны. Магнетита в шлаке мало. Поэтому по сравнению с квп шлаки бедные. Надо рассчитать высоту шахты так, чтобы пыль пребывала в печи 1,5 минуты.
Главный управляемый параметр – МО2/Мшихты
Масса кислорода отнесенная к массе шихты. Процессы штейна и шлакообразования.
Так же, первичной фазой являются оксисульфиды, и окончательное формирование фаз – на дно ванны падают капли – и шлак окончательного состава формируется в объеме ванны.
Рекомендуемые материалы
В этом случае объем ванны называется отстойной зоной и напоминает отражательную печь.
Печь взвешенной плавки работает в Норильске на НМЗ.
Перспективы данного процесса связывают с плавкой на черновую медь.
CuFeS2 + O2 + SiO2 à [Cu] + (2FeO.SiO2)
Проблемность вопроса в том, что шлаки получаются богатыми, так как они находятся в равновесии с металлом. Однако данный процесс все равно выгодно реализовать в 1 аппарате, т.к. отпадает необходимость в конвертерном переделе. В печи взвешенной плавки рационально организовывать струйное рафинирование штейна. Для этого штейн измельчают до крупности 0,5-1мм. Это из-за того , что окислительные процессы протекают в реакционной шахте, и зона удалена от стен шахты, поэтому компания агрегата высокая, при сохранении производительности, характерной для обычного конвертирования.
Такая организация технологии, а именно, удаление зоны максимальных температур от кладки, позволяет работать на ферритово-кальциевом шлаке (система Cu2O.Fe2O3.CuO).. Это хорошо, так как феритокальциевые шлаки обладают рафинирующими свойствами. Они характеризуются высокой растворимостью магнетита, и обеспечивают низкое содержание меди. Они сравнительно легкоплавкие.
CaO интенсивно взаимодействует с огнеупорами, поэтому использование таких шлаков в конвертерах нецелесообразно.
При КВС ~30% О2, или на воздушном дутье, можно достичь полной автогенности.
Вопрос 2. Практика процесса.
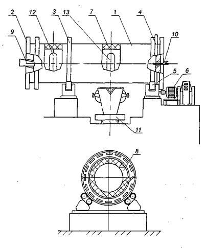
На рис. 2. показана принципиальная схема переработки сульфидных медных концентратов способом взвешенной плавки . Смесь различных концентратов и флюса (кварцевый песок) складируют в бункерах, далее с помощью коллекторных транспортеров влажную шихту подают в сушку, до конечной влажности < 3%. С этой целью используют барабанную печь с
Рис.2. Схема технологии с применением ПВП
прямоточной сушкой шихты продуктами сгорания топлива. Из сушильного отделения шихту пневмотранспортом направляют в питающий бункер и далее вместе с возвратной пылью подают в печь. Основные показатели работы комплекса ПВП некоторых з-дов следующие:
|
|
| Основные показатели работы некоторых зарубежных предпри- | |||||
| ятий, использующих технологию взвешенной плавки | ] | ||||
| "Харья- | "Тойо" | "Сан- | "Норддойче | "Диас- | |
| Предприятия | валта" | (Япония) | Мануэль" | Аффинери" | Давила" |
| (Финляндия) | (США) | (Германия) | (Бразилия) | ||
| Производительность, | |||||
| т/сут. | 10 000 | 1050-1350 | 1900 | 1600 | 1700 |
| Удельная производи- | |||||
| тельность, т/(м2-сут.) | 11 | 8.6 | - | - | - |
| 02 в дутье, % об. | 35 | 40-50 | 60-80 | <45 | 40-60 |
| Крупность шихты, мм | 0.3 | 0.5 | - | - | - |
| Влажность шихты, % | 0.3 | 0.3 | - | - | _ |
| Содержание Си, | |||||
| %, по массе: | |||||
| концентрат | 24 | 30.6 | 30 | 30-34 | 30 |
| штейн | 64 | 57 | 62 | 63 | 62 |
| шлак | 2 | 1-1.3 | 2.75 | 1-2 | 1.2 |
| обедненный шлак | 0.3 | 0.53 | - | 0.7 | - |
| 8О2В газах, % об. | 33 | 25 | 35 | 16-22 | 26 |
| Пылевынос, % | 9 | 9 | _ | - | - |
| Кампания, сут. | 330 | 360 | - | - | - |
Конструкция печи показана на рис. 1.
С помощью специальной горелки совместно с шихтовыми материалами вводят подогретое технологическое дутье: воздух или кислородно-воздушную смесь (КВС), в количестве, необходимом для замыкания теплового баланса процесса. Мелкодисперсные частицы концентрата поступающие в плавильную шахту печи, воспламеняются и окисляются (сгорают) в потоке окислителя. Количество тепла, выделяемого при взаиамодействии компонентов шихты с кислородом дутья, достаточно для плавления частиц, и капли попадают в нижнюю часть реакционной шахты.
В результате физико-химических процессов, протекающих в шахте и отстойнике образуются штейн (40-60 % Cu), шлак (1-2 % Сu) и газы ( 10-70 % SO2). Последние, нагретые до температуры 1300-1400оС поступают через аптейк в котел-утилизатор, где вырабатывается насыщенный пар (Р=4-7 МПа), используемый для подогрева дутья и нужд производства (отопление, выработка электричества, производство кислорода).
В радиационной части котла газы охлаждаются до температуры ~650оС, а в конвективной, с помощью экранных труб, температуру снижают до ~ 350-400оС (там же улавливается 40-50% пыли.). Из котла-утилизатора газы поступают в электрофильтры, в которых происходит окончательная их очистка. Уловленную пыль пневмотранспортом подают в специальный бункер, и далее в смеси с концентратом, загружают в печь. Газы направляют на производство серной кислоты.
Медный штейн периодически выпускают из печи и направляют на конвертирование. Шлак поступает на обеднение в электропечь, куда загружают кокс. Вторичный штейн после обеднения перерабатывают в конвертере. На стадию обеднения отправляют также шлак взвешенной плавки и конвертерный шлак. Обедненный шлак гранулируют. Одним из вариантов обеднения конвертерного и плавильного шлаков является флотация. Полученный флотационный концентрат шихтуется вместе с исходным концентратом и после сушки отправляется в агрегат ВП.
При плавке медных концентратов, содержащих 13.6-30.7 % Cu, 22-38 %Fe, 26.6-37 % S и 4.4-14.7 % SiO2 получают штейны с 45-65 % Cu, и шлак ( 0.5-2.0 %Cu, 25-40 % SiO2,34-35 % Fe; 5.4-16.1 Fe3O4).
Основными преимуществами взвешенной плавки являются сравнительно высокая кампания печи (~ 1 год), небольшой объем отходящих газов (35000-55000 м3/ч), и практически полная автогенность.
Вопрос 3. Перспективы технологии. По мнению Финских металлургов технологию взвешенной плавки наиболее рационально использовать для плавки на черновую медь в одну стадию ("Direkt-To-Blister ") с получением богатого шлака, т.е:
CuFeS2, CuS, Cu5FeS2+ О2=[Сu]ч.м.+(FeO-Fe3O4-SiO2)+SO2
Технологическая схема в этом случае состоит из следующих операций: подготовка концентрата; плавка высушенного концентрата с использованием дутья ,обогащенного кислородом в печи ВП; электропечное обеднение шлака; конвертирование медно-свинцово-железного сплава, полученного в электропечи с получением меди, содержащей <0.3 % Cu .
Ниже приведены некоторые технико-экономические показатели такого способа:
Предприятия…………………… Глогув-2 Олимпик-Дам
(Польша ) (Австралия)
Удельный расход, т/сут:
концентрата……………… 1500 (25 %Сu) 350 (57 %Сu)
печная пыли………………. ~250 52
кислорода………………….. 550 (95 % О2) 90 (96% О2)
Содержание кислорода в дутье,%, об. 65-80 85
Расход дутья, м3/ч……………… 30-37 4
Удельная производительность, т /сут:
Черновая медь………………………… 360 (98,5%Cu) 180 (99%Cu)
Шлак…………………………………. ~90(14 %Cu) 120 (21%Cu)
Способ обеднения шлака…………… электропечное флотация
Содержание SO2 в отходящих газах,
% об…………………………………. 9-14 27-35
Температура отходящих газов, оС 1320-1360 1350
Удельный расход:
кислорода, кг/т … 370 260
топлива, дм3/т … 13-17 (нефть) ~30
Пылевынос, %, от массы концентрата 12 56
Преимуществом данной технологии является получение в одном агрегате стабильного потока высокосернистых газов, что позволяет их эффективно использовать для производства серной кислоты и утилизации тепла. Кроме того, сокращается трудоемкая операция конвертирования штейна. Однако, конечным продуктом взвешенной плавки (Глогув-2) является, только близкий по качеству к черновой меди сплав, содержащий, повышенное количество свинца (0.15-0.30 % Pb). Наряду с этим, технология характеризуется низким извлечением меди (~70%). Проблемным вопросом также является получение богатых шлаков, что в целом, снижает преимущества одностадийного производства черновой меди. Переработка более качественных концентратов, с высоким содержанием меди и сопровождаемая меньшим выходом шлака, повысит эффективность его обеднения и технико-экономические показатели процесса.
Более перспективной является технология взвешенной плавки и последующего конвертирования, в агрегате взвешенной плавки. В настоящее время по данной технологии работает (1995г.) новый завод Гарфильд в г. Солт-Лейк-Сити (США), производительностью 300000 т. анодов в год и производством ~ 900000 т в год серной кислоты.
Концентрат и кремнистый флюс высушивают во вращающейся барабанной сушилке образущиеся газы очищают от пыли. Единственная печь взвешенной плавки плавит подсушенный концентрат. Флюс, оборотный конвертерный шлак с получением богатого медногоштейна (~ 70 % Cu ) . По мере востребованности штейн измельчают и подают в единетвенную печь взвешенного конвертирования (ВК). Черновую медь выпускают непосредственно из агрегата ВК в одну из двух вращающихся анодных печей.
Применение взвешенной плавки и конвертирования позволяет наряду с увеличением производительности в два раза сократить эксплуатационные затраты, по сравнению с прежней технологией завода Гарфильд, применявшего ранее агрегаты Норанда и горизонтальные конвертера Пирса-Смита [118]. При этом на 75 % сократилась потребность во внешних топливно-энергетических ресурсах. .
Специалисты фирмы Оутокумпу считают, что потенциальные возможности взвешенного конвертирования практически неограничены, и в скором будущем будет разработан агрегат ВП, производительностью 500 тыс т. Cu в штейне в год, рассчитанного на переработку 1.5 млн. т. концентрата (33 % Cu) для производства ~ 700 тыс. т. штейна, содержащего 70 % Сu [118]. В этом случае, мощностей печи взвешенного конвертирования достаточно для переплавки до 1.5 млн.т. штейна, содержащего 70 % Сu, из которых 700 тыс. т. поступает из собственного агрегата ВП., а остальные 700 тыс. т., можно приобретать у др. заводов-продуцентов. Таким образом, общая годовая мощность комплекса взвешенного конвертирования и агрегата ВП может достигать1 млн. т. меди при наличии всего двух печей ( рис. 5.42.) в общей схеме завода.
Недостатки АП первой группы (классификация):
1. Необходимость тщательной шихтоподготовки: сушка, измельчение.
2. Из-за не совсем правильной физико-химической природы окислительных плавок в данном агрегате, сульфиды обладают высокоразвитой реакционной поверхностью, поэтому кинетически скорость окисления высока, но абсолютная производительность технологии определяется наиболее медленным этапом, а именно процессом отстаивания и разделения фаз в объеме ванн.
Плюсы – богатые серосодержащие газы, высокая производительность, достаточно легкое обслуживание печи.
Лекция 8. Плавка в печах Ванюкова.
Вопрос 1. Теоретические и технологические принципы плавки. Эта печь запатентована в 7 странах. В России – ОАО «Норильский никель», СУМЗ; в СНГ – Балхаш (Казахстан). Является высокоэффективной отечественной разработкой автогенной технологии плавки сульфидного сырья в жидкой ванне (ПЖВ), используемой на предприятиях цветной металлургии России и Казахстана и получившая признание за рубежом. Процесс ПЖВ и печь для ее осуществления были предложены проф. А.В. Ванюковым ( МИСиС) в 1949 г. Впоследствии (1986) название (ПЖВ) было переименовано и ему присвоено имя автора. В настоящее время на ПВ имеется более 100 авторских свидетельств и зарубежных патентов.В медной промышленности первый производственный комплекс ПВ был введен в эксплуатацию на медном заводе НГМК ( 1977), позднее (1985, 1987г.г.) были построены две печи на Балхашском ГМК для переработки медной сульфидной шихты и клинкера цинкового производства [128].
На Среднеуральском медеплавильном заводе ( г. Ревда) печь Ванюкова ( ПВ-1500-2) запущена в эксплуатацию в 1995 году и вторая печь 2010 г.
Основной принцип плавки заключается в следующем.
На поверхность интенсивно барботируемого шлакового расплава загружаются шихтовые материалы. С двух сторон к реакционной шахте примыкают штейновый 1 и шлаковый 2 сифоны (рис.1). Принцип в том, что мощность продувки от 40 до 140 кВт на м3 расплава. Это приводит к тому, что сульфидные частицы дробятся на мелкие капли, взвешенные в шлаковой системе. Поэтому реакционная поверхность высока. Как результат, окисление сульфидов протекает очень быстро, в области фурм происходит насыщение расплава газами. Газ – азот и продукты окисления SO2. Происходит насыщение расплава газами, поэтому плотность расплава в области фурм ниже чем в подфурменной области, кроме того насыщенный газами расплав под воздействием архимедовых сил перемещается над фурмами печи. Учитывая высокую мощность ввода дутья протекает коалисценция – то есть укрупнение мелкодисперсных капель и, достигая гидродинамически неустойчивого размера 5-7мм, эти капли оседают в подфурменную область. Таким образом, в отличие от всех известных технологий происходит вертикальное перемещение расплава. Кратность этого перемещения составляет 100-150 единиц, это приводит к укрупнению капель штейна в шлаке и в итоге к обеднению шлака.
Так это единственный автогенный процесс, который характеризуется получением отвальных шлаков, корме того окислителем сульфидов тут является кислород шлака MeS+Fe3O4à MeO+ SO2, то есть окислителем работает кислород шлака, ассоциированный с высшими оксидами железа. В результате при вводе (КВС) в шлак содержание магнетита в шлаке невысокое 6-8%. Соответственно и низкое содержание меди в шлаке. Снижаются электрохимические потери со шлаком. Поэтому содержание меди в шлаке ПВ описывается термодинамикой и фактически соответствует равновесному состоянию. Это единственная технология, которая это делает. Дополнительным преимуществом является высокая удельная производительность. Она обусловлена большой мощностью дутья 110т/м3 сутки. Единственный конкурент – шахтная перитная плавка с производительностью до 120 т/м3.
|
|
Рис.1. Схема агрегата ПВ: 1-фурмы; 2-загрузочные течки; 3,4-шлаковый и штейновый сифоны;
5-газоход
Вопрос 2. Конструкция печи. Печь представляет собой шахту, кессонированную в средней части и футерованную ниже оси фурм.
Конструкция печи ПВ–1500-2 (для СУМЗа) разработана институтом «ВНИИЭнергоцветмет» при непосредственном участии институтов «Гинцветмет» и МИСиС. Основными элементами печи являются:
– подина;
– горн;
– шахта с кессонированным поясом (144 элемента);
– сифоны для непрерывной выдачи штейна и шлака;
– фурмы нижнего и верхнего ряда;
– каркас печи.
Печь смонтирована на столбчатых железобетонных фундаментах.
Огнеупорная кладка пода печи выполнена в виде обратной арки в три оката..
В зоне первого ряда фурменных кессонов печь в поперечном сечении имеет прямоугольную форму, в зоне второго и третьего рядов выполнена с распором в виде трапеции, аптейк имеет прямоугольную форму.
Кессоны шахты печи монтируются на медные водо-охлаждаемые плиты, опирающиеся на горно печи. Каркас печи металлический, установлен на бетонном фундаменте.
В нижнем ряду кессонов в работе находятся 42 фурмы (по 21 фурмы с каждой стороны), в верхнем ряду – 24 фурмы (по 12 фурм с каждой стороны).
Кессонные плиты и фурмы изготовляются из катодной меди. Через фурмы нижнего ряда происходит подача в расплав кислородно-воздушной смеси (КВС) и природного газа. Фурмы верхнего ряда применяются для отопления печи природным газом в период ее останова, а также для дожига элементарной серы в процессе плавки медесодержащей сульфидной шихты.
В аптейке печи установлено четыре фурмы для окончательного окисления элементарной серы в токе кислородно-воздушной смеси.
Штейновый и шлаковый сифоны выполнены из огнеупорного кирпича с закладными водоохлаждаемыми элементами, в процессе эксплуатации отапливаются природным газом через горелочные устройства.
Свод печи набирается из водоохлаждаемых чугунных футерованных огнеупорным кирпичом панелей (16 сводовых панелей).
Шлаковый сифон отделен от плавильной зоны печи перегородкой из глиссажных медных труб. Перегородка сифона штейна выполнена из медных водоохлаждаемых кессонов. Перетоки сифонов выполнены из огнеупорного кирпича. Своды штейнового и шлакового сифонов набираются из панелей. Перед котлом – утилизатором имеется аптейк – вертикальная шахта для отвода технологических газов из плавленой зоны печи. Стенки аптейка выполнены из огнеупорного кирпича и опираются на стальные балки, защищенные кессонированными элементами.
В системе загрузки печи имеются восемь шихтовых бункеров емкостью по 400 м3 для накопления медесодержащей шихты, концентратов, оборотных материалов, кварцевой золотосодержащей руды, клинкера и других компонентов перед загрузкой в печь. Транспортировка материалов осуществляется ленточными транспортерами с использованием дозирующих устройств.
Печь Ванюкова не требует предварительной шихтоподготовки и способна перерабатывать материал крупностью до 50 мм.
В результате появления брызг расплава происходит ассимиляция (поглощение) пыли. В результате низкий механический пылевынос. В целом пылевынос составляет порядка 1%.
Печь СУМЗа оборудована верхним ярусом фурм для сжигания элементной серы.
Вопрос.4. Показатели ПВ.
Материал презентации
· Габариты шахты: Ширина 2.5 – 3.0 м, высота: 6.0 – 6.5 м, длинна 10-30м.
· Расстояние фурм от пода печи: 2.0 м
· Пригодна шихта различной крупности (до 50 мм)
· Влажность шихты может достигать 10%
· Автогенность регулируют содержанием О2 в дутье (40 – 70 % О2)
· Отходящие газы (40 – 60 % SO2) используют в производстве H2SO4
· Шихта плавится в шлако-штейновой эмульсии.
· Пылевынос не превышает 1%.
· Удельная производительность агрегата достигает 80 т/м2 в сутки
· Традиционные методы плавки в отражательных, электрических и шахтных печах теряют свое значение.
|
|
Вопрос 5. Миксеры штейна и шлака (рис.2) являются накопителями расплавов и предназначены для их непрерывного приема из печи по обогреваемым переточным желобам и слива в ковши V=6м3
Рис.2. Миксера шлака и штейна
/ - корпус; 2 - торцевая крышка; 3 - опорные бандажи; 4 - зубчатый венец; 5 - опорные ролики;
б-эл. привод; 7-футеровка; 8-горловина; 9- носок заливочного желоба: /0- газовая горелка;
II - ковш; 12 - окно для слива шлака; 13 - окно для слива богатой массы
и шлаковозные чаши V=11м3.
Миксер шлака длиннее миксера штейна на 2900 мм. (после реконструкции)
Кожух миксеров футеруется высокоогнеупорными хромито-периклазовыми термостойкими изделиями. Толщина кладки 380 мм. Миксеры снабжены горловинами для слива расплавов.
Характеристика миксеров:
диаметр по кожуху | 3950 мм |
| внутренний диаметр по футеровке | 3000 мм |
| длина по осям опорных бандажей | 7400 мм |
| длина «бочки» | 9200 мм |
| площадь сечения горловины | 2,89м2 |
| максимальная емкость по штейну | 115 т |
| максимальная емкость по шлаку | 82 т |
| электродвигатель: мощность число оборотов продолжительность включения | 37 квт 700 об/мин 40% |
Вопрос 6. Утилизация зазов ПВ. Технологические газы ПВ для утилизации тепла проходят котел-утилизатор (КУ) радиационно-конвективного типа. Два барабана – сепаратора работают на давлении пара до 4.5 МПа. Объем технологических газов – 40000 нм3/ч, температура газов на входе в КУ –12500С, на выходе - 4000С. Поверхность нагрева –1927 м2. Радиационная часть котла устанавливается непосредственно над камерой дожига серы являющейся продолжением аптейка печи ПВ и снабжена песочным затвором.
Конвективная часть КУ расположена под углом 90 градусов к продольной оси радиационного блока и завершается бункером с устройством примыкания к системе пневмотранспорта.
Котел-утилизатор выполнен из гладкостенных цельносварных панелей, представляющих собой экранные трубы с приваренными к ним с огневой стороны листами из нержавеющей стали.
После КУ газы поступают в башню охлаждения, работающую в автоматическом режиме испарительного охлаждения и с температурой 3900 С проходят очистку от пыли в электрофильтрах ЭГТ 8-40-4 . КПД очистки –97,5%–98,0%
Для охлаждения кессонированных элементов печи используется химически очищенная вода с расходом до 1000 т/час с температурой на входе +250С (± 100С), на сливе 480С (±100С), давлением 300 (+300) кПа.
Для отопления сифонов и миксеров штейна и шлака, преточного желоба шлака, ванны ПВ применяется природный газ, расход которого изменяется в пределах 800-2200 нм3/час в зависимости от режима работы печи.
Технологический кислород на обогащение воздушного дутья вырабатывается на двух разделительных кислородных блоках с суммарной производительностью 22000 нм3/час, концентрацией 95% О2, давлением 200 кПа.
Агрегат ПВ оснащен автоматизированной системой управления, представленной ЭВМ «ALKONT». Имеются локальные средства автоматики: измерения температуры, давления, уровней в бункерах, расхода материалов, анализа технологических газов, контроля работы электрофильтров, башни охлаждения газов.
В ходе длительной эксплуатации комплекса ПВ–1500-2 получены следующие показатели :
Технологические параметры работы ПВ на ОАО СУМЗ
Состав шихты, (по массе в %):
| Смесь сульфидных медных концентратов | 70-75 |
| Кварцевая руда, известняк | 20-25 |
| Оборотные материалы (золота боровов, дробленые выломки и корки , клинкер и др.) | до 5 |
Химический состав шихты в %:
| медь | 10-15 |
| цинк | 3,0-4,5 |
| сера | 25-35 |
| железо | 28-32 |
| диоксид кремния | 13-17 |
| оксид кальция | до 3,5 |
Производительность по сухой смеси:
| Сульфидных медных концентратов, (т/сут) | 840-1700 |
| Производительность по шихте, (т/сут) | 1200-2400 |
Удельная производительность в перерасчете на площадь сечения в области нижнего ряда фурм плавильно – окислительной зоны, т/м2 сут до 85,0
| Загрузка шихты (т/ч) | 65±20 |
| Общий объем кислородно-воздушной смеси (КВС), нм3/ч | 20000 |
| В том числе: | |
| технологического кислорода, нм3/ч | 13500 |
| воздуха, нм3/ч | 6500 |
| обогащение дутья кислородом, % объемн | до 87,0 |
| Состав получаемого штейна, % по массе: | |
| меди | 40-60 |
| цинка | 2,0 |
| Выход штейна, т/ч | 20-25 |
| Состав получаемого шлака, % по массе: | |
| меди | 0,8-1,0 |
| цинка | 3,5-4,5 |
| диоксида кремния | 29,0-32,0 |
| оксида кальция | 1,8-4,5 |
| Содержания SO2 в отходящих газах (в аптейке), % объемн. | 36,0-42,5 |
| Содержание пыли в отходящих газах | 0,3-0,5г/нм3 |
| Температура, 0С: | |
| штейна | 1180-1250 |
| шлака | 1250-1350 |
| отходящих газов на входе в аптейк | 1230-1320 |
| разрежение в аптейке печи, мм вод.ст. | 1,0-2,5 |
| технологический кислород на дожиг серы , м3/час | 3,500–4500 |
| площадь печи на уровне фурм нижнего ряда м2 | 36,5 |
| емкость ванны по расплаву, м3 | 85,0 |
| Удельные расходы: | |
| кислорода, м3/т конц. | 90-180 |
| воздуха, м3/т конц | 12-25 |
| природного газа м3/т конц. | 0-18 |
Технологическая схема комплекса Ванюкова на ОАО СУМЗ состоит из следующих частей:
-системы подачи шихты на плавку ;
-системы подачи кислородно-воздушной смеси (КВС) и природного газа:
- печи Ванюкова;
- системы охлаждения кессонированной шахты печи;
-стационарного отстойника шлака;
-шлакового миксера;
-котла-утилизатора;
-системы пылеулавливания и газоходного тракта.
Приготовленная в существующем отделении подготовки сырья и шихты (ОПСиШ) шихта по системе конвейеров подается в шихтовые бункера печи ПВ-1500-2 емкостью 400 м3, оборудованные ленточными питателями.
Система питания печи шихтой, регулировка и автоматическое дозирование обеспечивается установкой на ленточных питателях двигателей с регулируемым числом оборотов и весоизмерителей.
Шихта с конвейеров через загрузочные устройства поступает на ванну барботируемого расплава, где подвергается физико-химическим превращениям с образованием продуктов плавки - штейна, шлака и запыленных отходящих газов.
Технологический процесс плавки сульфидного медного цинксодержащего сырья и обеднения жидких конвертерных шлаков осуществляется в непрерывном режиме загрузки шихты заданного количества и состава при оптимальном расходе дутья и сопровождается
непрерывным выпускум из печи жидких продуктов плавки и эвакуация отходящих газов.
При этом соблюдается постоянство заданных уровней штейновой и шлаковой ванн для определенного составеа штейна, что обеспечивается неизменностью высоты сливных порогов (окон) в шлаковом и штейновом сифонах.
Температура ванны расплава регулируется соотношением кислород/воздух дутья, при неизменном общем расходе кислорода, подаваемого через фурмы нижнего ряда в расплав и заданном соотношении "кислород дутья - загрузка шихты (нм3/т)"; расхода природного газа с одновременным изменением количества кислорода на его сжигание до диоксида углерода.
Глубина погружения фурм в расплав поддерживается в пределах 0.3-0.6м.
Для расчета параметров автогенной плавки разработаны номограммы [1]. Пример использования одной из них для оценки удельного расхода кислорода на 1 т. шихты и содержания меди в штейне [129], получаемого при переработке сульфидной шихты, содержащей 18 % Cu, приведен на рис 5.52.
Охлажденный до температуры 390-4200С отходящий газ печи ПВ поступает в электрофильтры ЭГТ 8-40-4, где он очищается от пыли и далее по газоходному тракту, с помощью 4-х дымососов поступает в промывное отделение СКЦ.
Поток газа поступающий в промывное отделение сернокислотного цеха (после электрофильтров), характеризуется сравнительно высокой концентрацией SO2 ( (20-25 %). В товарной точке концентрация SO2 составляет ~ 20 %. Дальнейшее улучшение характеристик пылегазового потока является устранение подсосов и герметизация пылеулавливающей аппаратуры.
Вопрос 7. Показатели и перспективы процесса ПВ:
1. Плавка Ванюкова внедрена на предприятиях черной металлургии для производства железа и чугуна.
2. Проведены успешные испытания на Юнке по производству никелевого штейна.
Рекомендация для Вас - Графики технического обслуживания.
Предварительно наводится шлаковая ванна, на поверхность которой загружают кокс.
Приток теплоты осуществляется за счет его сгорания, корме этого факультативно, через фурмы для замыкания теплового баланса подается природный газ.
3. Проведены испытания по получению белого мата и богатого штейна.
4. Печь хорошо перерабатывает пиритные концентраты и пиритные огарки.
5. Печь успешно работает по переработке свинцовых концентратов в Китае.
6. Проведены успешные испытания по переработке бытовых отходов.


























