Элеваторы
ЛЕКЦИЯ 15. Элеваторы
План лекции
15.1. Общие сведения об элеваторах. 
               Устройство и параметры элеваторов.
15.2. Конструкции элеваторов.
15.3. Расчет элеваторов.
15.1. Общие сведения об элеваторах.
Устройство и параметры элеваторов
Рекомендуемые материалы
Элеваторы служат для перемещения насыпных и штучных грузов в вертикальном или крутонаклонном (60…80о) направлении и соответственно разделяются на вертикальные и наклонные.
Применяются элеваторы на предприятиях химической, металлургической, машиностроительной, пищевой, угольной промышленности, в производстве строительных материалов, зернохранилищах и т. д.
Их используют только для подъема грузов от начального до конечного пункта без промежуточной загрузки или разгрузки.
В своем составе элеваторы имеют:
– гибкие тяговые органы (цепи, ленты, канаты);
– приводные и натяжные элементы (звездочки, барабаны, блоки);
– грузонесущие элементы (ковши, полки, люльки).
По роду грузонесущего элемента элеваторы разделяют:
– на ковшовые;
– полочные;
– люлечные.
Ковшовые элеваторы служат для подъема насыпных грузов (пылевидных, зернистых, кусковых). Люлечные и полочные – для штучных (мешки, ящики, отдельные детали и т. д.).
По виду тягового органа различают элеваторы:
– ленточные;
– цепные (одно- и двухцепные);
– канатные.
Элеватор состоит из укрепленных на металлоконструкции верхнего и нижнего барабанов (звездочек, блоков), один из которых (чаще верхний) является приводным, и огибающего их гибкого тягового органа (лента, цепь, канат) с укрепленными на нем грузонесущими элементами (ковши, полки и т. д.).
Ходовая часть элеватора приводится в движение от привода, который большей частью крепится непосредственно на металлоконструкции элеватора. Привод состоит из редуктора, электродвигателя и тормозного устройства (останова). Некоторые схемы приводов включают в себя открытые зубчатые или клиноременные передачи.
В нижней части элеватора располагается натяжное устройство (грузовое, винтовое, рычажное). Известны конструкции элеваторов, в которых натяжное устройство располагается в верхней части. 
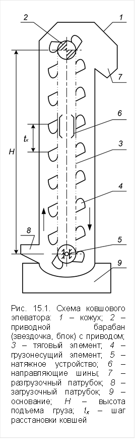
Загрузка ковшей или подача единичных грузов на полки, люльки производится в нижней части элеватора, куда транспортируемый материал подается через загрузочную воронку питающим устройством или по направляющим. Сыпучие материалы при этом попадают или непосредственно в ковши, или на дно нижней части, откуда он зачерпывается ковшами. При огибании верхнего барабана (звездочек, блоков) ковшами материал из них высыпается и отводится разгрузочным патрубком. Единичные грузы также снимаются в верхней части элеватора. На рис. 15.1 приведена схема ковшового элеватора, принципиальный состав этой схемы в целом характерен для всех видов элеваторов.
Преимущества элеваторов:
– сохранность транспортируемого груза;
– простота конструкции;
– надежность при эксплуатации;
– возможность создания герметичного и звукоизолирующего кожуха;
– малые габаритные размеры в поперечном направлении, что дает возможность иметь компактные транспортные схемы, позволяющие экономно использовать производственные площади.
Недостатки элеваторов заключаются в следующем:
– возможны отрывы ковшей при перегрузках;
– необходимо обеспечивать равномерную подачу груза при загрузке.
Параметры элеваторов:
– высота подъема груза H может достигать 60…90 м;
– производительность весовая Q до 1000 т/ч или объемная V до 500 м3/ч.
15.2. Конструкции элеваторов
15.2.1. Ковшовые элеваторы
Ковшовый элеватор служит для подъема насыпных грузов и имеет замкнутый тяговый элемент с жестко закрепленными на нем грузонесущими элементами – ковшами. По типу тягового органа различают ковшовые элеваторы ленточные и цепные с одной или двумя цепями. Канатные элеваторы встречаются реже.
Основные параметры элеваторов общего назначения установлены государственными стандартами. Диапазон наиболее применяемых скоростей v лежит в пределах от 0,4 до 2,5 м/с; диапазон производительности (объемной) V – от 1,6 до 320 м3/ч.
Специальные ковшовые элеваторы для вертикального транспортирования зерна и муки на мукомольных и комбикормовых предприятиях получили название нории. Их параметры также подчиняются государственным стандартам.
Ковши элеваторов. Разнообразие физических свойств транспортируемого материала обусловливает необходимость применения в элеваторах различных по форме ковшей. Конструкции ковшей также определяются и способами их загрузки и разгрузки. Основные параметры (рис. 15.2) – ширина B, м; вылет L, м; высота Hк, м; радиус скругления днища R, м; объем или емкость по оси x-x i, л. Всего предусмотрено четыре типа ковшей.
1. Глубокие со скругленным (цилиндрическим) днищем. Обозначение – «Г».
2. Мелкие со скругленным днищем. Обозначение – «М».
3. С остроугольным днищем и бортовыми направляющими. Обозначение – «О».
4. Скругленные с бортовыми направляющими. Обозначение – «С».
В зависимости от конструкции ковшей различают следующие типы элеваторов:
– ленточный быстроходный с расставленными глубокими ковшами типа «ЛГ»;
– ленточный быстроходный с расставленными мелкими ковшами типа «ЛМ»;
– ленточный тихоходный с сомкнутыми остроугольными ковшами типа «ЛО»;
– цепной быстроходный с расставленными глубокими ковшами типа «ЦГ»;
– цепной быстроходный с расставленными мелкими ковшами типа «ЦМ»;
– цепной тихоходный с сомкнутыми остроугольными ковшами типа «ЦО»;
– цепной тихоходный с сомкнутыми скругленными ковшами типа «ЦС».

Рис. 15.2. Ковши элеваторов: а – глубокие со скругленным (цилиндрическим) днищем; б – мелкие со скругленным днищем; в – с остроугольным днищем и бортовыми направляющими; г – скругленные с бортовыми направляющими
Глубокие ковши имеют повышенную глубину и емкость. Их применяют для транспортирования сухих, легкосыпучих пылевидных, зернистых и мелкокусковых грузов (зерно, песок, земля и т. д.)
Мелкие ковши имеют малую глубину, что способствует лучшему опорожнению при разгрузке. Их применяют для транспортирования влажных и слеживающихся плохосыпучих пылевидных, зернистых и мелкокусковых насыпных грузов.
Цилиндрическое днище способствует лучшему опорожнению ковшей и уменьшает возможность прилипания частиц к внутренней поверхности.
Глубокие и мелкие ковши применяют только на элеваторах с расставленным креплением ковшей. Изготавливают сварными или штампованными из стали толщиной 1...6 мм.
Ковши с остроугольным днищем применяют на тихоходных цепных элеваторах для транспортирования самых различных грузов — пылевидных, зернистых, кусковых. Для них характерно только сомкнутое расположение.
К ковшам специального назначения следует отнести «обезвоживающие» ковши с отверстиями в стенках, применяемые для транспортирования мокрого материала.
Параметры ковшей элеваторов стандартизованы. Диапазоны параметров следующие:
– ширина B = 100...1000 мм;
– вылет L = 50...165 мм;
– высота Hк = 65...615 мм;
– емкость i = 0,1...148 л.
Способы крепления ковшей. Для крепления ковшей к ленте применяют так называемые элеваторные болты, имеющие плоские тонкие головки с шипами или ребрами внизу, которые вдавливаются в ленту при затяжке болта (рис. 15.3, а). При транспортировании легких материалов, а также у элеваторов с небольшой шириной ковша болты располагают в один ряд, в остальных случаях – в два ряда с минимальным расстоянием между болтами, чтобы изгибы ленты в месте крепления ковша не приводили к ее порче.
Обычно ковши на ленте располагают по ширине в один ряд. У элеваторов большой ширины применяют двухрядное расположение ковшей, в шахматном порядке (рис. 15.3, б). Такое расположение позволяет делать ковши достаточно жесткими, кроме того, снижает изгибные напряжения в ленте, вызываемые бочкообразной формой барабана.
 
 
 
Рис. 15.3. Крепление ковша к ленте: а – способ крепления;
б – возможное расположение ковшей
Способы крепления ковшей к цепям представлены на рис. 15.4.

Рис. 15.4. Типы крепления ковшей к цепям: а – к пластинчатой цепи задней стенкой; б – к пластинчатой цепи боковыми стенками; в – к сварной цепи задней стенкой; г – к сварной цепи боковыми стенками
Тяговые элементы. Тяговым элементом ленточного ковшового элеватора может являться как резинотканевая, так и резинотросовая конвейерная лента, аналогично тому, как это реализовано в ленточных конвейерах. Ленты применяются преимущественно в быстроходных элеваторах для перемещения пылевидных, порошкообразных, зернистых и мелкокусковых грузов малой и средней насыпной плотности, т. е. таких, зачерпывание которых не оказывает большого сопротивления при загрузке.
Для надежного крепления ковшей резинотканевая лента должна иметь не менее 3…4 прокладок тягового каркаса. Ширина ленты должна быть на 25...150 мм больше ширины ковша. Ленты рассчитывают с учетом их ослабления отверстиями для болтов.
Тяговым элементом цепного ковшового элеватора служит одна или две тяговые пластинчатые цепи. Сварные цепи используются реже. Цепи применяются при большой производительности элеватора, значительной высоте подъема, для перемещения тяжелых кусковых, горячих грузов, т. е. в случаях, когда создаются значительные сопротивления движению.
Для транспортирования абразивных грузов используют в основном ленточные элеваторы, поскольку цепи в абразивной среде быстро изнашиваются.
Способы наполнения и разгрузки ковшей. Загрузка ковшей элеватора может производиться двумя способами:
– зачерпыванием из нижней части кожуха (рис. 15.5, а);
– засыпанием в ковш (рис. 15.5, б). 
  

Рис. 15.5. Способы заполнения ковшей элеватора: а – зачерпыванием из нижней части кожуха; б – засыпанием в ковши
Загрузка зачерпыванием применяется в элеваторах с расставленными ковшами при транспортировании сухих хорошо сыпучих, пылевидных и мелкокусковых грузов (например, угольная пыль, цемент, песок, опилки и т. д.), черпание которых не создает значительных сопротивлений и может проходить при повышенных скоростях (v = 0,8...4,0 м/с). Загрузка засыпанием применяется для крупнокусковых и абразивных грузов (гравий, руда, кусковой уголь), когда из-за больших сопротивлений возможен отрыв ковшей или даже обрыв тягового элемента. Этот способ возможен только при сомкнутом (непрерывном) расположении ковшей, что исключает просыпь между ковшами и при пониженных скоростях (до 1 м/с), так как при больших скоростях ковши отбрасывают груз и плохо заполняются.
Способы разгрузки ковшей элеваторов. Разгрузка ковшей бывает:
– центробежная;
– самотечная;
– самотечная направленная;
– самотечная свободная при дополнительном отклонении тягового органа.
При центробежной разгрузке (рис. 15.6, а) ковши разгружаются в основном под действием центробежной силы во время прохождения ковшей через барабан или звездочку. Груз выпадает непосредственно в разгрузочный патрубок кожуха элеватора. Эту разгрузку применяют для быстроходных, преимущественно ленточных элеваторов с расставленными ковшами для транспортирования легкосыпучих пылевидных, зернистых и мелкокусковых насыпных грузов.
 
Рис. 15.6. Схемы разгрузки ковшей: а – центробежная; б – самотечная: В – полюс; / – полюсное расстояние; r, rа, rб – расстояние от центра барабана (звездочки) соответственно до центра тяжести груза в ковше, до наружной кромки ковша, до внутренней стенки ковша; Fm и Fr – соответственно сила тяжести и центробежная сила массы груза в ковше; F – равнодействующая сил Fm и Fr
Скорость движения ковшей 1...4 м/с. Шаг ковшей такой, что выброшенные из ковша частицы не попадают на впереди идущий ковш. При таком способе разгрузки должно соблюдаться условие l ≤ rб. Полюсное расстояние, м, определяется по следующей формуле:
 ,
где n – частота вращения ведущего барабана (или ведущих звездочек), мин–1.
Самотечная разгрузка (рис. 15.6, б) отличается от центробежной тем, что разгрузка производится преимущественно под действием сил тяжести и проходит при меньшей скорости. При таком способе разгрузки должно соблюдаться условие l > rб. Остальные условия те же.
Самотечная направленная разгрузка (рис. 15.7, а) характерна для ленточных и цепных элеваторов с сомкнутыми ковшами. При огибании верхнего барабана или звездочки груз высыпается из ковша под действием силы тяжести на заднюю стенку предыдущего ковша и далее между боковыми бортами ковша в разгрузочный патрубок. Этот способ применяется в тихоходных элеваторах при скорости 0,4...0,8 м/с для кусковых, тяжелых и абразивных грузов (гравий, руда, шлак, кусковой уголь и т. д.).
Самотечная свободная разгрузка (рис. 15.7, б) происходит при дополнительном отклонении тягового органа с ковшами, когда появляется свободное высыпание груза под действием силы тяжести. Этот вид разгрузки применяют для плохосыпучих, влажных и мокрых грузов. Отклонение обеспечивается дополнительными направляющими звездочками или шинами. Разгрузка происходит при пониженной скорости до 0,6 м/с.

Рис. 15.7. Схемы разгрузки ковшей: а – самотечная направленная; б – самотечная свободная
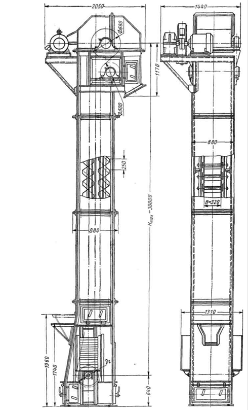
Схемы конструкций элеваторов ЛГ-250 и ЦС-320 приведены на рис. 15.8 и рис. 15.9 соответственно. Числа в обозначении элеваторов указывают ширину ковшей в миллиметрах.
15.2.2. Полочные и люлечные элеваторы
Для перемещения штучных грузов в вертикальном и крутонаклонном направлениях служат полочные и люлечные элеваторы, отличающиеся конструкцией грузонесущих органов. Скорость движения ходовой части таких элеваторов принимается обычно в пределах 0,1…0,3 м/с, но не более 0,6 м/с, что обусловливается наличием автоматических загрузочных и разгрузочных устройств, которые при больших скоростях движения работают менее надежно. В качестве ходовой части, как правило, применяют втулочно-катковые цепи с гребнями на катках и приводные роликовые цепи. Наиболее распространенные шаги цепей: 25,4; 38,1; 100; 160 и 250 мм.
Конвейеры оснащаются как ручными, так и автоматическими устройствами загрузки и разгрузки. Простейшие устройства для автоматической загрузки и разгрузки состоят из наклонных колосниковых или роликовых столов. Для изделий цилиндрической формы применяют колосниковые столы, имеющие небольшие наклоны.
 
 
Рис. 15.8. Элеватор ленточный быстроходный 
 с расставленными глубокими ковшами ЛГ-250
 
 
Рис. 15.9. Элеватор цепной тихоходный с сомкнутыми ковшами со скругленным днищем ЦС-320
Кроме гравитационного перемещения грузов, в местах загрузки и разгрузки применяют также устройства с принудительной загрузкой и разгрузкой конвейеров, как, например, пневматические сталкиватели, приводные рольганги, цепные конвейерные установки.
Конвейеры могут быть использованы для обслуживания различных складов торговых предприятий, грузов в мерной ящичной таре, книгохранилищ и пр.
Крепление люльки к цепи шарнирное, а полки – жесткое. Во избежание раскачивания люльки в процессе загрузки-разгрузки предусматриваются вертикальные направляющие. Конвейеры имеют загрузочные и разгрузочные устройства на каждом этаже. Загрузка и разгрузка может производиться вручную и автоматически, например, по наклонному роликовому столу. На рис. 15.10 представлен общий вид двухцепного люлечного конвейера.
Такая конструкция элеватора служит для непрерывной передачи груза в ящиках с первого этажа на второй с автоматической загрузкой и разгрузкой.
15.3. Расчет элеваторов
Производительность ковшового элеватора определяют по линейному объему ковшей, л/м:
,
где iо – геометрический объем ковша, л; tк – шаг расстановки ковшей, м; Q – расчетная производительность элеватора, т/ч; v – скорость движения ковшей, м/с; Ψ – коэффициент заполнения ковшей; ρ – насыпная плотность груза, т/м3.
Отсюда производительность элеватора определится: 
 Тяговый расчет элеватора производится методом обхода тягового органа по контуру трассы. Расчетная схема приведена на рис. 15.11.
  
Рис. 15.11. Вертикальный элеватор: а – расчетная схема; б – диаграмма натяжений тягового органа
Примерный порядок тягового расчета:
1) трасса разбивается на прямолинейные и криволинейные участки, точки сопряжения которых нумеруются, начиная с точки наименьшего натяжения; при расчетах пользуются общим правилом, что натяжение в каждой следующей точке трассы по ходу движения тягового органа равно сумме натяжения в предыдущей точке и сопротивления движению на участке между этими точками;
2) натяжение, Н, в точке 1
F1 = Fmin,
где Fmin – натяжное усилие, Н;
3) натяжение, Н, в точке 2
F2 = kпF1 + Fзач,
где kп – коэффициент увеличения натяжения тягового органа от сопротивления на поворотном пункте; Fзач – сопротивление зачерпыванию груза, Н;
4) натяжение, Н, в точке 3
F3 = Fнаб = F2+(q+qK)gH,
где Fнаб – усилие набегающей ветви в точке 3, Н; q – погонная масса транспортируемого груза, кг/м; qK – погонная масса ходовой части (тяговый орган и ковши), кг/м; Н – высота подъема груза, м;
5) натяжение, Н, в точке 4
F4 = Fсб = F1 + qкgH,
где Fсб – усилие в сбегающей ветви в точке 4, Н;
6) для ленточного элеватора во избежание скольжения ленты по барабану необходимо, чтобы соблюдалось условие
,
где efα – тяговый фактор, е – основание натуральных логарифмов; 
 f – коэффициент трения между лентой и барабаном; α – угол обхвата лентой приводного барабана;
Далее определяются необходимое натяжное усилие Fmin и все остальные натяжения.
По наибольшему усилию в тяговом органе Fmax = F3 делается уточненный расчет на прочность ленты или тяговой цепи. При этом динамическая нагрузка, Н, на тяговый орган цепного элеватора
,
где z – число зубьев ведущей звездочки тяговой цепи; t – шаг тяговой цепи, м.
Определяется тяговая сила на барабане (звездочке) с учетом сопротивлений на барабане (звездочке):
Fо = kпF3 – F4.
Проверяется правильность выбора диаметра приводного барабана (для ленточного элеватора) по среднему давлению.
Определяется мощность на приводном валу элеватора.
Определяется мощность двигателя для привода элеватора. При этом коэффициент запаса принимается равным 1,25.
Определяется частота вращения приводного вала элеватора.
Определяется необходимое передаточное число между валом двигателя и приводным валом элеватора.
Далее подбираются элементы привода и производятся проверочные расчеты.
КОНТРОЛЬНЫЕ ВОПРОСЫ И ЗАДАНИЯ
1. Назовите назначение элеваторов.
2. Назовите виды элеваторов. Какова область применения того или иного вида?
3. Назовите виды рабочих элементов элеваторов.
Бета-распад - лекция, которая пользуется популярностью у тех, кто читал эту лекцию.
4. Назовите виды тяговых элементов элеваторов. Каковы способы крепления к ним рабочих органов?
5. Назовите способы загрузки элеваторов. В каком случае применяется тот или иной способ?
6. Назовите способы разгрузки элеваторов. В каком случае применяется тот или иной способ?
7. Как определяется производительность ковшовых элеваторов?
8. Опишите методику тягового расчета элеватора.
9. Как определяется тяговая сила на приводном элементе элеватора?





















