Шпоночные соединения
Лекция №21
Шпоночные соединения
Шпонки служат для передачи крутящего момента к ступице детали или наоборот. В отдельных случаях кроме передачи крутящего момента шпонки фиксируют насаженные на вал ступицы в осевом направлении.
Основные типы шпонок стандартизированы. Шпоночные соединения могут быть разделены на две группы:
1. Ненапряженные, осуществляемые призматическими или сегментными шпонками;
2. Напряженные – посредством клиновых шпонок.
Соединение призматическими и сегментными шпонками
Призматические шпонки выполняют прямоугольного сечения с соотношением высоты к ширине сечения от 1:1 для валов малых диаметров до 1:2 для валов больших диаметров (рис. 21.1). Концы выполняют плоскими и скругленными. Рабочими у призматических шпонок являются боковые грани. Шпонку врезают в вал на глубину около 0,6 от ее высоты h. В радиальном направлении предусматривается зазор. Обычно в соединение ставят одну призматическую шпонку. При большой напряженности конструкции иногда применяют по две шпонки, которые устанавливают под углом 120° и 180°.
Недостатком призматических шпонок является трудность обеспечения их взаимозаменяемости, т.е. необходимость ручной пригонки.
Призматические шпонки по назначению разделяют на:
1. Простые, предназначенные только для передачи крутящего момента;
2. Направляющие и скользящие, служащие также для направления при осевом перемещении.
Рекомендуемые материалы
Простые шпонки закладывают в паз вала, соответствующий длине шпонки, без крепления. Направляющие шпонки дополнительно притягивают к валу винтами. Это делается для устранения повышенного трения и износа, связанного с перекосом шпонок (рис. 21.2).
Скользящие шпонки, т.е. шпонки, перемещающиеся вместе со ступицами вдоль вала, применяют при необходимости больших осевых перемещений. Их выполняют с цилиндрическими выступами – головками, которые входят в соответствующие отверстия в ступицах. Это позволяет делать шпонку короткой. Момент передается с вала на ступицу боковыми узкими гранями шпонки. При этом на них возникают напряжения смятия sсм, а в продольном сечении шпонки – напряжения среза sср. Для простоты расчета допускают, что шпонка врезана в вал на половину своей высоты, напряжения смятия sсм распределяются равномерно по высоте и длине шпонки, а плечо равнодействующей этих напряжений равно
.
Рассматривая равновесие вала или ступицы при таких допущениях, получим условие прочности в виде
; (21.1)
, (21.2)
где
- рабочая длина шпонки.
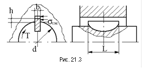
У стандартных шпонок размеры b и h подобраны так (рис. 21.3), что нагрузку соединения ограничивают не напряжения среза, а напряжения смятия, поэтому при проверочных расчетах обычно используют формулу (21.1).
Сегментная шпонка является разновидностью призматической шпонки, т.к. принципы работы этой шпонки подобны принципу работы призматической шпонки.
Сегментные шпонки самые технологичные из-за легкости изготовления самих шпонок и пазов для них. Глубокая посадка шпонки обеспечивает ей более устойчивое положение, чем у простой призматической шпонки.
Это предохраняет шпонку от перекоса (выворачивания) под нагрузкой. Однако глубокий паз значительно ослабляет вал, поэтому сегментные шпонки применяют на малонагруженных участках вала. Условие прочности
![]() |
где h1 – справочный размер для расчета на смятие.
Соединение клиновыми шпонками
Врезные клиновые шпонки характеризуются следующими положениями: а) свободной посадкой ступицы на вал (с зазором);
б) расположением шпонки в пазе с зазором по боковым граням (рабочими являются широкие грани шпонки);
в) передачей вращающего момента Т от вала к ступице в основном за счет силы трения, которые образуются в соединении от запрессовки шпонки.
Запрессовка шпонки смещает центры вала и ступицы на некоторую величину D. Это смещение вызывает дисбаланс и неблагоприятно сказывается на работе механизма при больших скоростях вращения.
Клиновая форма шпонки может вызвать перекос детали, при котором ее торцевая плоскость не будет перпендикулярна к оси вала. Эти недостатки послужили причиной того, что применение клиновых шпонок резко сократилось в условиях современного машиностроения.
Для упрощения расчета клиновых врезных шпонок принимают, что при передаче шпоночным соединением крутящего момента Т напряжения сжатия по ширине поверхности контакта рабочих граней шпонки с валом и ступицей распределяются по закону треугольника. В этом случае передаваемый крутящий момент Т складывается из момента нормальной силы Fn (рис. 21.5), момента сил трения между ступицей и шпонкой
, где f – коэффициент трения между ними, и момента силы трения между ступицей и валом
, где f'' - коэффициент трения между ними.
Приближенно можно принять, что плечо силы
равно радиусу вала и
.
При таких допущениях
или
. (21.4)
Из принятого закона распределения напряжений смятия по ширине шпонки следует
, (21.5)
где l – длина ступицы детали.
Решая совместно уравнения (21.4) и (21.5), получаем
.
При проектировании шпоночного соединения ширину и высоту шпонок принимают по ГОСТу в зависимости от диаметра вала. Длину шпонки принимают в зависимости от длины ступицы и согласовывают с ГОСТом по шпонкам.
Далее делают проверочный расчет шпоночного соединения по одному из рассмотренных случаев.
Шлицевые соединения
Шлицевые (зубчатые) соединения вал – ступица представляют собой соединения, образуемые выступами (зубьями) на валу, входящими во впадины соответствующей формы в ступице. Эти соединения можно представить как многошпоночные, у которых шпонки выполняются за одно целое с валом.
Шлицевые соединения по сравнению со шпоночными имеют следующие преимущества:
1. Большую несущую способность при одинаковых габаритах из-за значительно большей рабочей поверхности и равномерного распределения давления по высоте зубьев;
2. Большую усталостную прочность вала со шпоночными канавками;
3. Детали на шлицевых валах лучше центруются и имеют лучшее направление при передвижении вдоль вала.
Соединения обеспечивают жесткое фиксирование деталей в окружном направлении и допускают осевые перемещения (подвижных соединений).
По форме профиля зубьев различают три типа соединений:
1) прямобочные;
2) эвольвентные;
3) треугольные.
1. 
Соединение с прямобочными зубьями выполняют с центрированием по боковым граням (рис. 21.6, а) зубьев, по наружному (рис. 21.6, б) или внутреннему (рис. 21.6, в) диаметру вала.
Стандартом предусмотрены три серии соединений (легкая, средняя и тяжелая), которые отличаются высотой и количеством зубьев. Число зубьев изменяется в пределах от 6 до 20. У соединений тяжелой серии зубья выше, а их количество больше, чем у соединений средней и легкой серий. При выборе способа центрирования руководствуются следующим. Центрирование по диаметрам D или d обеспечивает более высокую соосность вала и ступицы по сравнению с центрированием по боковым граням. Центрирование по боговым граням обеспечивает более равномерное распределение нагрузки по зубьям. Поэтому его применяют при тяжелых условиях работы. Диаметр центрирования (наружный или внутренний) выбирают из технологичных условий. Если твердость материала втулки позволяет обработку протяжкой (НВ<350), рекомендуют центрирование по наружному диаметру. При этом центрирующие поверхности втулки калибруют протяжкой, а центрирующие поверхности вала – шлифованием.
При высокой твердости втулки рекомендуют центрирование по внутреннему диаметру. В этом случае центрирующие поверхности отверстия и вала можно обрабатывать шлифованием.
Условное обозначение соединения с прямобочными зубьями в соответствии с ГОСТ 1139-80 должно содержать: букву, обозначающую поверхность центрирования, число зубьев z и номинальные размеры d, D, b соединения; обозначения посадок диаметра и размера b, помещенные после соответствующих размеров. Например, при z=8, d=42, D=48, b=8 обозначение соединения с прямобочными зубьями с центрированием по наружному, с посадкой по диаметру центрирования
и по размеру b -
имеет вид
.
Рекомендуемые посадки для размера b:
- для неподвижных соединений при центрировании по D;
- для подвижных соединений при центрировании по d.
2.
Соединения с эвольвентными шлицами выполняют с центрированием по боковым граням (рис. 21.7,а) или по наружному диаметру вала (рис. 21.7,б). Наиболее распространен первый способ центрирования.
Эвольвентные зубья применяют при диаметрах от 4 до 500 мм при z=6¸82.в соответствии со стандартом ГОСТ 6033-80 угол исходного контура a=30°, за номинальный диаметр соединения применяют его наружный диаметр

где m – модуль соединения;
х – коэффициент смещения.
Обозначение соединения с эвольвентным профилем должно содержать: номинальный диаметр D, модуль m, обозначение посадки соединения, помещаемое после размеров центрирующих элементов, номер стандарта ГОСТ 6033-80. Например, обозначение соединения при D=50, m=2 с центрированием по боковым поверхностям зубьев
имеет вид
ГОСТ 6033-80.
Рекомендуемые посадки:
- для неподвижных соединений;
- для подвижных соединений.
3.
Соединения с треугольными зубьями не стандартизированы, их применяют главным образом как неподвижные при тонкостенных втулках. Это соединение имеет большое число мелких зубьев, что позволяет регулировать положение ступицы на валу в окружном направлении.
По рекомендации СЭВ угол профиля b=60° (рис. 21.8) при номинальных диаметрах до 60 мм.
Кроме таких соединений в машиностроении изготавливают соединения с другими углами профиля 72°, 90° и др. и D=5¸75 мм.
В быстроходных передачах авиационных изделий точность центрирования шлицевых соединений часто недостаточна.


Для ее повышения центрирование осуществляют по вспомогательным поверхностям: коническим и цилиндрическим (рис. 21.9).
Расчет шлицевых соединений
Размеры зубьев, аналогично шпонкам, выбирают по таблицам стандартов в зависимости от диаметра вала. Боковые поверхности зубьев испытывают напряжения смятия, а в сечениях у их основания возникают напряжения среза и изгиба (рис. 21.10). Для зубьев стандартного профиля решающее значение имеют напряжения смятия, которые определяют по формуле

где k=0,7¸0,8 – коэффициент, учитывающий неравномерность распределения усилий между зубьями;
z – число зубьев;
h – высота поверхности контакта зубьев;
- для прямобочных зубьев;
h » m – для эвольвентных зубьев;
l – рабочая длина зубьев;
rср – средний радиус поверхности контакта;
- для прямобочных зубьев;
- для эвольвентных зубьев;
m – модуль соединения.
Расчет зубьев на износ
Износ боковых (рабочих) поверхностей зубьев является распространенной причиной выхода из строя шлицов, передающих крутящий момент. Изнашивание зубьев обусловлено неизбежными взаимными циклическими (от вращения) смещениями деталей соединения при действии реальной нагрузки в результате несовпадения или наклона осей, а также вследствие начального (монтажного) перекоса.
Условный расчет на износостойкость соединений с эвольвентными зубьями выполняют по форме определения допустимого угла перекоса.
Если принять, что ось шлицевого вала имеет перекос на угол Dj по отношению к оси шлицевой втулки, то наибольшее взаимное смещение точек зубьев за один оборот составит

где l и dm – соответственно длина и средний диаметр соединения, мм;
Dj - угол перекоса в радианах.
Скорость относительного скольжения (мм/с)
,
удельная мощность трения
,
где n – частота вращения вала (мин-1);
f – коэффициент трения;
sсм – среднее контактное напряжение в соединении при k=1;
,
где [P1] – допускаемая мощность трения, Н мм/(мм2с);
[P1]=0,3HRC – при граничной смазке;
[P1]= 0,5HRC – при полужидкой смазке.
Для валов диаметром 10¸50 мм [Dj]=10'.
Для соединений допускающих относительное проскальзывание [Dj]=40'.
Эффективными средствами повышения износостойкости являются:
Вместе с этой лекцией читают "9 Подведомственность гражданских дел".
1) уменьшение углов перекоса;
2) увеличение твердости контактирующих поверхностей путем азотирования, цементации, обдувки дробью;
2) уменьшение зазоров в шлицевом соединении, применение более плотных посадок, центрирование по вспомогательным поверхностям и затяжка соединений;
3) применение бочкообразных зубьев;
4) подача смазки в зону контакта;
5) снижение коэффициента трения путем покрытий (серебром, медью, кадмием, молибденом).






















