Червячные передачи
Лекция №9
Червячные передачи
Общая характеристика
Представление о работе червячной передачи можно получить, рассматривая кинематику резьбовой пары. Рассмотрим винт с трапецеидальной резьбой и сцепляющийся с ним сегмент гайки (рис 9.1).
. При вращении винта сегмент гайки будет совершать поступательное движение в направляющих. Если взять сегмент гайки достаточно большой длины и согнуть его в кольцо, то получим зубчатое колесо, сцепляющееся с винтом и при вращении винта совершающее вращательное движение относительно своей оси. Такой механизм и называется червячной передачей (рис 9.2). Винт в ней называется червяком (ч), а колесо – червячным колесом (ч.к.). Движение червячной передачи преобразуется по принципу винтовой пары. В червячной передаче движение передаётся между скрещивающимися осями. Угол перекрещивания практически всегда равен 900. Этот вариант и будет рассматриваться в дальнейшем. Ведущим звеном обычно является червяк, но может быть и червячное колесо.
Червячные передачи по сравнению с зубчатыми передачами обладают следующими достоинствами:
1. Плавность и малошумность в работе;
Рекомендуемые материалы
2. Высокое передаточное отношение;
3. Возможность самоторможения (из-за трения движение от червячного к червяку не передаётся). Это свойство используется в подъёмных механизмах.
Недостатки червячной передачи:
1.
Большие потери на трение, следовательно, большое тепловыделение и необходимость охлаждения;
2. Необходимость применения цветных металлов для снижения трения. Они дороги, следовательно, стоимость передачи высокая;
3. Сложность конструкции и, следовательно, повышенные эксплуатационные расходы. Это обусловлено необходимостью соблюдения высокой точности изготовления и сборки, а также необходимостью регулировки.
Типы червячных передач
Червячные передачи бывают двух типов:
а) цилиндрические (с цилиндрическим червяком) (рис. 9.3, а);
б) глобоидные (с глобоидным червяком) (рис. 9.3, б).
В глобоидных передачах червяк как бы охватывает червячное колесо и увеличивает площадь контакта. При этом растёт нагрузочная способность в 2…4 раза. Технология изготовления этих передач значительно сложнее, поэтому их применение ограничено.
Цилиндрические червячные передачи в зависимости от формы зуба червяка бывают:
а) с архимедовым червяком;
б) с конволютным червяком;
в) с эвольвентным червяком.
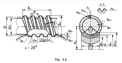
Червяк, торцовым профилем которого является архимедова спираль, называется архимедовым червяком и его обозначают ZA. В осевом сечении он имеет трапецеидальный профиль и представляет собой обычный винт (рис 9.4).
Конволютный червяк (обозначение ZN1) в осевом сечении очерчен выпуклым профилем, в нормальном сечении А-А квинтовой линии – прямолинейный, а в торцовом сечении имеет профиль удлинённой эвольвенты.
Эвольвентный червяк (обозначаютZ1) в осевом сечении также имеет выпуклый профиль, а в торцовом сечении – эвольвентный.

Он представляет собой, по существу, косозубое зубчатое колесо с очень большим углом наклона и малым числом зубьев. Архимедовы червяки имеют стандартный угол профиля a=200 в осевом сечении, конволютные в нормальном, а у эвольвентных – в нормальном сечении косозубой рейки, сцепляющейся с червяком. Нагрузочная способность червяков всех форм приблизительно одинаковая. Архимедов червяк может быть нарезан на обычных токарных и резьбофрезерных станках (не требуется специальных станков), однако шлифование его затруднено, так как необходим круг специального профиля. Поэтому архимедовы червяки широко применяют в передачах, где твёрдость червяка НВ<350. Конволютные червяки используют редко. Для их шлифования также требуется специальное профилирование шлифовального круга. Эвольвентные червяки применяют при необходимости высокой твёрдости (HRС > 45) и малой шероховатости поверхности. Они нарезаются и шлифуются инструментом с плоскими кромками путём обкатки, подобно зубчатым колёсам на специальных станках. Червячные колёса нарезаются червячными фрезами, которые являются копией червяка.
Геометрические параметры червячной передачи
Рассмотрим архимедов червяк со стандартным углом профиля. В червячной передаче, как и в зубчатой передаче, все размеры выражаются через осевой модуль m=P/p, где P – осевой шаг. В червячной передаче стандартизирован осевой модуль m = 1; 1,25; 1,6; 2; 2,5; 3,15; 4; 5; …мм.
Рассмотрим сечение передачи плоскостью, проходящей через ось вращения червяка и перпендикулярно оси вращения колеса. Червяк в сечении будет подобен зубчатой рейке. Воображаемый цилиндр с диаметром, равным среднему диаметру резьбы, на котором ширина впадины равна толщине зуба, будет называться делительным цилиндром червяка
, где q = 8…20 – коэффициент диаметра червяка, принимаемый для обеспечения жёсткости в зависимости от модуля m. В целях уменьшения номенклатуры зубообрабатывающего инструмента регламентируют использование сочетаний параметров m, q и Z1 = 1; 2; 4 – число витков (заходов) червяка. Параметр q можно рассматривать как условное число зубьев червяка. Развернём виток червяка по делительному диаметру (рис. 9.5).
,
гдеg = 5…200 – угол подъёма винтовой линии по делительному диаметру.
Ход червяка
есть перемещение точки на начальном цилиндре в осевом направлении за один оборот червяка.
Число заходов червяка выбирают в зависимости от передаточного отношения
z1 =4 для i =10…18;
z1 =2 для i =18…40;
z1 = 1 для i > 40.
Начальный диаметр червяка
, где x – смещение при нарезании червячного колеса. Диаметр окружности вершин червяка
, где
- коэффициент высоты головки зуба.
Диаметр окружности впадин червяка
, где
- коэффициент высоты ножки зуба;
- коэффициент радиального зазора.
Высота головки зуба червяка
, а высота ножки зуба
.
Длина нарезаемой части червяка
.
Червячное колесо является косозубым с углом b, равным углу наклона линии зуба червякаg.
Делительный диаметр колеса d2=mz2, где z2 – число зубьев колеса.
Высота головки зуба колеса ha2=m, а высота ножки зуба hf2=1,2m.
При нарезании без смещения делительный d2 равен диаметру начальной окружности dw2.
Диаметры вершин червячного колеса da2= d2+2m, а впадин df2= d2-2,4m . Максимальный диаметр выступов колеса dam2 = d2+d1 (1-cosd) ≤ d2+km ,
где коэффициент k =2; 1,5 и 1 при z1=1; 2 и 4 соответственно;
d =400…550- половина угла контакта витка червяка и зуба червячного колеса.
Межосевое расстояние
.
Ширина венца зубчатого колеса b2=(0,6…0,8) da1 .
По условию неподрезания z2min≥28. При нарезании со смещением, для обеспечения заданного межосевого расстояния, возможно z2 < 28, тогда

где
- коэффициент смещения
.
В этом случае da2=(z2+2+2x)m, а df2=(z2 -2,4+2x)m.
Кинематика червячных передач
В червячной передаче, в отличие от зубчатой, окружные скорости не совпадают по направлению, а перпендикулярны друг другу и различны по значению. Поэтому начальные цилиндры передачи в относительном движении скользят и обкатываются, а передаточное отношение не может быть выражено отношением dw2/dw1. Из рис. 9.6 следует, что


Для обеспечения неразрывности контакта Vn1= Vn2, Vn1= V1singw; Vn2= V2cosgw, значит V1singw =V2cosgw;
;
,
где z1 – число заходов червяка.
Так как z1 = 1, 2 или 4, то U весьма велико.
Касательные составляющие в отличие от зубчатых передач направлены в разные стороны, поэтому скорость скольжения VSt= Vt1+Vt2 >> VSt зубчатой передачи, где Vt1= V1cosgw; Vt2= V2singw; V2=V1tggw, тогда

, так как gw<300, V2< V1< VSt . В этом причина большого износа в червячной передаче и пониженного КПД.
Большие скорости скольжения двояко влияют на h и работоспособность передачи. С увеличением VS при достаточной смазке происходит переход от полужидкостного трения к жидкостному и улучшаются условия смазки. Но с другой стороны, при чрезмерном увеличении VS возрастает t0 в контакте, возникает заедание и повышенный износ.
Усилия в червячной передаче
При определении сил полагают, что главный вектор Fn (рис. 9.7) контактных давлений направлен по линии зацепления. Окружная сила Ft1 на червяке будет осевой силой Fa2 для колеса, а окружная сила Ft2 на колесе – осевой силой Fa1 для червяка.


;
![]() |
Все силы принято выражать через Ft2.

т.к. j'<300 – угол трения обычно мал и им пренебрегают, так как cosj' »1, cos(g+j') » cosg. Учитывая, что в нормальном сечении an » a, то
.
К.П.Д. червячной передачи
К.П.Д. червячной передачи определяется потерями в зацеплении, в подшипниках на перемешивание и разбрызгивание масла

где
;
.


;
;
Бесплатная лекция: "5 Операционная система Linux" также доступна.
,
где tgj' = f – коэффициент трения в витках червяка. Он зависит от скорости скольжения, а также от нормальной силы в контакте. Поэтому h строго зависит от нагрузки.
С увеличением z1 возрастаетh, так как увеличивается g и уменьшается f. Так как f зависит от обработки поверхностей (рис. 9.8), то шероховатость рабочей поверхности червяка имеет значения Ra=1…1,25 мкм.
h = 0,7…0,75 при z1=1;
h = 0,75…0,82 при z1=2;
h = 0,87…0,92 при z1=4.




















