Механические автоматические регуляторы частоты вращения
4 механические автоматические регуляторы частоты вращения
Автоматическим регулятором называется прибор, обеспечивающий автоматическое поддержание заданного значения регулируемого параметра двигателя с заданной точностью.
Элемент автоматического регулятора, измеряющий отклонение какого-либо регулируемого параметра двигателя от его значения в заданном режиме работы, называется чувствительным элементом. Если чувствительный элемент системой соединительных элементов непосредственно связан с органом управления двигателем, то регулятор называется регулятором прямого действия.
Автоматические регуляторы прямого действия в зависимости от типа чувствительного элемента можно подразделять на механические, пневматические, гидравлические и электрические (см. Главу 5). Каждый из этих регуляторов в зависимости от числа регулируемых режимов может быть однорежимным (прецизионным или предельным), двухрежимным или всережимным.
В автомобильных двигателях применяются также автоматические регуляторы непрямого действия. Такие регуляторы, кроме чувствительного элемента, содержат усилительный и вспомогательные элементы. Основными признаками классификации таких регуляторов являются регулируемый параметр и тип примененной обратной связи.
Ниже даны сведения о чувствительных элементах механических регуляторов, понятия об основных характеристиках, и представлены схематичные описания принципов работы регуляторов различных типов.
4.1 Чувствительные элементы и основные характеристики
Чувствительные элементы. Механические чувствительные элементы состоят из вращающихся грузов 2 (рис. 4.1), которые шарнирно укреплены на траверсе 7, кинематически связанной с коленчатым валом двигателя . Грузы лапками 5 опираются на муфту 8 через подшипник. Центробежные силы грузов 2 воспринимаются пружиной (пружинами) 3. Грузы механических чувствительных элементов имеют различные формы в зависимости от требуемой массы и размеров внутренней полости регуляторов.
Рекомендуемые материалы

Рис. 4.1 Схема механического чувствительного элемента (предельный регулятор). 1 – опорная тарелка; 2 – груз; 3 – пружина соосная с муфтой; 4 – ось поворота груза; 5 – лапка; 6 – валик регулятора; 7 – траверса; 8 – муфта; 9 – пружина; 10 - рычаг
Восстанавливающая сила. Восстанавливающей называется приведенная к оси движения муфты сила, направленная на восстановление положения муфты при невращающихся грузах. Такая сила создается в основном пружиной чувствительного элемента. Силы тяжести грузов, рычагов и муфты существенно меньше усилия пружины, поэтому в первом приближении ими можно пренебречь. При перемещении муфты 8 (рис. 4.1) на δz восстанавливающая сила Е равна силе упругости FA пружины 3. Если пружина не соосна с муфтой (например, пружина 9), то из условия равенства работ Eδz = FB∙δyB получим для восстанавливающей силы Е = FB (δyB/δz).
Регуляторы прямого действия часто являются всережимными, причем всережимность обеспечивается изменением в процессе работы предварительной деформации пружины с помощью перемещения опорной тарелки 1 пружины 3 или точки С пружины 9. У таких всережимных механических чувствительных элементов деформация пружины в процессе работы складывается из предварительной деформации ∆ψ, устанавливаемой обслуживающим персоналом путем выбора положений тарелки 1 или точки С, и ∆d - текущей деформации пружины, вызываемой перестановкой муфты. Например, усилие пружины 9 в этом случае определяется по формуле:
FB = b (∆ψ + ∆d) (4.1)
где b - жесткость пружины. Тогда восстанавливающая сила будет:
Е = b (∆ψ + ∆d) (δув/δz) = ипb (∆ψ + ∆d), (4.2)
где ип = δyв/δz — передаточное отношение механизма, связывающего муфту с пружиной (рычагом ОВ). Текущая деформация пружины 9 связана с перемещением муфты соотношением ∆d = un∆z, поэтому
Е = E0 + bпр∆z (4.3)
где Е0 = unb∆ψ -начальное значение восстанавливающей силы, определяемое предварительной деформацией пружины; bnp = unb - приведенная к муфте жесткость пружины.
Выбор нескольких предварительных деформаций ∆ψi пружины позволяет определить набор характеристик E = f(ψ, z) всережимного, чувствительного элемента (рис. 4.2).
Поддерживающая сила. В процессе работы регулятора появляются силы, которые перемещают муфту и в зависимости от значения регулируемого, параметра удерживают ее в некоторых промежуточных равновесных положениях. Приведенная к муфте сила, которая удерживает муфту в промежуточном положении равновесия, называется поддерживающей. Эта сила в механических чувствительных элементах является приведенной к муфте центробежной силой грузов.
Если r - расстояние от центра тяжести груза до оси вращения, тг - масса груза и ωр - угловая скорость груза, то его центробежная сила (см. рис. 4.1)
(4.4)
Преодолевая восстанавливающую силу Е, центробежные силы перемещают муфту чувствительного элемента вверх на δz, причем сами грузы удаляются от оси вращения по радиусу на расстояние δr. Воздействие центробежных сил Рv грузов на муфту можно заменить одной поддерживающей силой
, приложенной к муфте и действующей по оси ее движения. Значение этой силы определяют из условия равенства работ центробежных сил грузов, перемещающихся в направлении действия силы Рv на δr, и искомой силы, перемещающейся на δz:
(4.5)
где iг - число грузов чувствительного элемента;
- коэффициент поддерживающей силы.
Как видно коэффициент А зависит от положения муфты, т. е.
. Путем умножения каждого значения А на
= const можно получить сетку характеристики поддерживающей силы
при ряде ωр = const (рис 4.2). В некоторых случаях поддерживающая сила приводится к центру массы груза; тогда она обозначается
. Условие равенства работ
показывает, что
, т.е. характеристика
является прямой.
Статические характеристики механического чувствительного элемента. При работающем чувствительном элементе (ωр ≠ 0) его поддерживающая сила
, преодолев восстанавливающую силу Е, удерживает муфту в некотором равновесном (установившемся) положении zо, определяемом условием:
(4.6)
Это условие называется уравнением статического равновесия муфты. С помощью таких уравнений определяют равновесные положения муфты zо в зависимости от значения регулируемого параметра ωр и строят статические характеристики (равновесные кривые) ωр = f(z) чувствительного элемента (или регулятора прямого действия). Для их построения необходимо зависимости Е = f(z) и
= f(z) при ωр = const совместить на одном графике (рис. 4.2) и определить равновесные положения муфты zoi в виде абсцисс точек пересечения характеристик при известных значениях ωрi = const.
![]() |
Рис. 4.2 Определение равновесных положений муфты zoi при различных угловых скоростях ωрi по характеристикам сил: ― поддерживающей; - - - восстанавливающей; ● – точки равновесия (E02, ωpi); z2i – равновесное положение муфты в точках равновесия.
Это позволит найти связь между равновесными положениями zoi муфты и соответствующими угловым скоростям ωрi и, следовательно, построить набор равновесных кривых чувствительного элемента ωр= f(z).
Фактор устойчивости регулятора. В процессе работы регулятора могут появиться импульсы сил, вызывающие отклонения муфты от положения равновесия. При таком восстанавливающая сила E оказывается меньше поддерживающей силы
, в результате чего создается избыточная сила
Р = (
) - Е > 0 (4.7)
возвращающая муфту в исходное положение (по аналогии с фактором устойчивости двигателя, см. формулу (1.5). При отклонении муфты в противоположном направлении восстанавливающая сила Е становится больше поддерживающей
, в результате чего избыточная сила
Р = (
) - Е < 0 (4.8)
также стремится восстановить нарушенное положение равновесия. Несложно получить, что фактор устойчивости определяется по формуле:
(4.9)
Положительное значение Fp, соответствует устойчивому положению равновесия муфты и чем больше Fp, тем выше устойчивость. При отрицательном значении Fp, положение равновесия является неустойчивым. Случай Fp = 0 свидетельствует о том, что характеристики
= f(z) и Е = f(z) совпадают, и положение равновесия муфты является неопределенным. Такой регулятор называется астатическим.
Степень неравномерности. Регулятор ставится на двигатель для того, чтобы ограничить его обороты (и уменьшить подачу топлива) при сбросе нагрузки от полной до холостого хода. Тем не менее, число оборотов двигателя (следовательно, и регулятора) будет увеличиваться от
до
(двигатель) и от
до
(регулятор), так как вал регулятора кинематически жестко связан с валом двигателя. В результате образуется так называемая регуляторная характеристика и регулятор должен устойчиво работать, по крайней мере, в диапазоне [
…
], подчиняясь условию статического равновесия. В этой связи важной характеристикой регулятора является степень неравномерности, определяемая по формуле:
(4.10)
Отметим, что эта величина связана с фактором устойчивости по соотношению:
(4.11)
если предположить, что регуляторная характеристика является прямой линией.
Степень нечувствительности. Для перемещения рейки топливного насоса на нее нужно воздействовать некоторой силой. Обозначим эту силу, приведенную к оси движения муфты регулятора, через f. Так как сила f всегда направлена в сторону, противоположную направлению перемещения муфты, то в уравнение равновесия (4.6) она должна быть включена с двойным алгебраическим знаком:
(4.12)
Из этого уравнения можно найти два предельных значения угловой скорости:
(4.13)
соответствующих одному и тому же положению муфты:
- при увеличении угловой скорости грузов, а
- при ее уменьшении. При наличии силы f в интервале угловых скоростей
-
чувствительный элемент не реагирует на изменение угловой скорости валика регулятора, поэтому указанный интервал угловых скоростей называется областью нечувствительности, регулятора.
Для характеристики нечувствительности регулятора введено понятие степени нечувствительности:
(4.14)
Подстановка сюда выражений (4.12) с учетом того, что f << Е, приводит к отношению
или в соответствии с уравнением (4.6):
(4.15)
Из формулы (4.15) следует, что с уменьшением угловой скорости грузов регулятора его степень нечувствительности увеличивается, так как значения поддерживающей и восстанавливающей сил при этом уменьшаются.
4.2 Автоматические механические регуляторы прямого действия
Предельные регуляторы. Регуляторы такого типа включаются в работу только при превышении двигателем номинального скоростного режима. Для этого пружина 3 регулятора (см. рис. 4.1) устанавливается с такой предварительной деформацией, которая обеспечивает преодоление поддерживающей силы грузов 2 на всех скоростных режимах до номинального включительно (точка А на рис. 4.3).
При достижении угловой скорости ωпред в точке С усилие пружины 3 (см. рис. 4.1) уравновешивается центробежными силами грузов 2, и при дальнейшем увеличении ω муфта 8 перемещается вверх, а рейка топливного насоса - в сторону выключения подачи топлива. Крутящий момент двигателя при этом уменьшается в соответствии с регуляторными характеристиками 5, 6 и т. д. (рис. 4.3,б). При угловой скорости вала, меньшей ωпред, двигатель работает при ручном управлении, т.е. практически без регулятора. При необходимости сменить частичную скоростную характеристику двигателя и, следовательно, скоростной режим необходимо воздействовать непосредственно на рейку топливного насоса, т. е. перемещать, например, точку 0 на рис. 4.1.
Прецизионные регуляторы прямого действия. Прецизионными называются такие однорежимные регуляторы, которые снабжены приспособлениями, позволяющими увеличивать точность поддержания заданного скоростного режима. Работа такого регулятора начинается при ω < ωном (точка D на рис. 4.3), при которой
. Дальнейшее увеличение ωр приводит к образованию регуляторной характеристики (штриховая линия на рис. 4.3,б) с малой степенью неравномерности, так как пружина 4 (рис. 4.4) имеет незначительную жесткость. При такой пружине регулятор с повышенной точностью (прецизионно) поддерживает заданный (номинальный) скоростной режим при всех нагрузках. Однако при уменьшении жесткости пружины регулятора снижается устойчивость его работы (уменьшается значение dE/dz в формуле (4.9) и, следовательно, значение Fр).
Для обеспечения устойчивой .работы регулятора его конструкция дополняется упруго присоединенным катарактом 11 с пружиной 9. При перемещении точки А влево поршень 10 отстает, пружина 9 растягивается, и ее усилие суммируется с усилием пружины 4, суммарная жесткость увеличивается, вследствие чего увеличиваются dE/dz и значение Fр, и регулятор работает устойчиво.

Рис. 4.3. Характеристика регулятора и двигателя на предельном и прецизионном регуляторах: а - регулятора (1 … 8 -
; 9 – E = f(z); при предельном регуляторе; 10 - E = f(z) при прецизионном регуляторе); б – двигателя (1 – внешняя скоростная; 2…4 –частичные скоростные; 5…9 – регуляторные) 10 - потребителя
|
|
Рис. 4.4 Схема прецизионного регулятора: 1,8 – тяги; 2,7 – рычаги; 3 – тарелка; 4,9 – пружины; 5 – муфта; 6 – груз; 10 – поршень; 11 – катаракт; 12 – игла; 13 – топливный насос; 14 – рейка; 15 - траверса; 16 – кулачковый валик.
Всережимные регуляторы прямого действия. В автомобильных двигателях часто используются всережимные механические регуляторы прямого действия двух типов: с переменной предварительной деформацией пружин (рис. 4.5) и с постоянной предварительной деформацией пружин
Возможность изменять предварительную деформацию пружин в процессе работы создает всережимность регулирования. Так, предварительная деформация пружины, создающая усилие Ео1 дает статическую характеристику 8 восстанавливающей силы (рис. 4.6,а), предварительная деформация с усилием Е02 - характеристику 10 и т. д. Каждой из таких статических характеристик соответствует своя равновесная кривая и, следовательно, своя регуляторная характеристика 2, 3, 4 и др. на рис. 4.6,б. В частности, характеристика 2 на рис. 4.6, б соответствует характеристике 8 на рис. 4.6, а и т. д.

Рис. 4.5 Всережимный механический регулятор прямого действия:
1, 11 – рычаги; 2 – маслоподводящий щиток; 3 – винт регулировки степени неравномерности; 4 – хомутик; 5 – пружина; 6 – планка; 7 – чашка; 8 – пробка; 9, 10 – тяги к рейки топливного насоса; 12 – упор; 13 – коническая тарелка; 14 – груз; 15 – траверса; 16 – упорный диск; 17 - муфта
В схеме 4.5 усилие, развиваемое чувствительным элементом, через упорный диск 16. муфту 17 и рычаг 1 передается пружине 5, работающей на растяжение. Верхний конец рычага 1 тягами 9 и 10 соединен с рейкой топливного насоса.


Рис. 4.6 Характеристики регулятора и двигателя при всережимном регулировании:
а) регулятора (1…7 -
; 8…11 – E = f(z) регулятора с переменной предварительной деформацией пружин; 12 – E = f(z) регулятора с постоянной предварительной деформацией пружин); б) двигателя (1 – внешняя скоростная характеристика; 2…6 – регуляторные характеристики; 8 – регуляторная характеристика холостого хода; 9 – номинальная характеристика нагрузки; 10 –характеристика нагрузки холостого хода)
При повороте рычага управления 11 в крайне левое положение (до левого упора) установится минимальная предварительная деформация пружины 5 с усилием Ео1, уравновешивающим центробежную силу грузов при ωmin; в связи с этим при увеличении ω пружина 5 растягивается (характеристика 8 на Рис. 4.6,а) и рейка перемещается в сторону уменьшения подачи топлива (регуляторная характеристика 2 на Рис. 4.6,б). При желании увеличить скоростной режим рычаг 11 (см. Рис. 4.5) поворачивают вправо. При крайне правом положении рычага 11 (правый упор ) предварительная деформация пружины оказывается максимальной, рассчитанной так, что растяжение ее (характеристика 11 на Рис. 4.6,а) под действием центробежных сил начнется только при достижении номинального скоростного режима (точка С на Рис. 4.6,б).
4.3 Автоматические регуляторы непрямого действия
В тех случаях, когда по условиям работы двигателя регуляторные характеристики могут быть статическими (см. рис. 4.6,б), используют регуляторы с жесткой обратной связью. Если при всех нагрузках необходимо обеспечить точное поддержание заданного скоростного режима, следует использовать изодромные регуляторы с гибкой обратной связью.

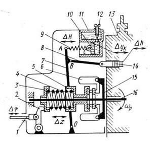
Рис. 4.7 Схема автоматического регулятора непрямого действия с жесткой обратной связью: 1 – приводной валик; 2 – масляный насос ; 3 – масляный аккумулятор; 4 – зубчатое колесо; 5 – сектор изменения предварительной деформации пружины; 6 – опора пружины; 7 – пружина; 8 – груз; 9 – муфта; 10 – траверса; 11 – рычаг жесткой обратной связи; 12 – поршень; 13 – золотник; 14 - шток
Функциональные элементы В большинстве рассматриваемых регуляторов чувствительные элементы являются механическими и представляют собой вращающиеся грузы 8 (рис. 4.7), центробежная сила которых воспринимается пружиной 7 переменной жесткости. При малой угловой скорости грузов вначале деформируются витки большого диаметра, имеющие наименьшую жесткость. После соприкосновения с последующими витками они практически выключаются из работы, вследствие чего деформируются витки меньшего диаметра, имеющие большую жесткость. Постепенное увеличение жесткости пружины чувствительного элемента в соответствии с увеличением угловой скорости грузов обеспечивает возможность получения требуемых значений степени неравномерности в широком диапазоне скоростных режимов двигателя.
|
|
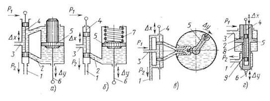
Рис. 4.8 Схемы серводвигателей:
а) с дифференциальным поршнем; б) простого действия; в) с поворотным поршнем; г) со следящим поршнем; 1, 2, 3, 8, 9 – масляные каналы; 4 – золотник; 5 - поршень; 6 – шток; 7 - пружина
Люди также интересуются этой лекцией: Управление хозяйственными обществами.
В качестве усилительных элементов в регуляторах непрямого действия почти исключительное применение получили гидравлические серводвигатели, представляющие собой цилиндр с поршнем 12 и штоком 14, перемещения, которых зависят от подачи в их полости рабочей жидкости (обычно масла). Управление подачей жидкости осуществляет золотник 13, связанный с муфтой чувствительного элемента. Шток 14 кинематически жестко связан с рейками топливных насосов.
При увеличении угловой скорости ωр центробежная сила грузов 8 преодолевает усилие, создаваемое пружиной 7, и перемещает муфту 9 вверх. Верхняя полость серводвигателя при этом соединяется с центральной полостью золотника 13, куда из масляного аккумулятора 3 поступает масло высокого давления р1 ≈ 0,8 МПа. Нижняя полость серводвигателя при этом оказывается связанной со сливным каналом, вследствие чего в нижней полости (под поршнем) устанавливается давление р2 << р1. Если Sп - рабочая площадь поршня серводвигателя, то перепад давлений р1 - р2 в его полостях создает перестановочное усилие Ес = Sn(p1 – р2), используемое для перемещения рейки топливного насоса.
В некоторых регуляторах используется серводвигатель с дифференциальным поршнем 5 (рис. 4.8, а). Поршень находится в покое, если золотник 4 перекрывает проходное сечение канала 2. При смещении золотника 4 вниз верхняя и нижняя полости серводвигателя заполняются маслом при высоком давлении р1. Так как существует разность рабочих площадей поршня Sп1 и Sп2, возникает перестановочное усилие Ес = р1(Sп1 - Sп2), направленное вверх. При смещении золотника 4 вверх нижняя полость серводвигателя каналом 2 соединяется со сливом, и давление в ней понижается до р2. Вследствие этого на поршень серводвигателя будет действовать сила Ес = р1 Sп1 - р2 Sп2, направленная вниз.
В серводвигателях простого действия (рис. 4.8, б) масло подводится только в нижнюю полость серводвигателя, а верхнюю его полость занимает пружина 7. Перестановочное усилие Ес, направленное вверх, возникает при смещении золотника 4 вниз; при этом Ес = p1Sn - by, где b - жесткость пружины; у - ее деформация. При смещении золотника 4 вверх нижняя полость соединяется со сливом (давление р2), поэтому появляется усилие Ес = by – p2Sn, направленное вниз. В некоторых случаях удобно использовать серводвигатели с поворотным поршнем (рис. 4.8, в) или золотник, соосный с движением поршня (рис. 4.8, г).
Золотник 4, выполняющий функции органа управления серводвигателем, в своем движении связан с муфтой чувствительного элемента через систему соединительных элементов (. Рис 4.7).
Для повышения чувствительности регулятора применяют специальные меры, уменьшающие силу трения золотника. Наиболее эффективным методом является вращение золотника или его .втулки при работе регулятора

























