Шифраторы и дешифраторы
ШИФРАТОРЫ/ДЕШИФРАТОРЫ
Шифраторы.
Шифратор, (называемый так же кодером) - устройство, осуществляющее преобразование десятичных чисел в двоичную систему счисления. Пусть в шифраторе имеется m входов, последовательно пронумерованных десятичными числами (0, 1, 2, 3, ..., m - 1), и n выходов. Подача сигнала на один из входов приводит к появлению на выходах n- разрядного двоичного числа, соответствующего номеру возбужденного входа.

рис 5.17



рис 5.18
Очевидно, трудно строить шифраторы с очень большим числом входов m, поэтому они используются для преобразования в двоичную систему счисления относительно небольших десятичных чисел. Преобразование больших десятичных чисел осуществляется методами, приведенными в справочнике "Системы счисления"
Рекомендуемые материалы
Шифраторы широко используются в разнообразных устройствах ввода информации в цифровые системы. Такие устройства могут снабжаться клавиатурой, каждая клавиша которой связана с определенным входом шифратора. При нажатии выбранной клавиши подается сигнал на определенный вход шифратора, и на его выходе возникает двоичное число, соответствующее выгравированному на клавише символу.
| Таблица 5.5 | ||||
| Десятичное | Двоичный код 8421 | |||
| x8 | x4 | x2 | x1 | |
| 0 | 0 | 0 | 0 | 0 |
| 1 | 0 | 0 | 0 | 1 |
| 2 | 0 | 0 | 1 | 0 |
| 3 | 0 | 0 | 1 | 1 |
| 4 | 0 | 1 | 0 | 0 |
| 5 | 0 | 1 | 0 | 1 |
| 6 | 0 | 1 | 1 | 0 |
| 7 | 0 | 1 | 1 | 1 |
| 8 | 1 | 0 | 0 | 0 |
| 9 | 1 | 0 | 0 | 1 |
| Таблица 5.6 | ||||
| Входной код 8421 | Номер | |||
| x8 | x4 | x2 | x1 | |
| 0 | 0 | 0 | 0 | 0 |
| 0 | 0 | 0 | 1 | 1 |
| 0 | 0 | 1 | 0 | 2 |
| 0 | 0 | 1 | 1 | 3 |
| 0 | 1 | 0 | 0 | 4 |
| 0 | 1 | 0 | 1 | 5 |
| 0 | 1 | 1 | 0 | 6 |
| 0 | 1 | 1 | 1 | 7 |
| 1 | 0 | 0 | 0 | 8 |
| 1 | 0 | 0 | 1 | 9 |
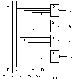
На рис. 5.17 приведено символическое изображение шифратора, преобразующего десятичные числа 0, 1, 2, ..., 9 в двоичное представление в коде 8421. Символ CD образован из букв, входящих в английское слово CODER. Слева показано 10 входов, обозначенных десятичными цифрами 0, 1, ..., 9. Справа показаны выходы шифратора: цифрами 1, 2, 4, 8 обозначены весовые коэффициенты двоичных разрядов, соответствующих отдельным выходам.
Из приведенного в табл. 5.5 соответствия десятичного и двоичного кодов следует, что переменная x1 на выходной шине 1 имеет уровень лог. 1, если имеет этот уровень одна из входных переменных y1, у3, у5, у7, у9. Следовательно, x1 = yl / y3 / y5 / y7 / y9.
Для остальных выходов x2 = y2 / y3 / y6 / y7; x4 = y4 / y5 / y6 / y7; x8 = y8 / y9.
Этой системе логических выражений соответствует схема на рис. 5.18,а. На рис. 5.18,б изображена схема шифратора на элементах ИЛИ-НЕ.

Шифратор построен в соответствии со следующими выражениями:
При этом шифратор имеет инверсные выходы.

При выполнении шифратора на элементах И-НЕ следует пользоваться следующей системой логических выражений:
В этом случае предусмотрена подача на входы инверсных значений, т. е. для получения на выходе двоичного представления некоторой десятичной цифры необходимо на соответствующий вход подать лог. 0, а на остальные входы - лог.1. Схема шифратора, выполненная на элементах И-НЕ, приведена на рис. 5.18,в.
Изложенным способом могут быть построены шифраторы, выполняющие преобразование десятичных чисел в двоичное представление с использованием любого двоичного кода,
Дешифраторы.
Для обратного преобразования двоичных чисел в небольшие по значению десятичные числа используются дешифраторы (называемые также декодерами). Входы дешифратора предназначаются для подачи двоичных чисел, выходы последовательно нумеруются десятичными числами. При подаче на входы двоичного числа появляется сигнал на определенном выходе, номер которого соответствует входному числу.
Дешифраторы имеют широкое применение. В частности, они используются в устройствах, печатающих на бумаге выводимые из цифрового устройства числа или текст. В таких устройствах двоичное число, поступая на вход дешифратора, вызывает появление сигнала на определенном его выходе. С помощью этого сигнала производится печать символа, соответствующего входному двоичному числу.
На рис. 5.19,а приведено символическое изображение дешифратора. Символ DС образован из букв английского слова DECODER. Слева показаны входы, на которых отмечены весовые коэффициенты двоичного кода. Справа - выходы, пронумерованные десятичными числами, соответствующими отдельным комбинациям входного двоичного кода. На каждом выходе образуется уровень лог. 1 при строго определенной комбинации входного кода.
Дешифратор может иметь парафазные входы для подачи наряду с входными переменными их инверсий, как показано на рис. 5.19,б.
По способу построения различают линейные и прямоугольные дешифраторы.
Линейный дешифратор.
Рассмотрим построение дешифратора, осуществляющего преобразование, заданное табл. 5.6.
|
| |
| (5.22) | (5.23) |
Значения выходных переменных определяются следующими логическими выражениями:
В линейном дешифраторе выходные переменные формируются по (5.22) либо (5.23). При выполнении дешифратора на элементах И-НЕ пользуются (5.23), получая инверсии выходных функций. В этом случае каждой комбинации входного кода будет соответствовать уровень лог. 0 на строго определенном выходе, на остальных выходах устанавливается уровень лог. 1. На рис. 5.20 показана структура дешифратора, построенного на элементах И-НЕ, и его изображение в схемах. Структура имеет особенности, характерные для дешифраторов в интегральном исполнении:
для уменьшения числа входов формирование инверсий входных переменных осуществляется в самом дешифраторе;



рис 5.20

рис 5.21
подключенные непосредственно ко входам дополнительные инверторы уменьшают нагрузку со стороны дешифратора на его входные цепи.
Дешифратор с 16 выходами для дешифрирования всех возможных комбинаций четырехразрядного двоичного кода 8421 можно построить из двух рассмотренных дешифраторов с 10 выходами. На рис. 5.21 показана структура такого дешифратора. В каждом из дешифраторов используется по 8 выходов, которые и образуют требуемые 16 выходов (y0, y1, ..., y15).

рис 5.22
Прямоугольный дешифратор.
Рассмотрим принцип построения прямоугольного дешифратора на примере дешифратора с 4 входами и 16 выходами.

Разобьем входные переменные x8, x4, x2, x1 на две группы по две переменные в каждой: x8, x4, и x2, x1. Каждую пару переменных используем в качестве входных переменных отдельного линейного дешифратора на четыре выхода, как показано на рис. 5.22,а. Выходные переменные линейных дешифраторов определяются следующими логическими выражениями:
Эти дешифраторы выполняют функции первой ступени дешифратора.

Выходные переменные y0, y1, ..., y15 прямоугольного дешифратора можно представить логическими выражениями, используя в них в качестве аргументов выходные переменные y'0, ..., y'3 и y''0, ..., y''3 линейных дешифраторов:
Эти логические операции выполняются в отдельном дешифраторе второй ступени, называемом матричным и состоящим из двух - входовых элементов. На рис. 5.22,б показано условное изображение матричного дешифратора, где помеченные десятичными числами две группы входов служат для подключения к выходам двух предварительных ступеней дешифрации. На рис. 5.22,в представлена структура прямоугольного дешифратора с использованием символов линейного и матричного дешифраторов.
Могут быть построены прямоугольные дешифраторы с числом ступеней, большим двух.
Применение прямоугольного дешифратора может оказаться более выгодным, чем использование линейного дешифратора, в тех случаях, когда велико число входов и нежелательно использование требующихся для построения линейного дешифратора элементов с большим числом входов. Однако прохождение сигналов последовательно через несколько ступеней в прямоугольном дешифраторе приводит к большей задержке распространения сигнала в нем.
| Таблица 5.7 | |||||||
| Код 8421 | Код 2421 | ||||||
| x4 | x3 | x2 | x1 | y4 | y3 | y2 | y1 |
| 0 | 0 | 0 | 0 | 0 | 0 | 0 | 0 |
| 0 | 0 | 0 | 1 | 0 | 0 | 0 | 1 |
| 0 | 0 | 1 | 0 | 0 | 0 | 1 | 0 |
| 0 | 0 | 1 | 1 | 0 | 0 | 1 | 1 |
| 0 | 1 | 0 | 0 | 0 | 1 | 0 | 0 |
| 0 | 1 | 0 | 1 | 1 | 0 | 1 | 1 |
| 0 | 1 | 1 | 0 | 1 | 1 | 0 | 0 |
| 0 | 1 | 1 | 1 | 1 | 1 | 0 | 1 |
| 1 | 0 | 0 | 0 | 1 | 1 | 1 | 0 |
| 1 | 0 | 0 | 1 | 1 | 1 | 1 | 1 |
Преобразователи кодов
В цифровых устройствах часто возникает необходимость преобразования числовой информации из одной двоичной системы в другую (из одного двоичного кода в другой). Примером такого преобразования может служить преобразование чисел из двоичного кода 8421, в котором выполняются арифметические операции, в двоичный код 2 из 5 для передачи по линии связи. Эта задача выполняется устройствами, называемыми преобразователями кодов. Для преобразования кодов можно пользоваться двумя методами:
основанным на преобразовании исходного двоичного кода в десятичный и последующем преобразовании десятичного представления в требуемый двоичный код;
основанным на использовании логического устройства комбинационного типа, непосредственно реализующего данное преобразование.
Первый метод структурно реализуется соединением дешифратора и шифратора и удобен в случаях, когда можно использовать стандартные дешифраторы и шифраторы в интегральном исполнении.
Рассмотрим подробнее второй метод на конкретных примерах преобразования двоичных кодов.
Преобразование кода 8421 в код 2421.
Обозначим переменные, соответствующие отдельным, разрядам кода 8421, x4, x3, x2, x1, то же для кода 2421 y4, y3, y2, y1. В табл. 5.7 приведено соответствие комбинаций обоих кодов.
Каждая из переменных y4, y3, y2, y1 может рассматриваться функцией аргументов x4, x3, x2, x1 и, следовательно, может быть представлена через эти аргументы соответствующим логическим выражением. Для получения указанных логических выражений представим переменные y4, y3, y2, y1 таблицами истинности в форме таблицы Вейча (рис 5.24.1).
|
| |
| рис 5.23 | рис 5.24 |
|
|
рис 5.24.1
Получим минимальную форму логических выражений, представленных через операции И, ИЛИ, НЕ и через операцию И-НЕ:

На рис. 5.23 приведена логическая структура преобразователя кодов, построенная на элементах И-НЕ с использованием полученных логических выражений.
Преобразование кода 2421 в код 8421.
Для реализации данного преобразования (обратного по отношению к рассмотренному выше) требуется получить логические выражения для переменных x4, x3, x2, x1, используя в качестве аргументов переменные y4, y3, y2, y1.
|
рис 5.24.2 |
Таблицы Вейча для переменных x4, x3, x2, x1 представлены на рис. 5.24.2. Логические выражения для переменных x4, x3, x2, x1:

Логическая структура преобразователя приведена на рис. 5.24.
Преобразователь для цифровой индикации.
Один из способов цифровой индикации состоит в следующем.
| Таблица 5.10 | |||||||||||
| Десятичная | Двоичный код 8421 | Состояние элементов (z1, ..., z7) и | |||||||||
| x4 | x3 | x2 | x1 |
|
|
|
|
|
|
| |
| y1 | y2 | y3 | y4 | y5 | y6 | y7 | |||||
| 0 | 0 | 0 | 0 | 0 | 0 | 0 | 0 | 0 | 0 | 0 | 1 |
| 1 | 0 | 0 | 0 | 1 | 1 | 0 | 0 | 1 | 1 | 1 | 1 |
| 2 | 0 | 0 | 1 | 0 | 0 | 0 | 1 | 0 | 0 | 1 | 0 |
| 3 | 0 | 0 | 1 | 1 | 0 | 0 | 0 | 0 | 1 | 1 | 0 |
| 4 | 0 | 1 | 0 | 0 | 1 | 0 | 0 | 1 | 1 | 0 | 0 |
| 5 | 0 | 1 | 0 | 1 | 0 | 1 | 0 | 0 | 1 | 0 | 0 |
| 6 | 0 | 1 | 1 | 0 | 0 | 1 | 0 | 0 | 0 | 0 | 0 |
| 7 | 0 | 1 | 1 | 1 | 0 | 0 | 0 | 1 | 1 | 1 | 1 |
| 8 | 1 | 0 | 0 | 0 | 0 | 0 | 0 | 0 | 0 | 0 | 0 |
| 9 | 1 | 0 | 0 | 1 | 0 | 0 | 0 | 0 | 1 | 0 | 0 |
Имеется семь элементов, расположенных так, как показано на рис. 5.25,а. Каждый элемент может светиться либо не светиться, в зависимости от значения соответствующей логической переменной, управляющей его свечением. Вызывая свечение элементов в определенных комбинациях, можно получить изображение десятичных цифр 0, 1, 9 (рис. 5.25.б).
Десятичные цифры, отображение которых необходимо вызвать, задаются обычно в двоичном коде. При этом возникает задача формирования логических переменных y1, y2, ..., y7 для управления отдельными элементами в устройстве индикации. Таблица истинности для этих переменных представлена в табл.5.10.

рис 5.25
При построении таблицы были приняты следующие условия: если элемент индикатора светится, то это означает, что он находится в состоянии лог. 1, если погашен, то он находится в состоянии лог. 0; управление элементом осуществляется таким образом, что высокий уровень лог. 1 на некотором входе индикатора вызывает гашение соответствующего элемента (т. е. чтобы i-й элемент был погашен и zi = 0, необходимо подать на 1-й вход индикатора управляющий сигнал yi = l). Таким образом, yi =
i. Например, для высвечивания цифры 0 необходимо погасить 7-й элемент (z7=0), оставив остальные элементы в состоянии свечения; следовательно, при этом управляющий сигнал y7 = l, остальные управляющие сигналы yl, ..., y6 должны иметь уровень лог. 0.
|
|
рис 5.26
Формирование управляющих сигналов производится логическим устройством, для синтеза которого на рис. 5.26 построены таблицы истинности в форме таблиц Вейча отдельно для каждой переменной yl, ..., y7. Синтезируемое устройство является устройством с несколькими выходами и для получения минимальной схемы необходимо в таблицах Вейча построить минимальное число областей, обеспечивающих покрытие клеток, содержащих 1, во всех семи таблицах. Построение этих областей имеет следующие особенности. В таблицах переменных у5 и y6 использованы области 1 и V, которые используются в таблицах других переменных. Если вместо этих областей в таблицах переменных у5 и y6 построить области с большим охватом клеток, это вызовет увеличение общего количества областей и, следовательно, увеличится количество логических элементов, требуемых для формирования соответствующих им логических выражений. Выделенным областям соответствуют следующие логические выражения:

Теперь нетрудно записать логические выражения для выходных величин yl, ..., y7:

Построенная в соответствии с этими выражениями схема преобразователя приведена на рис. 5.25,в.
| Таблица 5.12 | |||
| Тип логического элемента | Число элементов в корпусе микросхемы | Число элементов в преобразователе | Число корпусов микросхем |
| Инверторы | 6 | 6 | 1 |
| Двухвходовые элементы И-НЕ | 4 | 5 | 5/4 |
| Трехвходовые элементы И-НЕ | 3 | 8 | 8/3 |
| Четырехвходовые элементы И-НЕ | Информация в лекции "11 - Эндогенные геологические процессы" поможет Вам. 2 | 1 | 1/2 |
| Общее количество корпусов микросхем | 5 5 /12 |
Определим количество микросхем, необходимых для построения преобразователя. При этом следует учитывать, что в корпусе выпускаемых промышленностью микросхем может содержаться несколько логических элементов. В табл. 12 приведен расчет количества корпусов микросхем.







1



















