Отделка бумаги
4.8. Отделка бумаги
1) Машинная отделка
После сушки бумажное полотно проходит 1–2 холодильных цилиндра (при этом происходит – снижение температуры полотна, что предотвращает термодеструкцию бумаги; увлажнение полотна, что положительно влияет на каландрирование и снижает электризацию бумаги) и машинный каландр.

Рис. 142 – Шестивальный машинный каландр
Машинный каландр (рис.142) состоит из 2–10 металлических валов, нижний из которых приводной. Давление достигает 60–100 кг/см (линейное). При каландрировании бумага подвергается постепенно возрастающему механическому давлению металлических валов. В результате происходит уменьшение и выравнивание толщины полотна по всей его ширине, а также повышение его гладкости, лоска (блеска) и плотности. После каландрирования бумаги из грубых волокон древесной массы возможно снижение ее прочности, а для бумаги из хорошо размолотых волокон целлюлозы – происходит повышение прочности. В случае каландрирования пересушенного полотна или с неравномерной влажностью его возможны частые разрывы его. С повышением влажности полотна перед каландрированием оно становится более эластичным и лучше обрабатывается. Однако при чрезмерной влажности качество полотна снижается. Ранее устанавливались многовальные каландры, что приводило к повышению обрывности полотна и удорожанию продукции. Кроме того, все валы требуют тщательной балансировки и перешлифовки (из-за большой нагруженности валов), что вызывает увеличение времени простоя машины. Поэтому в настоящее время применяются каландры с небольшим числом валов, однако вместо обычных в них используются валы с регулируемым прогибом (давление до 200 кН/м) – рис. 143..

Рис. 143 – Пример двухвального каландра
Рекомендуемые материалы
Каландр состоит из двух валов. Один вал - чугунный имеет, например, 16 опорных элементов для регулирования режима каландрирования по мультизонам (см. схему прессового вала с регулируемым прогибом). В опорные элементы подается масло с определенным давлением. Другой вал из отбеленного чугуна и может нагреваться водой до температуры поверхности макс. 120°C.
В отличие от обычного машинного каландра, где отделка происходит за счет уплотнения (по линии соприкосновения валов), в «мягком» каландре (рис. 144) происходит процесс, аналогичный суперкаландрированию. В зоне контакта валов за счет облицовки «мягкого» вала создается площадка упругой деформации и микроскольжение бумаги относительно поверхности металлического вала.
Требуемые свойства вырабатываемой продукции достигаются за счет изменения степени уплотнения и выглаживания. Процесс регулируется следующими параметрами:
- усилием прижима валов (удельным давлением в захвате);
- подбором твердости облицовки;
- температурой обогреваемого вала;
- степенью увлажнения бумаги перед каландром.

Рис. 144 – Мягкий (софт) каландр
Для получения высоких значений гладкости и лоска у бумаги используют суперкаландры (рис.145). Повышение качества бумаги достигается за счет чередования жестких металлических и мягких валов с синтетическим покрытием, что позволяет вести процесс каландрирования при более высоких давлениях между валами. Давление при каландрировании влияет в основном на степень уплотнения бумаги, изменение ее толщины, гладкости, а трение – на показатель лоска бумаги. Трение бумаги о поверхность валов происходит из-за деформации мягких валов, в которые вдавливаются твердые металлические валы. Благодаря этому окружные скорости бумажных и металлических валов разные, и бумага испытывает значительное трение. Для получения бумаги с одинаковой гладкостью и лоском ее обеих сторон примерно посередине суперкаландра устанавливают рядом два мягких вала.

Рис.145 - Встроенный в БДМ суперкаландр

Рис.146 - Наклонный каландр (система Янус)
Другим вариантом развития машинного каландрирования является установка наклонных каландров (рис.146,147). Наклонные каландры особенно эффективны при изготовлении легкомелованной бумаги. Достоинствами такой системы является: меньшая нагрузка верхних валов на нижние; простота заправки; быстрая замена валов, легкое обслуживание.

Рис.147 – Янус каландр
На рис. 148 приведен пример сдвоенного трехвального каландра.
Каждый одинарный трехвальный каландр обрабатывает одну сторону бумаги и состоит из двух чугунных валов с композитным мягким покрытием и среднего обогреваемого стального вала. Обогрев осуществляется до 220 оС с помощью подаваемого внутрь вала нагретого масла.
В зоне контакта валов за счет облицовки мягкого вала создается площадка упругой деформации и происходит микроскольжение бумаги относительно поверхности металлического вала, т.е. повышение гладкости происходит как за счет выглаживания поверхности, так и за счет уплотнения бумаги.

Рис. 148 - Сдвоенный трехвальный каландр
Увлажнители
Применяются при плохом профиле влажности на накате, перед каландром; неудовлетворительном уровне влажности в целом (пересушка); при проблеме скручиваемости (короблении).
Увлажнители бывают однокомпонентными (простые водяные спрыски) и двухкомпонентными (воздушно-капельные увлажнители).
Обычные водяные увлажнители при распылении образуют крупные капли, которым требуется больше времени, чтобы проникнуть в полотно. Поэтому их можно устанавливать примерно до середины сушильной части.
Воздушно-капельные увлажнители показывают тонкодисперсный характер работы. Поэтому они эффективны даже на последних сушильных цилиндрах (влажность бумаги 7…9%).
2) Клеильно-меловальные установки
Для получения высококачественной печатной бумаги используется мелование и поверхностная проклейка. Меловальное устройство, устанавливаемое непосредственно на бумагоделательную машину, усложняет её конструкцию и обслуживание, но экономически это выгоднее, чем отдельные меловальные установки.
Примеры устройств были рассмотрены в разделах посвященных проклейке и наполнению.
Выше изложенную информацию о нанесении меловальной пасты на поверхность бумаги можно дополнить следующим.
Разравнивание нанесенного слоя и регулирование его толщины происходит при помощи ножевого шабера или вращающегося стержня (вращающегося ракеля), иногда используют воздушный шабер (снятие избытка пасты и разравнивание покровного слоя происходит за счет воздушного потока с определенным давлением. Количество наносимого покрытия можно регулировать при помощи изменения давления прижима шабера или стержня к валу, а при работе ножевого устройства использованием также лезвий различной толщины (0,30…0,381 мм).
Покрытие может наноситься на промежуточный вал (пленочный пресс) либо непосредственно на бумагу (например, шторное мелование).
Пример пленочного пресса приведен на рис. 149. Этот пресс состоит из двух наносящих и двух передающих валов. Передающие валы служат для предварительной подачи слоя меловальной пасты к наносящим валам.

Рис. 149- Пример пленочного пресса
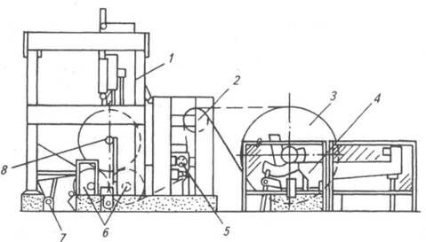
Кроме меловальных установок, наносящих меловальную пасту на бумагу на самой машине применяют отдельно стоящие меловальные установки (рис. 150).

Рис. 150 – Отдельная меловальная установка
Газовые инфракрасные излучатели
Различают излучатели следующих типов: 1) с волокнистым слоем из металлического и керамического волокна (с решеткой и без); 2) керамические; 3) металлические.
Конструкция ИК излучателя с газовым нагревом (рис.151 )
В собственно блок излучателя подается заранее подготовленная смесь газ-воздух (в правильном соотношении, т.е. с небольшим избытком воздуха). Эта смесь создается в смесительной трубе, на которой закреплен блок излучателя.
Внутри блока излучателя в распределительной камере поступающая газовоздушная смесь распределяется по площади излучателя (параллельно бумажному полотну). Между распределительной камерой и камерой сгорания расположен проницаемый для газа (частично) барьер. Его главная задача состоит в том, чтобы отгородить несгоревшую газовоздушную смесь в распределительной камере от высоких температур в камере сгорания для предотвращения обратного воспламенения.
На рис. 152 приведен пример установки излучателя.


Рис. 152- Пример установки излучателя
НАКАТ
Бумагоделательная машина завершается накатом, осуществляющим наматывание бумаги в рулоны. Основным требованием к накату является равномерная по плотности рулона и плотная намотка бумаги, необходимая для ее резки, транспортировки, хранения, обработки и переработки.
Нежелательны как слабая и неравномерная по плотности намотка рулона, так и излишне плотная его намотка. В первом случае рулоны бумаги теряют цилиндрическую форму, что вызывает обрывы при ее переработке. Внутренние напряжения, возникающие в туго намотанных рулонах, также приводят к частым обрывам бумаги при дальнейшей переработке.
По принципу наматывания бумаги различают два типа наката: осевой (центральный) и периферический (барабанный).
В осевых накатах приводным является тамбурный вал.
Осевые накаты требуют ручной заправки и поэтому могут применяться только на тихоходных машинах со скоростью до 200 м/мин. Их преимущество – возможность продольного разрезания полотна бумаги перед намоткой и, следовательно, одновременная намотка нескольких рулонов требуемого формата. Это исключает необходимость применения дорогого энергоемкого продольно-резательного станка после машины.
В периферических накатах наматываемый рулон бумаги прижимают к приводному цилиндру наката, вращающемуся с постоянной угловой и окружной скоростью.

Периферический накат (рис. 153) применяют на всех скоростных и широких бумагоделательных машинах. Основным его преимуществом является возможность равномерной и плотной намотки почти при любой скорости и ширине машины, а также при меньшем натяжении бумажного полотна, чем требуется в условиях использования осевого наката.
Снижение натяжения полотна перед периферическим накатом приводит к сокращению обрывности не только при наматывании рулона на накате, но и при всех последующих операциях переработки бумаги на фабрике и у потребителей.
Между каландром и накатом устанавливают неподвижную расправляю-щую дугу, либо бомбирован-ный обрезиненный валик, либо, наиболее часто, валик типа Маунт-Хоуп для расправления бумажного полотна и предотвращения образования складок.
При заправке на накат узкая полоса бумаги (до 200 мм) передается на цилиндр наката (охлаждается изнутри водой) с помощью канатиковой или воздушной системы заправки. Затем полотно сжатым воздухом забрасывают на тамбурный валик наката.
Пока проводят намотку бумаги на тамбурный валик, установленный в приемных рычагах, намотанный рулон диаметром 2400 мм и более, находящийся на рабочих рычагах, снимают с машины специальным краном. Для быстрой остановки отведенного рулона используют тормоз 12 (см. рис. 153). Наматываемый рулон переводят с приемных рычагов на освободившиеся рабочие, где продолжается его намотка.
Наиболее правильно характеризовать плотность намотки давлением (Па) между слоями намотанной в рулоне бумаги.
Различают внутреннюю плотность (установившееся радиальное давление между слоями бумаги в толще рулона) и периферическую плотность (радиальное давление в момент наматывания верхнего слоя на предыдущий). Показателем качества намотки является внутренняя плотность.
Плотность намотки на осевых (центральном и электронакате) накатах определяется главным образом натяжением бумаги перед накатом. При повышении натяжения (до определенного предела) увеличивается плотность намотки. Затем зависимость между этими факторами асимптотически приближается к прямой, параллельной оси абсцисс.
На периферическом накате плотность намотки зависит от линейного давления между рулоном бумаги и цилиндром наката, а равномерная плотность намотки по ширине наката – не от конструкции и работы наката, а от равномерности бумаги по толщине.
Между сушильной частью и каландром и между каландром и накатом устанавливают датчики обрыва полотна, перед накатом – сканирующие устройства для перемещения в поперечном направлении первичных преобразователей (датчиков) рада показателей качества бумаги и картона, а для всех видов бумаги и картона – датчики массы 1 м2 и влажности полотна.
В зависимости от вида продукции контролируют просвет, воздухопроницаемость, оптические свойства (непрозрачность, светопроницаемость, гладкость, лоск, сорность, белизна и цвет), число токопроводящих включений и др.
Результаты измерения этих параметров используют в АСУТП производства бумаги. Управление различными параметрами осуществляют с помощью ЭВМ по специальным алгоритмам.
Управление механизмами наката включает в себя дистанционное управление зажимом корпусов подшипников тамбурного вала, отводом и прижимом шабера к барабану наката, разгоном тамбурного вала, поворотом приемных рычагов из вертикального положения в позицию соприкосновения тамбурного валика с барабаном наката (обычно на современных машинах выполняется автоматически), а также сигнализацию зажима подшипников тамбурного вала и окончания намотки рулона, автоматические блокировки.
При увеличении скорости бумагоделательных машин и сокращении продолжительности смены тамбурных валов использование тамбурных валов на многих бумажных фабриках затруднительно. Это относится в первую очередь к производственным линиям, оснащенным суперкаландрами и меловальными установками.
Для устранения данного недостатка разработан накат с устройством автоматической подачи тамбурных валов (рис. 154).

Над направляющими намотки установлена стойка для хранения пустых тамбурных валов, на которых можно хранить три-четыре тамбурных вала. Тамбурные валы могут быть поставлены на стойки независимо от цикла работы наката в удобное для процесса время. Со стойки тамбурный вал опускают на заправочные рычаги с помощью передаточных рычагов гидравлического действия с автоматическим управлением.
Смену тамбурного вала осуществляют с помощью продувочной трубы типа «лебединая шея» с дистанционным пневмоуправлением. Смена тамбурного вала происходит после достижения валом заранее установленного размера. При желании можно использовать направляющие для подачи полных тамбурных валов от наката к продольно-резательному станку, причем для возврата пустых тамбурных валов кран не требуется.
В отличие от производства бумаги на машинах процесс намотки полотна на накате не является непрерывным. Каждые 60…90 мин и менее происходит съем рулона и начинается заправка и намотка на новый тамбурный вал. При этом внутренние слои бумаги, прилегающие к тамбурному валу, подвержены значительным деформациям, которые приводят к повреждениям полотна – складкам, морщинам, разрывам. С увеличением скорости бумагоделательных машин количество некондиционной бумаги в слоях, прилегающих к тамбурному валу, по некоторым данным, может составить 1,0…1,5 % всего выпуска. Основная причина такого явления – колебания тамбурных валов периферического наката. Указанные выше недостатки ликвидированы в новой системе наката «Сириус», разработанной фирмой "Фойт". Накат "Сириус" по конструкции похож на осевой накат, однако он снабжен функциональными устройствами, позволяющими усовершенствовать и интенсифицировать процесс намотки (рис. 155).

Эти устройства позволяют контролировать натяжение полотна, плотность намотки путем перемещения прижимного вала и обеспечения постоянного момента вращения рулона бумаги.
Стабильные параметры намотки бумаги на накате системы «Сириус» позволяют минимизировать потери бумаги на накате и значительно увеличить массу рулона (до 120 т) и его диаметр (до 4 м и более). Таким образом, помимо сокращения потерь бумаги на накате, значительно снижается время на заправку рулонов, поскольку уменьшается количество заправок.
Продольно-резательный станок
Разрезание бумаги на рулоны осуществляется на продольно-резательном станке (ПРС) - самом быстроходном агрегате бумажного производства. ПРС работает периодически, поэтому должен иметь скорость в 2–2,5 раза больше, чем скорость работы бумагоделательной машины. Скорость ПРС достигает 2500 м/мин.
Бывают станки с верхней заправкой полотна (рис.156), но в них механизм резки нестационарен, что ухудшает качество резки (происходит набегание кромок полотна друг на друга, следовательно, затруднено разделение рулонов). Поэтому наиболее распространены продольно-резательные станки с нижней заправкой бумаги (рис. 157, 158).

Рис. 156 - Схема продольно-резательного станка с верхней заправкой бумаги: 1 – раскат; 2 –разматываемый рулон; 3 –правильное устройство; 4 – станина; 5 – режущее устройство; 6 – прижимной вал; 7 – наматываемый рулон; 8 – сбрасывающее устройство; 9 – несущий вал
В настоящее время широко применяется бесштанговая намотка, когда бумажные гильзы (на которые наматывается разрезаемый рулон бумаги) надеваются на деревянную ось. При этом гильзы с торцов зажимаются конусами, вращающимися на подшипниках. После этого готовится заправочная полоса и запускается станок. Полоски бумаги, обрезанные с кромок, удаляются пневматическим способом. При обрывах полотно склеивается вручную липкой лентой. Места склеек должны отмечаться цветными сигналами с торца рулона.
Виды брака: неравномерная плотность намотки по ширине рулона; слишком большая твердость верхних слоев и недостаточная – внутренних, лохматый обрез кромки; отсутствие цветных сигналов склеек; количество склеек больше допустимого; вмятины на торцах и поверхности рулона.
Причины дефектов: неравномерность толщины, влажности, упругопластических свойств по ширине полотна; неравномерное натяжение при резке и намотке; неправильное давление вала, неправильная заточка и установка ножей.
Диаметр разматываемого рулона - до 2,5 м, наматываемого - 800–1200 мм.
При работе ПРС должны соблюдаться: качество намотки в рулонах, ровность торцов рулонов, чистота обреза, точность соблюдения формата.

Рис.157 - Схема продольно-резательного станка с нижней заправкой и горизонтальной подачей бумаги: 1 – разматываемый рулон; 2 – раскат; 3 – правильное устройство; 4 – станина; 5 –прижимной вал; 6 – наматываемый рулон; 7 – сбрасывающее устройство; 8 – несущие валы; 9 – режущее устройство

Рис.158 - Схема продольно-резательного станка с нижней заправкой и вертикальной подачей бумаги: 1 – станина; 2 – бумаговедущий валик; 3 – разматываемый рулон; 4 – раскат; 5 – режущее устройство; 6 – несущие валы; 7 – сбрасывающее устройство; 8 – наматываемый рулон
В настоящее время используются также ПРС (VariTop фирмыVoith), наматывающие рулоны в шахматном порядке (рис.159).


Рис. 159 - VariTop
1 – разматываемый рулон; 2 – механизм резки; 3 – несущий вал (может быть с мягким покрытием); 4 – наматываемый рулон
Разрезание бумаги на листы
Для разрезания бумаги на листы служат саморезки. Они разрезают бумагу одновременно с нескольких валиков.
Имеется два основных типа саморезок: гильотинные периодического действия и ротационные непрерывного действия.
Для подрезания листовой бумаги или вырезания листов бумаги из срыва применяются стопорезки. Особой разновидностью гильотинных саморезок являются диагональные саморезки, применяющиеся для резания конвертной бумаги, а также саморезки для резания бумаги с водяными знаками.
Ротационные саморезки. Ротационные, или барабанные, саморезки (рис. 160), у которых ножи для поперечного отруба закреплены на вращающемся барабане, принадлежат к машинам непрерывного действия. Разрезанная на продольные полотна бумага движется непрерывно с равномерной скоростью к вращающемуся ножевому барабану, рубится на листы и ленточным транспортером направляется на приемный стол листоукладчика.
Длина листа в отрубе зависит от соотношения скоростей движения бумаги и вращения ножевого барабана, которые регулируются с достаточной точностью в широких пределах.
По сравнению с гильотинной саморезкой ротационная имеет преимущество не только в использовании эффективного времени работы, но и (в большей степени) в скорости, которую здесь можно увеличить в несколько раз. Если гильотинные саморезки работают с числом отрубов 15…30 в минуту, то ротационные саморезки могут работать с числом отрубов 120…150 в минуту и выше, достигая скорости 200…250 м/мин.

Рис. 160 - Схема двухформатной ротационной саморезки:
1 – разматываемые рулоны бумаги; 2 – бумаговедущие валики; 3 – ножи для продольной резки бумаги; 4 – первый подающий пресс; 5 – первый поперечный нож; 6 – второй тяговый пресс; 7 – второй поперечный нож; 8 – первый транспортер; 9 – нажимные ленты первого транспортера; 10 – второй транспортер; 11 – нажимные ленты второго транспортера; 12 – листоукладчик; 13 – стопа бумаги
Ротационные саморезки создают такой же рабочей ширины, как и бумагоделательные машины, которые они обслуживают, т. е. от 2 до 5 м. Производительность их при резке бумаги в несколько валиков даже больше, чем бумагоделательных машин соответствующей ширины.
Ротационная саморезка состоит из нескольких стоек, на которые закладываются тамбурные валики с бумагой, предназначенной для резки на листы, ножевого аппарата для продольной резки бумаги, тягового двухвального пресса, одного или двух ножевых барабанов для поперечного отруба бумаги, системы транспортеров для листов бумаги и листоукладчика.
Несколько полотен бумаги с тамбуров соединяются вместе и поступают сначала на ножевой аппарат для продольной резки, состоящий из нескольких пар ножей. Затем разрезанные вдоль полотна бумаги подаются на поперечно-резательное устройство при помощи подающего пресса, состоящего из пары упругих валов, из которых один гладкий с резиновой облицовкой, а другой с кожаными накладками или тоже с резиновой облицовкой, но имеет рифленую поверхность во избежание образования в бумаге складок.
Поперечно-резательное устройство состоит из вращающегося ножевого барабана, на котором укреплен с небольшим уклоном нож специального углового профиля, и упорного неподвижного ножа.
Отрубленные листы бумаги падают на первый ленточный транспортер, с него передаются на второй, движущийся с меньшей скоростью, который и доставляет разрезанную бумагу к приемному столу. Последний валик ленточного транспортера автоматически поднимается во время работы саморезки вместе с ростом стопы бумаги на приемном столе. В других конструкциях опускается сам приемный стол, а положение ленточного транспортера остается неизменным во время резания бумаги.
При работе саморезок на высоких скоростях отрубленные листы накладываются друг на друга внахлестку и движутся к приемному столу с затухающей скоростью. Это устраняет удар листа об ограничитель при укладке бумаги в стопу и предотвращает загибание листа.
Саморезки изготовляются с одним или двумя ножевыми барабанами. Так называемая двухформатная саморезка позволяет резать бумагу сразу двух форматов с различными отрубами. Это позволяет лучше использовать ширину сетки бумагоделательной машины и иметь меньшей ширины обрезки.
Имеются саморезки даже с тремя ножевыми барабанам.
Ротационные саморезки снабжаются приводом с регулируемой скоростью.
Рабочая скорость саморезки обусловливается скоростью вращения валов подающего пресса, формат листов бумаги в отрубе регулируется скоростью вращения ножевого барабана.
Саморезки снабжаются листоукладчиком с автоматически опускающимся приемным столом и трясочным механизмом для ровной укладки бумаги, устройствами для отсчета листов и стоп и приспособлением для отвода статического электричества с поверхности бумаги. Действие этого приспособления основано на индуктивной ионизации воздуха, через который проходит бумага. Точность резания составляет ± 1 мм.
В процессе работы саморезки необходимо время от времени проверять правильность формата листов бумаги и следить за тем, чтобы не было косины. Отклонения от заданного формата обычно допускаются не выше 1…1,5 мм (отклонение от прямоугольной формы не выше 0,2%).
На ротационных саморезках одновременно можно разрезать до 8-12 валиков бумаги средней толщины, 3-4 валика толстой бумаги и до 24 валиков тонкой бумаги.
Нормальным суммарным весом 1 м2 всех листов, подвергаемых одновременному разрезанию, считается 600…800 г. При установке на саморезку валиков следует проверять оттенок бумаги, не допуская резания валиков с разными оттенками, что значительно осложнило бы дальнейшую рассортировку и комплектовку листов такой бумаги. С целью устранения разноцвета высокосортную бумагу разрезают с одного валика.
Для разрезания бумаги с водяными знаками саморезки оборудуются приспособлением для удобного регулирования длины отруба во время ее хода. Для наблюдения за правильным расположением водяного знака в листе бумаги служит передвижная линейка, устанавливаемая впереди движущегося полотна бумаги, просвечиваемого электрической лампочкой. Для автоматического разрезания бумаги с водяным знаком успешно применяют фотоэлемент. Разрезанная таким образом бумага с водяным знаком имеет неравномерные по длине листы. Поэтому их накалывают по шаблону так, чтобы водяные знаки совпадали на всех листах в стопе, и подрезают на стопорезке.
Брак при разрезании бумаги на листы обычно составляет 2…2,5% (включая и обрезки). Однако с учетом последующей отсортировки дефектных листов, содержащих морщины, складки, обрывы и пятна, общее количество брака в листовой бумаге достигает 5%.
Широко применяется резка бумаги на листы с одновременно автоматической рассортировкой бумаги на два сорта: кондиционную и дефектную бумагу. Резка бумаги производится на одноформатной ротационной саморезке прямо с рулона, поступающего с продольно-резательного станка, имеющего требуемый формат по ширине. Поэтому обрезка кромок не требуется и саморезка режет бумагу только в поперечном направлении листа. Разрезанные листы в зависимости от результатов инспекции электронного прибора, установленного над проходящим бумажным полотном, направляются в один из двух штабелей (рис. 161). Электронный прибор состоит из фотоэлемента, фиксирующего проходящие в бумаге дефекты в виде затемненных участков. Снизу бумажное полотно освещается люминесцентной лампой, а сверху двумя мощными электролампами, отраженный и прямой свет от которых попадает в фотокамеру через узкую щель. Электронный прибор преобразовывает сигналы о дефектах бумаги и дает импульс на подъем шабера, направляющего лист дефектной бумаги во второй штабель. При отсутствии дефектов в бумаге шабер занимает горизонтальное положение, и листы бумаги направляются в первый штабель.

Рис. 161 - Схема саморезки с автоматическим сортирующим устройством:
1 - рулон бумаги; 2 - валик; 3 - фотоэлемент; 4 - подающие валы; 5 - нож; 6 – шабер; 7 - люминесцентная лампа; 8 и 9 - электролампы; 10 – фотокамера 11 - транспортер;12 - штабель листовой бумаги I сорта; 13 - штабель отбракованной бумаги
Компания Körber Paper Link выпускает листорезательные машины для малых и больших бумажных фабрик (серии FS PRO и GFS PRO) (рис.162, 163).

Рис.162
Такие машины вместо верхних транспортерных лент в захватывающей части и тормозных роликов в каскадном выкладе оснащены вакуумной системой, которая присасывает и перемещает листы. Этот метод применяется не только при работе с одним полотном, но и, в особенности, для обработки одновременно нескольких полотен. Все это предотвращает возникновение повреждений на верхней и нижней поверхности листов, особенно при высокой скорости. Машины работают при скорости до 410 м/мин. Рабочая ширина машин 1800 и 2900 мм.

Рис.163
Серия GFS PRO предназначена для больших бумажных фабрик. Поперечный нож имеет нагрузку более 1000 г/м2. Уровень шума максимум 82 дБ. Машина имеет автоматическое устройство для смены ролей, в котором время смены ролей - менее 5 мин при 8-ми ролях и применении 8-ми одиночных размоточных устройств.
Упаковка
Упаковка рулонов бумаги производится на рулоноупаковочных станках. На рулон наматывают несколько слоёв обёрточной бумаги, укладывают круги бумаги с торцов рулона, загибают намотанную бумагу за торцы и заклеивают их кругами обёрточной бумаги. Наклеивают торцевые этикетки и направляют по рольгангу или электрокарой на склад. В настоящее время выпускают полностью автоматизированные рулоноупаковочные линии.
Чтобы обеспечить достаточно надежную и безупречную упаковку, ширина упаковочной бумаги выбирается таким образом, чтобы полностью перекрывала тело рулона и еще оставалось достаточно материала для загиба кромок по обеим сторонам.
В настоящее время для обертки рулонов используется пластик, оберточная бумага и их сочетание.
Пластиковая обертка: термоусадочная (для упаковки рулонов не используется из-за образования складок на торцах) и более тонкая – растягивающаяся.
Термоусадочная пленка используется для упаковки поддонов с рулонами бумаги.
Растягивающаяся пленка широко используется в обертке рулонов. Различают два метода обертки: осевую и комбинированную (рис. 164).
Преимуществами пластиковых оберток являются простота оберточных машин и дешевизна материалов, а недостатками – высокая чувствительность пластиковой пленки к воздействию ультрафиолетовых лучей, ослабление обертки из растягивающейся пленки и уязвимость к грязи, скользкая поверхность (для погрузчиков).
Некоторые из этих недостатков можно предотвратить, дополнительно обертывая рулоны бумагой (например, крепированной упаковочной бумагой).

Рис. 164 – Два метода обертки
Упаковочная бумага.
Обеспечивает значительно лучшую защиту, чем пластиковая упаковка. Предпочтительна при транспортировке на большие расстояния и при длительном хранении.
Упаковка рулона в оберточную бумагу производится в три этапа (рис.165). Сначала устанавливаются торцевые защитные крышки из картона или гофрированного картона. Затем рулон обертывается в прочную упаковочную бумагу с напуском около 150 мм на каждом конце. Обычно этот напуск автоматически сгибается, чтобы плотно удерживать внутренние торцевые крышки. Далее рулон обертывается в упаковочную бумагу с наружным полиэтиленовым покрытием, бумага обычно прижимается сверху к внутренним крышкам и отогнутому напуску упаковочной бумаги, а полиэтиленовое покрытие запаивается плитой с подогревом.
Обычно наружные торцевые крышки крепятся без помощи клея. Наружное полиэтиленовое покрытие размягчается плитой с подогревом и плотно прижимаются к внутренним крышкам.

Рис. 165 – Этапы упаковки
В качестве упаковочной используется в основном бумага «крафт» или целлюлозно-макулатурная бумага типа «сэндвич» с полиэтиленовым покрытием. Чтобы обеспечить необходимую прочность обертки, рулон обертывается в несколько слоев – от двух до четырех, в зависимости от веса 1 м2 бумаги. Обертка может дополнительно усиливаться склейкой наружных слоев клеем горячего или холодного нанесения. Стоимость клея горячего нанесения постоянно снижается, и он постепенно вытесняет клей холодного нанесения.
Склейку слоев упаковочной бумаги можно заменить их свариванием при обертке, аналогичной сварке торцевых крышек: полиэтилен размягчается путем подогрева (инфракрасного облучения), после чего слои прижимаются друг к другу. Необходимый прижим обеспечивается весом рулона бумаги, вращающегося на опорном барабане при обертке. Так что, чем рулон тяжелее, тем обертка прочнее. Веса маленьких более легких рулонов часто недостаточно для прочного скрепления слоев. В этом случае без склейки не обойтись.
Чем больше и тяжелее рулон бумаги, и чем дальше расстояние его транспортировки, тем важнее качество используемых для его упаковки материалов.
При спиральной обертке полоса ламинированной полиэтиленом упаковочной бумаги шириной около 500 мл наматывается под острым углом вокруг рулона бумаги. Требуемое число слоев обеспечивается автоматически правильным выбором угла намотки или нахлеста одной полосы на другую. Торцевые кромки дополнительно обертываются под прямым углом с постоянным 150 мм напуском (рис.166).
Такая намотка применима ко всем размерам рулонов бумаги. Такая обертка прочнее классической, потому что проклеенные спиральные слои плотно охватывают рулон, без складок, а уязвимые кромки рулонов лучше защищены дополнительной оберткой.
При обычной обертке широкой полосой каждая складка упаковочной бумаги давит на бумагу в рулоне. При спиральной намотке кромки оберточной бумаги также могут отпечатываться на верхних слоях. Для предотвращения маркировки в оберточной машине устанавливают обрезиненные барабаны, снижающие удельное давление.

Рис. 166 – Спиральная обертка
ЭЛЕКТРОПРИВОД
Основные требования к электроприводу БДМ
Обычно электропривод БДМ разделяют на:
1) постоянную часть, в которой производится окончательная подготовка бумажной массы и подача ее на сетку,
2) переменную часть, в которой происходят формование, обезвоживание, сушка, отделка и намотка в рулоны вырабатываемого полотна.
Большинство механизмов и устройств постоянной части машины (узлоловители, насосы и т. п.) работают с постоянной скоростью независимо от скорости выработки полотна от электродвигателей переменного тока, чаще всего асинхронных с короткозамкнутым ротором и дистанционными управлением, пуском и остановкой.
В ходе работы машины скорость переменной части меняется как в целом, так и по соотношениям скоростей секций между собой.
БДМ – сложный электромеханический автоматизированный объект, в котором установившиеся (статические) и переходные (динамические) процессы взаимно влияют друг на друга и на вырабатываемую продукцию. Упругие колебания в механической системе и колебания скорости электродвигателей могут вызвать электромеханический резонанс, исключающий нормальную работу машины.
Изменения вакуума в вакуумной системе и его колебания, изменения давления прессования, натяжения одежды, количества конденсата в сушильных цилиндрах, свойств бумажной массы (помол, концентрация, композиция), температуры сушильных цилиндров, изменения в системе автоматизированного электропривода (нагрев элементов, нестабильность их параметров во времени) приводят к динамическим режимам.
Комплекс этих возмущений вызывает изменение скорости машины, натяжений полотна, качества готовой продукции и может привести к обрывам полотна. В системе автоматизированного электропривода для регулирования соотношения скоростей между отдельными секциями вырабатываются воздействия, нейтрализующие влияние возмущений.
Для переменной части требуется управляемый в широком диапазоне скоростей вращения автоматизированный электропривод. В зависимости от размеров машины, рабочей скорости и вида вырабатываемого полотна мощности этих приводов лежат в пределах от нескольких десятков до нескольких тысяч киловатт, а диапазон регулирования уровня скорости – от 2…3 до 4...6 (редко до 8…10).
Для вспомогательных и ремонтных операций (ремонт, промывка одежды машины и т. п.) необходимо обеспечить работу каждой секции на вспомогательной скорости (15…30 м/мин) при одновременной работе других секций на рабочей скорости независимо от ее величины. Для этих же целей используют и толчковый режим работы отдельных секций машины.
Пуск БДМ на рабочую скорость производят путем раздельного и поочередного пуска секций (при трансмиссионных приводах – путем поочередного подключения отдельных секций к трансмиссии). Допускается предварительный пуск секций на вспомогательную скорость с последующим пуском на рабочую.
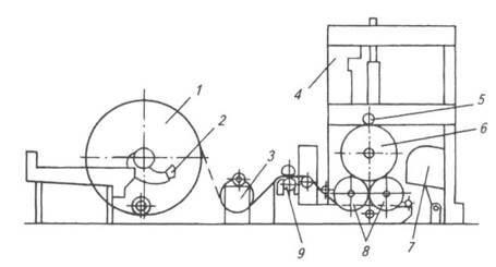
В процессе производства на машине полотно бумаги подвергается определенным деформациям – технологическим удлинениям и усадкам как в поперечном, так и в продольном направлениях (последние имеют большое значение для работы привода). Эти деформации на разных секциях отличаются по величине. Таким образом, скорости отдельных секций БДМ неодинаковы. Представим значения этих отклонений для писчих, газетных и некоторых других видов бумаг:

Привод сушильных цилиндров
Движение полотна бумаги по сушильной части машины осуществляется за счет равномерного вращения цилиндров, которое производится с помощью зубчатых колес и шестерен, червячных гипоидных передач и двигателей постоянного тока.
Во время сушки бумажное (картонное) полотно изменяет свои размеры, поэтому сушильные цилиндры разделяют на приводные группы, между которыми поддерживается определенное соотношение скоростей. Каждая приводная группа цилиндров объединяется сушильными сетками.
Количество сушильных цилиндров, объединенных в одну приводную группу, определяется ассортиментом вырабатываемой продукции. Чем больше усадка, тем больше должно быть приводных групп. В соответствии с этим привод может быть индивидуальным и групповым.
Индивидуальный привод каждого цилиндра применяют для машин, вырабатывающих конденсаторную бумагу, пергамин, фотокальку и другие виды бумаг из массы жирного помола. Однако этот привод очень сложный и дорогой, так как требуется индивидуальный двигатель и аппаратура для регулирования частоты вращения каждого цилиндра.
К приводу предъявляются высокие требования:
- плавное синхронное вращение цилиндров с заданной скоростью;
- минимальные энергетические затраты на привод;
- высокая надежность (безотказность в работе, долговечность, хорошая ремонтопригодность);
- удобство установки и технического обслуживания сушильных цилиндров, сетко- и сукноведущих валов, подшипников, шаберов и других смежных узлов;
- отсутствие недопустимой вибрации;
- максимально возможная открытость торцов межцилиндровых пространств для обеспечения равномерного профиля влажности по ширине полотна и уборки брака.
Существует несколько способов объединения сушильных цилиндров в приводные группы с помощью зубчатых передач.

Групповой шахматный привод применяют на старых машинах, принцип которого заключается в том, что на цапфы каждого цилиндра с приводной стороны насажены чугунные зубчатые колеса, которые сцепляются между собой в шахматном порядке, обеспечивая вращение нижнего и верхнего рядов в противоположных направлениях (рис.167). Приводная шестерня сцепляется посередине группы с одним или двумя зубчатыми колесами нижнего ряда. От выбора места сцепления зависит нагрузка на зубцы шестерен и, соответственно, долговечность работы привода. При сцеплении приводной шестерни с двумя зубчатыми колесами потребляемая сушильной группой мощность передается в два места зацеплений, что в два раза уменьшает нагрузку на зубцы шестерни и колес.
К недостаткам шахматного привода следует отнести невозможность удаления на приводную сторону брака, скапливающегося на шаберах при обрыве полотна, а также трудность смазки трущихся поверхностей зубчатых передач.
На современных машинах применяют паразитный привод, который состоит из:
1) зубчатых колес, установленных на цапфах сушильных цилиндров;
2) промежуточных паразитных шестерен,;
3) приводной шестерни;
4) корпуса, включающего в себя зубчатые колеса с опорами и опоры приводной стороны сушильных цилиндров.
В паразитном приводе диаметр зубчатых колес меньше диаметра сушильных цилиндров, а их вращение производят при помощи нескольких промежуточных шестерен.
Основные типы паразитных приводов приведены на рис. 168. В схеме а вращение цилиндров осуществляется центральной приводной шестерней, от которой происходит раздвоение передаваемой мощности одному верхнему цилиндру и нижнему ряду цилиндров.
Такая схема закрывает торцы межцилиндровых пространств и препятствует свободному перемещению воздуха, в результате чего нарушается профиль влажности по ширине полотна. В данной схеме усложнена установка и эксплуатация сетко(сукно)ведущих валов и их подшипников. Недостатком схемы является также наличие вертикальных разъемов корпусов, что усложняет их уплотнение для предотвращения течи масла.
Информация в лекции "Потребности, биологический аспект" поможет Вам.

По схеме б происходит раздвоение передаваемой мощности от приводной шестерни, расположенной в центре, верхнему цилиндру и двум цилиндрам, находящимся в нижнем ряду, от которых, в свою очередь, передается вращение верхнему и нижнему цилиндрам. Данная схема имеет дополнительные шестерни для передачи вращения цилиндрам.
Привод обеспечивает более свободные проемы для вентиляции межцилиндровых пространств и позволяет убирать брак, накапливающийся на шаберах. Кроме того, схема привода б не имеет вертикальных разъемов в корпусах редукторов, что обеспечивает более надежную смазку трущихся частей привода.
По схеме в привод верхних и нижних сушильных цилиндров осуществляют через промежуточные зубчатые колеса небольшого диаметра, которые располагают по боковым сторонам равнобедренного треугольника. Количество вертикальных стыков в корпусах, выполненных по схеме в, минимальное. Условия для уборки брака и вентиляции межцилиндровых пространств примерно такие же, как и в схеме б, но данная схема имеет наибольшее количество зубчатых колес, подшипниковых узлов.




Схема г состоит из приводной и паразитных шестерен и зубчатых колес, насаженных на цапфы цилиндров. Вращение вакуумных валов производится сушильными сетками, поэтому число передаточных элементов уменьшается вдвое. В схеме обеспечивается свободный доступ к вакуумным валам, шаберам и цилиндрам с приводной стороны, уборка брака и пыли, хорошая вентиляция межцилиндровых карманов и более равномерный профиль влажности полотна по ширине. В этой схеме нагрузки, передаваемые зубчатыми зацеплениями, значительно ниже при указанных условиях, в результате увеличивается долговечность колес и их подшипниковых узлов. Торцы межцилиндровых пространств открыты, но корпуса имеют вертикальные разъемы.
Следует отметить, что при выборе кинематической схемы привода сушильных цилиндров необходимо производить всестороннюю оценку с точки зрения капитальных и энергетических затрат, устойчивости и надежности работы оборудования, а также условий эксплуатации машины.























