Сетки бумагоделательных машин
4.4. Сетки бумагоделательных машин
Сетка относится к одежде бумагоделательной машины и является рабочим конвейером, на котором осуществляется формование и обезвоживание полотна.
Сетки БДМ – важнейший элемент сеточного стола. От качества сеток зависят качество готовой продукции и эффективность работы машины. Требования к сеткам и их основные характеристики показаны ниже.

Номер сетки соответствует числу нитей основы, приходящихся на 1 см ширины сетки. Как правило, чем меньше масса 1 м2 бумаги и выше степень помола, тем больше номер применяемой сетки. Так, для газетной, писчепечатных, мешочной видов бумаги – №24…28.
Сетки подразделяются на одинарные, двойные и тройные (рис. 81 а, б, в, г). Сетка состоит из продольных нитей - основы и поперечных нитей - утка.

Рис. 81 - Виды плетения сеток: а – одинарная сетка (льняное плетение); б – одинарная сетка (полусаржевое плетение); в – двойная сетка; г – тройная сетка:1 – нити основы; 2 – нити утка
Рекомендуемые материалы
В настоящее время используются синтетические сетки. Синтетические сетки изготавливают из высокопрочного полиэфирного и полиамидного волокна, подвергнутого специальной термической обработке, с покрытием из синтетических смол для повышения устойчивости к истиранию.
Из-за низкого трения о сетковедущие валы синтетические сетки должны работать с большим натяжением. Это связано с увеличением расходов энергии, потребляемой сеточной частью. В процессе эксплуатации синтетические сетки удлиняются на 1,0…1,5 % .
В настоящее время выпускаются однослойные и многослойные (двух- и трехслойные) синтетические сетки.
Для снижения маркировки от сеточной ткани желательно применение тонких однослойных сеток с малым диаметром нитей. Однако такие сетки имеют малые стабильность и износостойкость. У двухслойных сеток эти недостатки проявляются гораздо слабее.
Для осуществления нормального процесса формования полотна на сетке необходимо, чтобы сетка была чистой и равномерно натянутой. Равномерность натяжения определяют по положению шва, который должен быть перпендикулярен к оси машины. Натяжение сетки на нижней ветви составляет 5...8 кН/м, его необходимо поддерживать на минимально возможном уровне. Чем выше номер сетки, тем меньше должно быть ее натяжение. Промывка сетки осуществляется под давлением 3...4 МПа из осциллирующих спрысков, установленных с отклонением 10...15о от нормали по направлению движения сетки. Неподвижные спрыски имеют напор не более 2,8 МПа ввиду опасности растяжения сетки.
На продолжительность работы сетки влияют качество балансировки валов и их соосность, состав бумажной массы, значение рН среды, степень промывки массы и ее температура, величина разряжения в отсасывающих ящиках и материал их покрытий. Срок службы сеток зависит также от их типа и номера, конструкции сеточного стола и скорости машины. На быстроходных машинах срок службы синтетических сеток составляет 30…80 сут, на тихоходных – в 3…4 раза больше.
На рис. 82 приведен пример современной формующей сетки

В течение работы необходимо проводить натяжение и правку сетки. На рис. 83 и 84 показаны механизмы натяжения и правки. Схема правки приведена на рис. 85.

Рис. 83 - Механизм натяжения сетки:
1 – продольная балка; 2 – рычаг мембраны; 3 – мембрана; 4 – рычаг натяжного вала; 5 – сетка; 6 – натяжной вал; 7 – редуктор червячный с маховиком
"42 Гипопластическая анемия" - тут тоже много полезного для Вас.

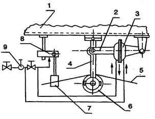
Рис. 84 - Механизм натяжения сетки:
1 – продольная балка; 2 – рычаг мембраны; 3 – мембрана; 4 – рычаг сеткоправильного вала; 5 – сетка; 6 – сеткоправильный вал; 7 – лопатка; 8 – управляющий вентиль; 9 – редукционный клапан

Рис. 85 - Схема правки сетки




















