- Регулирующая и направляющая аппаратура
Регулирующая и направляющая аппаратура
6.1. Общие сведения о гидроаппаратуре
Гидроаппаратом называется устройство, предназначенное для изменения или поддержания заданного постоянного давления или расхода рабочей жидкости, либо для изменения направления потока рабочей жидкости. Гидроаппаратура подразделяется на регулирующую и направляющую.
Регулирующая гидроаппаратура изменяет давление, расход и направление потока рабочей жидкости за счет частичного открытия рабочего проходного сечения.
Направляющая гидроаппаратура предназначена только для изменения направления потока рабочей жидкости путем полного открытия или закрытия рабочего проходного сечения.
Рабочее проходное сечение гидроаппаратов изменяется при изменении положения запорно-регулирующего элемента, входящего в их конструкцию.
По принципу действия запорно-регулирующего элемента:
- гидроклапаны;
- гидроаппаратура неклапанного действия (дроссели).
В зависимости от конструкции запорно-регулирующего элемента гидроаппараты подразделяют на:
- золотниковые;
- крановые;
- клапанные.
По внешнему воздействию на запорно-регулирующий элемент:
- регулируемые;
- настраиваемые.
Рекомендуемые материалы
Гидроклапаном называется гидроаппарат, в котором величина открытия рабочего проходного сечения изменяется от воздействия проходящего через него потока рабочей жидкости.
По характеру воздействия на запорно-регулирующий элемент гидроклапаны могут быть прямого и непрямого действия. В гидроклапанах прямого действия величина открытия рабочего проходного сечения изменяется в результате непосредственного воздействия потока рабочей жидкости на запорно-регулирующий элемент. В гидроклапанах непрямого действия поток сначала воздействует на вспомогательный запорно-регулирующий элемент, перемещение которого вызывает изменение положения основного запорно-регулирующего элемента.
Гидроаппаратом неклапанного действия называется гидроаппарат, в котором величина открытия рабочего проходного сечения не зависит от воздействия потока проходящей через него рабочей жидкости. Такие гидроаппараты иначе называют дросселями. С точки зрения положений гидравлики дроссель представляет собой активное гидравлическое сопротивление.
6.2. Напорные гидроклапаны
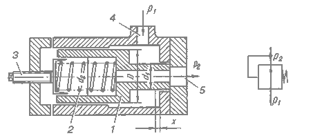
Напорные гидроклапаны предназначены для ограничения давления в подводимых к ним потоках рабочей жидкости. На рис.6.1 приведены принципиальные схемы напорных клапанов прямого действия с шариковым, конусным, плунжерным и тарельчатым запорно-регулирующими элементами.

Рис.6.1. Принципиальные схемы напорных клапанов с запорно-регулирующими элементами:
а - с шариковым; б - с конусным; в - с золотниковым; г - с тарельчатым
Клапан состоит из запорно-регулирующего элемента 1 (шарика, конуса и т.д.), пружины 2, натяжение которой можно изменять регулировочным винтом 3. Отверстие 5 корпуса 4 соединяется с линией высокого давления, а отверстие 6 - со сливной линией. Часть корпуса, с которой запорно-регулирующий элемент клапана приходит в соприкосновение, называется седлом (посадочным местом).
При установке клапана в гидросистему пружина 2 настраивается так, чтобы создаваемое ею давление было больше рабочего, тогда запорно-регулирующий элемент будет прижат к седлу, а линия слива будет отделена от линии высоко давления. При повышении давления в подводимом потоке сверх регламентированного запорно-регулирующий элемент клапана перемещается вверх, преодолевая усилие пружины, рабочее проходное сечение клапана открывается, и гидролиния высокого давления соединяется со сливной. Вся рабочая жидкость идет через клапан на слив. Как только давление в напорной гидролинии упадет, клапан закроется, и если причина, вызвавшая повышение давления не будет устранена, процесс повторится.
Возникает вибрация запорно-регулирующего элемента, сопровождаемая ударами о седло и колебаниями давления в системе. Вибрация и удары могут служить причиной износа и потери герметичности клапанов.
Для уменьшения силы удара и частоты колебаний клапана о седло применяют специальные гидравлические демпферы (рис.6.1, б, г). Устройство состоит из камеры 7, в которой перемещается плунжер 8. Камера заполнена жидкостью. С линией слива эта камера соединяется тонким калибровочным отверстием 9 диаметром 0,8…1 мм. При открывании клапана плунжер вытесняет жидкость из камеры демпфера. Создаваемое при этом гидравлическое сопротивление, пропорциональное скорости движения плунжера, уменьшает частоту колебаний, силу удара запорно- регулирующего элемента и частично устраняет его вибрацию.
Достоинство клапанов прямого действия - высокое быстродействие. Недостаток - увеличение размеров при повышении рабочего давления, а также нестабильность работы.
При конструировании напорных клапанов их габарит и массу можно уменьшить, если применить дифференциальные клапаны или клапаны непрямого действия.
Дифференциальный клапан (рис.6.2) состоит из плунжера 1, который имеет два пояска диаметрами D и d, на которые воздействует жидкость.

Рис.6.2. Принципиальная схема дифференциального клапана
Благодаря наличию поясков с разными диаметрами уменьшается активная площадь запорно-регулирующего элемента клапана, на которую воздействует жидкость, и он оказывается частично разгруженным. Это позволяет уменьшить размеры пружины и всего клапана в целом. Начальная сила натяжения пружины 2 определяется из уравнения

С уменьшением разности площадей поясков хотя и уменьшается усилие пружины, но одновременно уменьшается и соотношение действующих на запорно-регулирующий элемент клапана сил давления жидкости и сил трения этого элемента о корпус клапана. При определенных соотношениях D и d эти силы могут оказаться несоизмеримы между собой и клапан перестанет работать. Поэтому в реальных конструкциях дифференциальных клапанов принимают следующее соотношение:

Недостатком дифференциальных клапанов является скачкообразное изменение давления и расхода через клапан в момент его открытия. Поэтому величину хода запорно-регулирующего элемента клапана ограничивают величиной

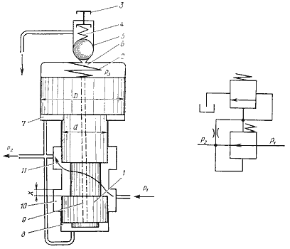
Еще большего уменьшения размеров пружины и всего клапан в целом при одновременном повышении его герметичности можно достигнуть в клапанах непрямого действия (рис.6.3).

Рис.6.3. Напорный клапан непрямого действия:
а - принципиальная схема; б - условное обозначение
Клапан состоит из основного запорно-регулирующего элемента - золотника 1 ступенчатой формы; нерегулируемой пружины 2 и вспомогательного запорно-регулирующего элемента 3 в виде шарикового клапана прямого действия. Усилие пружины 4 шарикового клапана регулируется винтом 5. Каналами в корпусе клапана полости 7 и 8 соединены с гидролинией 10 высокого давления. Полость 6 соединена с полостью 8 капиллярным каналом 9 в золотнике. Пружины шарикового клапана 3 настраивается на давление PК (на 10…20% больше максимального рабочего в гидросистеме).
Если при работе машины давление в гидросистеме PН < PК, шариковый клапан закрыт, в полостях 6, 7, 8 устанавливается одинаковое давление PН, золотник 1 под воздействием пружины 2 занимает крайнее нижнее положение, а гидролиния высокого давления 10 отделена от гидролинии слива 11 (положение клапана соответствует изображенному на рис.6.3). Изменение давление в гидросистеме вызывает изменения давления в полостях 6, 7, 8 клапана. В тот момент, когда давление P Н превысит PК, шариковый клапан 3 откроется и через него жидкость в небольшом количестве начнет поступать на слив. В капиллярном канале золотника создается течение жидкости с потерей давления на преодоление гидравлических сопротивлений. Вследствие этого давление жидкости в полости 6 станет меньше давления в полостях 7 и 8. Под действием образовавшегося перепада давлений золотник 1 переместится вверх, сжимая пружину и соединяя линию 10 с линией 11. Рабочая жидкость будет поступать на слив, и перегрузки гидросистемы не произойдет. Однако как только линия высокого давления соединится со сливом, давление жидкости в гидросистеме уменьшится до PН < PК, шариковый клапан закроется и течение жидкости по капиллярному каналу прекратится. Давление в полостях 6, 7 и 8 выровняется и под воздействием пружины 2 золотник возвратится в исходное положение, снова отделив линию высокого давления от слива. Если причина, вызвавшая повышение давления в гидросистеме, не будет устранена, процесс повторится и золотник в конечном итоге установится на определенной высоте, при которой давление в гидросистеме будет поддерживаться постоянным.
Когда клапан находится в работе, золотник совершает колебательные движения. Уменьшению колебаний золотника способствует полость 7, оказывающая на него демпфирующее влияние.
Для разгрузки системы или какого-либо ее учатка клапаны непрямого действия могут управляться дистанционно. Для этого полость 6 посредством канала 12 и крана 13 необходимо соединить со сливом. В результате давление в полости 6 резко упадет, золотник 1 поднимется вверх, а линия высокого давления 10 соединится со сливом 11.
По сравнению с клапанами прямого действия клапаны непрямого действия обладают рядом преимуществ:
1. Плавность и бесшумность работы.
2. Повышенная чувствительность.
3. Давление на входе в клапан поддерживается постоянным и не зависит от расхода рабочей жидкости через клапан.
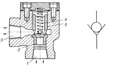
6.3. Редукционный клапан
Редукционным называют гидроклапан давления, предназначенный для поддержания в отводимом от него потоке рабочей жидкости более низкого давления, чем давление в подводимом потоке. В гидроприводах находят применение в основном два типа редукционных клапанов.
Первый тип клапанов обеспечивает установленное соотношение между давлениями на входе и выходе из клапана.
Редукционный клапан (рис.6.4) состоит из запорно-регулирующего элемента - плунжера 1, прижатого к седлу пружиной 2, сила натяжения которой регулируется винтом 3. Отверстие 4 корпуса соединяется с гидролинией высокого давления, а отверстие 5 с гидролинией низкого давления. В исходном положении клапан прижат к седлу, а вход клапана отделен от выхода. При повышении давления P1 плунжер поднимается и гидролиния высокого давления соединяется с гидролинией низкого давления. Чем больше давление P1, тем больше открывается проходное сечение клапана и тем больше становится давление P2.
Таким образом, давление P2 зависит от давления на входе клапана, от начальной силы натяжения Pпр и жесткости пружины c


Рис.6.4. Редукционный клапан:
а - принципиальная схема; б - условное обозначение
Второй тип редукционного клапана поддерживает постоянное редуцированное давление на выходе независимо от колебания давления в подводимом и отводимом потоках рабочей жидкости. Такие редукционные клапаны могут быть прямого и непрямого действия.
Рассмотрим работу редукционного клапана непрямого действия (рис.6.5). Клапан состоит из основного запорно-регулирующего элемента - золотника 1 ступенчатой формы, нагруженного нерегулируемой пружиной 2 с малой жесткостью, и вспомогательного запорно-регулирующего элемента 5 в виде шарикового клапана. Силу натяжения пружины 4 шарикового клапана можно изменять винтом 3. В корпусе клапана имеются каналы, соединяющие полости 7 и 8 с выходом, а в золотнике 1 - капиллярный канал 9, соединяющий полость 6 с полостью 8, а через последнюю и с выходом клапана.
Если пружина 4 настроена на давление большее, чем давление P1 на входе клапана, то золотник 1 занимает исходное положение (показано на рис.6.5). В этом случае в полостях 6, 7 и 8 будет одинаковое давление, равное P1, полость 10 соединена с полостью 11, а жидкость свободно протекает через клапан. Редуцирования давления при этом не происходит. При настройке пружины 4 на давление P2 < P1 шариковый клапан откроется и жидкость в небольшом количестве из полости 6 будет поступать на слив. В капиллярном канале 9 золотника создается течение жидкости с потерей в нем давления на преодоление гидравлических сопротивлений. В результате давление в полости 6 упадет и золотник поднимется вверх, уменьшив площадь живого сечения между полостями 10 и 11.

Рис.6.5. Редукционный клапан непрямого действия:
а - принципиальная схема; б - условное обозначение
Это в свою очередь вызовет понижение давления в полостях 11, 8 и 7, опускание золотника и увеличение площади живого сечения между полостями 10 и 11. Процесс повторится снова, и золотник, совершая колебательные движения, установится на определенной высоте. Всякое изменение давления на входе или выходе клапана вызывает ответное перемещение золотника. В конечном итоге за счет изменения дросселирования давление на выходе клапана поддерживается постоянным. В этом клапане полость 7 и узкий канал, соединяющий полость с выходом клапана, оказывают демпфирующее влияние на золотник, уменьшая его колебания.
6.4. Обратные гидроклапаны
Обратным гидроклапаном называется направляющий гидроаппарат, предназначенный для пропускания рабочей жидкости только в одном направлении. Они могут иметь различные запорно-регулирующие элементы: шариковый, конусный, тарельчатый или плунжерный.
В соответствии со своим назначением обратный клапан должен быть герметичным в закрытом положении, т.е. в исходном положении запорно-регулирующего элемента. Для достижения абсолютной герметичности в закрытом положении применяют обратные клапаны с двумя или тремя последовательно соединенными запорно-регулирующими элементами.
Пружина обратных клапанов нерегулируемая, ее сила натяжения должна обеспечивать лишь преодоление сил трения и инерцию, а также быстрое возвращение в исходное положение запорно-регулирующего элемента.

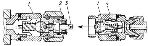
Рис.6.6. Обратный клапан типа Г51:
а - конструкция; б - условное обозначение
Обратный клапан Г51 (рис.6.6) имеет конусный запорно-регулирующий элемент 5. При подводе рабочей жидкости к отверстию 1 запорно-регулирующий элемент 5 поднимается над седлом 2, преодолевая силу натяжения пружины 4. Жидкость свободно проходит к отверстию 3. При изменении направления потока рабочей жидкости запорно- регулирующий элемент 5 прижат к седлу и блокирует отверстие 1.
В гидросистемах многих мобильных машин обратные клапаны с шариковым рабочим органом применяют в блокировочном устройстве резиновых шлангов (рис.6.7).

Рис.6.7. Блокировочное устройство
Блокировочное устройство имеет подпружиненные шарики 1, которые при разъединении трубопроводов блокируют поток. При соединении труб путем навинчивания гайки 2 на штуцер 4 толкатель 3 отжимает шарики от их седел, позволяя жидкости свободно проходить через устройство.
В гидроприводе обратные клапаны применяют: как подпорные; для создания нерегулируемого противодавления в сливной магистрали гидродвигателя; для блокировки вертикально расположенного поршня от самопроизвольного опускания при выключенном приводе; для неуправляемого пропуска рабочей жидкости в одном направлении и управляемого в другом (совместно с дросселем); для исключения утечек жидкости из гидросистемы при демонтаже и т.д. Как конструктивный элемент обратный клапан включен в конструкцию разделительных панелей, напорных клапанов, дросселей и регуляторов потока, в золотники с гидравлическим управлением, в насосы и гидравлические двигатели, в гидрозамки и т.д.
6.5. Ограничители расхода
Ограничителем расхода называется клапан, предназначенный для ограничения расхода в гидросистеме или на каком-либо ее участке.
Принципиальная схема ограничителя расхода приведена на рис.6.8, а. Он состоит из подвижного поршня 3 и нерегулируемой пружины 6, помещенных внутри корпуса 7. В поршне имеется калибровочное отверстие 2 (нерегулируемый дроссель), а корпусе - окна 4. В сочетании с поршнем 3 окна 4 представляют собой регулируемый дроссель. В исходном положении пружина стремится передвинуть поршень в крайнее левое положение и открыть окна 4. При включении ограничителя расхода в гидросистему жидкость поступает в отверстие 1 и далее проходит через дроссель 2 и окна 4 к отверстию 5. При достижении жидкости через ограничитель расхода у дросселя 2 создается перепад давлений. При увеличении расхода перепад давлений увеличивается и поршень перемещается вправо, частично или полностью перекрывая окна 4. Когда расход в гидросистеме уменьшится, перепад давлений также уменьшится и поршень переместится влево, увеличив открытие окон.

Рис.6.8. Ограничитель расхода:
а - принципиальная схема; б - зависимость Q=f(ΔP); в - условное обозначение
При значении перепада давления ΔP < ΔP0 расход жидкости через ограничитель расхода будет зависеть от ΔP. При ΔP > ΔP0 расход жидкости станет предельным и равным Q0 (см.рис.6.8, б).
6.6. Делители (сумматоры) потока
Делителем потока называется клапан соотношения расходов, предназначенный для разделения одного потока рабочей жидкости на два и более равных потока независимо от величины противодавления в каждом из них. Делители потока применяют в гидроприводах машин, в которых требуется обеспечить синхронизацию движения выходных звеньев параллельно работающих гидродвигателей, преодолевающих неодинаковую нагрузку.


Рис.6.9. Делитель потока:
а - принципиальная схема; б - условное обозначение;
в - условное обозначение сумматора потока
Делитель потока (рис.6.9) состоит из двух нерегулируемых дросселей 1 и двух дросселей 2, проходные сечения которых могут автоматически изменяться благодаря перемещению плунжера 3. При равенстве нагрузок (F1 = F2) и площадей поршней гидроцилиндров давление P1 = P2 , перепад давлений ΔP = (P3 - P4) = 0, плунжер 3 делителя занимает среднее положение, а расходы в обеих линиях одинаковые. Если нагрузка на один из любых гидродвигателей изменится, то под действием возникшего перепада давлений у плунжера делителя он начнет смещаться из среднего положения, изменяя одновременно проходные сечения дросселей 2. Перемещение прекратится, когда давления P3 и P4 выровняются. В этом положении плунжера расходы в обеих ветвях будут одинаковыми. Таким образом, поддержание равенства расходов в обеих ветвях осуществляется за счет дросселирования потока в той ветви, где гидродвигатель нагружен меньше.
Делитель потока может также быть и сумматором потока (рис.6.9, в). В этом случае в подводимых к нему двух трубопроводах поддерживается постоянный расход рабочей жидкости.
6.7. Дроссели и регуляторы расхода
Дроссели и регуляторы расхода предназначены для регулирования расхода рабочей жидкости в гидросистеме или на отдельных ее участках и связанного с этим регулирования скорости движения выходного звена гидродвигателя. Дроссели выполняются по двум принципиальным схемам.

Рис.6.10. Линейный дроссель:
1 - корпус; 2 - винт
Линейные дроссели, в которых потери давления пропорциональны расходу жидкости. В таких дросселях потери давления определяются потерями давления по длине. Изменяя длину канала, по которому движется жидкость, можно изменить потери давления и расход через дроссель. Примером линейного дросселя служит гидроаппарат с дроссельным каналом (рис.6.10).
В этом дросселе жидкость движется по винтовой прямоугольной канавке, длину которой можно изменять поворотом винта. Площадь живого сечения и длину канала устанавливают из условия получения в дросселе требуемого перепада давлений и исключения засоряемости канала механическими примесями, содержащимися в рабочей жидкости. В таких дросселях за счет увеличения длины канала можно увеличить площадь его живого сечения, исключив тем самым засорения дросселя во время его работы.
Нелинейные дроссели характеризуются тем, что режим движения жидкости через них турбулентный, а перепад давлений практически пропорционален квадрату расхода жидкости, поэтому такие дроссели часто называют квадратичными. В них потери давления определяются деформацией потока жидкости и вихреобразованиями, вызванными местными сопротивлениями. Изменение перепада давления, а, следовательно, и изменение расхода жидкости через такие дроссели достигается изменением или площади проходного сечения, или числа местных сопротивлений.
В регулируемых (рис.6.11, а, б, в, г) и нерегулируемых (рис.6.11, д, е) нелинейных дросселях длина пути движения жидкости сведена к минимуму, благодаря чему потери давления и расход практически не зависят от вязкости жидкости и изменяются только при изменении площади рабочего проходного сечения. Максимальную площадь устанавливают из условия пропуска заданного расхода жидкости через полностью открытый дроссель, минимальную - из условия исключения засоряемости рабочего окна.
В пластинчатых дросселях (рис.6.11, е) сопротивление зависит от диаметра отверстия, которое, однако, можно уменьшить лишь до определенного предела (dmin > 0,5 мм), ограничиваемого засоряемости во время работы такого дросселя. Для получения большого сопротивления применяют пакетные дроссели с рядом последовательно соединенных пластин (рис.6.11, д). В таких дросселях расстояние между пластинами l должно быть не менее (3…5) d, а толщина пластин s не более (0,4…0,5) d.

Рис.6.11. Принципиальные схемы нелинейных дросселей:
а - игольчатого; б - комбинированного; в - пробкового щелевого;
г - пробкового эксцентричного; д - пластинчатого пакетного;
е - пластинчатого; ж - условное обозначение регулируемого дросселя;
1 - корпус; 2 - игла; 3 - диафрагма; 4 - пробка; 5 - пластина; 6 - втулка
Суммарное сопротивление пластинчатого дросселя регулируется подбором пластин, а перепад давления определяется по формуле

где γ - удельный вес жидкости; ζ - коэффициент местного сопротивления отверстия; n - число пластин; υ - средняя скорость потока жидкости в проходном отверстии пластины.
К нелинейным дросселям относятся также и комбинированные дроссели, в которых потери давления по длине и местные потери соизмеримы между собой по величине и в равной мере оказывают влияние на расход жидкости через дроссель (рис.6.11, б). На характеристику комбинированных дросселей влияет вязкость рабочих жидкостей. Поэтому такие дроссели целесообразно применять в гидросистемах, в которых температура рабочей жидкости изменяется в небольших пределах.
Для определения расхода жидкости через дроссель пользуются формулой

где ω - площадь проходного сечения дросселя; ΔP - перепад давлений у дросселя; μ - коэффициент расхода, зависящий от конструкции дросселя, числа Рейнольдса, формы и размеров отверстия [Лебедев, ГМЛП, стр.141-142, Навроцкий с.50].
Важной характеристикой дросселей является их равномерная и устойчивая работа при малых расходах. Однако устойчивая работа дросселя возможно при уменьшении площади до определенного предела, ниже которого расход становится нестабильным. Это объясняется облитерацией - заращиванием проходного отверстия.
Сущность облитерации заключается в том, что в микронеровностях узких каналов задерживаются и оседают твердые частицы, содержащиеся в рабочей жидкости. Если размеры частиц, загрязняющих жидкость, соизмеримы с размером рабочего окна, то может произойти полное его заращивание и прекращение расхода жидкости через дроссель. При увеличении площади рабочего окна расход жидкости восстанавливается.
Причиной облитерации рабочего окна может быть не только недостаточная очистка рабочей жидкости, но и адсорбция поляризованных молекул рабочей жидкости на стенках щели. Адсорбируемые молекулы образуют многорядный слой, толщина которого может достигать 10 мкм. Этот слой способен сопротивляться значительным нормальным и сдвигающим нагрузкам. В конечном итоге происходит постепенное уменьшение площади живого сечения рабочего окна, а при малых значениях и полное его заращивание. Соответственно уменьшается до нуля и расход жидкости через дроссель. При страгивании с места запорного элемента дросселя адсорбционный слой молекул разрушается, а первоначальный расход восстанавливается.
Поэтому, чтобы добиться малого расхода в ответственных гидросистемах, применяют специальные конструкции дросселей. В таких дросселях рабочему органу (игле, пробке, диафрагме и т.д.) сообщаются непрерывные вращательные или осциллирующие движения. Благодаря этим движениям на рабочей поверхности проходного окна дросселя не образуется слоя адсорбированных молекул и не происходит заращивание щели.

Рис.6.12. Проливочные характеристики
а - дросселя Г77-11; б - регулятора расхода Г55-21
Недостатком дросселей является неравномерность расхода, вызванная изменением перепада давлений у дросселя. На рис.6.12, а приведена проливочная характеристика дросселя Г77 11 Q = f(ΔP), из которой видно, что с изменением перепада давлений (вызванного, например, изменением нагрузки на гидродвигатель)

Вам также может быть полезна лекция "5. Репортаж".
Рис.6.12. Проливочные характеристики
а - дросселя Г77-11; б - регулятора расхода Г55-21

Рис.6.12. Проливочные характеристики
а - дросселя Г77-11; б - регулятора расхода Г55-21
Для частичного или полного устранения неравномерности расхода применяют регуляторы расхода, в которых перепад давлений в дросселе ΔP во время его работы поддерживается примерно постоянным. Конструктивно этот аппарат состоит из последовательно включенных редукционного клапана и дросселя. Расход жидкости через регулятор устанавливается дросселем 1, а постоянство перепада давления на дросселе - редукционным клапаном 2 (рис.6.13). При увеличении расхода Q через дроссель увеличивается перепад давлений δP=P1 - P2, который вызывает смещение вверх запорно-регулирующего элемента клапана. Проходное сечение уменьшается, и при этом расход на выходе из регулятора будет уменьшен.
Благодаря постоянству перепада давлений у дросселя расход жидкости через регулятор и скорость движения выходного звена гидродвигателя не изменяются при изменении нагрузки. Вид проливочной характеристики Q = f(ΔP) регулятора расхода Г55-21 приведен на рис.6.12, б, а его конструкция на рис.6.14.
При работе гидропривода вследствие изменения коэффициента расхода μ, вызванного колебаниями температры рабочей жидкости, расход через регулятор все же изменяется. Для серийных конструкций регуляторов это изменение составляет 10…12%.























