- Вспомогательные устройства гидросистем
Вспомогательные устройства гидросистем
Вспомогательные устройства гидросистем обеспечивают надежную работу насосов, гидродвигателей, гидроаппаратуры и всего гидропривода в целом. К вспомогательным устройствам относятся: гидробаки и теплообменники для рабочей жидкости, фильтры, уплотнительные устройства, гидроаккумуляторы, гидравлические замки, а также элементы, которыми обеспечивается подача команд на включение и выключение исполнительных механизмов.
7.1. Гидробаки и теплообменники
Гидробаки предназначены для питания гидропривода рабочей жидкостью. Кроме того, через гидробак осуществляется теплообмен между рабочей жидкостью и окружающим пространством; в нем происходит выделение из рабочей жидкости воздуха, пеногашение и оседание механических и других примесей.

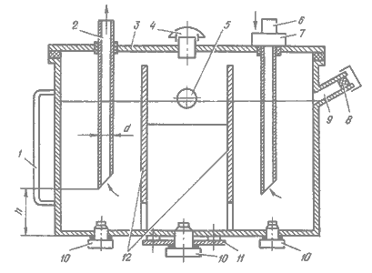
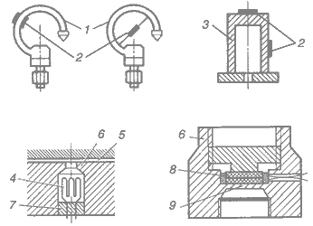
Рис.7.1. Гидробак:
1 - указатель масла; 2- всасывающая труба; 3 - крышка; 4 - сапун;
5 - глазок; 6 - сливная труба; 7 - фильтр; 8 - сетчатый фильтр (ячейки 0,1 0,1 мм);
9 - заливное отверстие; 10 - магнитная пробка;
11 - крышка для слива РЖ; 12 - перегородки (успокоители)
Гидробаки изготавливают сварными из листовой стали толщиной 1-2 мм или литыми из чугуна. Форма гидробаков чаще всего прямоугольная. Внутри гидробака имеются перегородки 12, которыми всасывающая труба отделена от сливной 6. Кроме того, перегородки удлиняют путь циркуляции рабочей жидкости, благодаря чему улучшаются условия для пеногашения и оседания на дно гидробака примесей, содержащихся в рабочей жидкости. Лучшему выделению воздуха из рабочей жидкости способствует мелкая сетка, поставленная в гидробаке под углом. Для выравнивания уровня жидкости в гидробаке перегородки имеют отверстия на выоте 50…100 мм от дна. Заливку рабочей жидкости производят через отверстие 9 с сетчатым фильтром 8, имеющим ячейки размером не более 0,1 0,1 мм. Отверстие для заливки закрывают пробкой. Для контроля уровня рабочей жидкости в гидробаке служат указатель 1 или смотровой глазок 5.
Для выравнивания давления над поверхностью жидкости в баке с атмосферным давлением служит сапун 4. Возможны случаи, когда давление в гидробаке отличается от атмосферного (избыточное давление или вакуум).
Сливную и всасывающую трубы устанавливают на высоте h = (2…3) d от дна бака, а концы труб скашивают под углом 45°. При этом скос сливной трубы направлен к стенке, а всасывающей - от стенки. Такое расположение концов труб уменьшает смешивание жидкости с воздухом, взмучивание осадков и попадание примесей во всасывающую гидролинию. В верхней части сливной трубы может быть установлен фильтр.
Рекомендуемые материалы
Дно гидробака имеет отверстие с крышкой 11 для спуска рабочей жидкости, периодической очистки и промывки гидроемкости. На дне также могут быть установлены магнитные пробки 10 для задержания металлических примесей. Крышка 3 бывает съемной. С гидробаком она соединяется через уплотнитель из маслостойкой резины.
В процессе эксплуатации гидропривода температура рабочей жидкости не должна превышать 55…60° С и в отдельных случаях 80° С. Если поддержание температуры в пределах установленной не может быть обеспечено естественным охлаждением, в гидросистеме устанавливают теплообменники.
В гидроприводах применяют два типа теплообменников: с водяным и воздушным охлаждением.
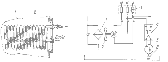
Теплообменники с водяным охлаждением имеют небольшие размеры. В отличие от воздушных, они более эффективны, но требуют дополнительного оборудования для подачи охлаждающей жидкости. Конструктивно теплообменник представляет собой змеевик 2 из стальной трубы (рис.7.2, а), размещенной в гидробаке 1.
Теплообменники с водяным охлаждение целесообразно применять в гидроприводах стационарных машин, работающих в тяжелых условиях.

Рис.7.2. Теплообменники:
а - с водяным охлаждением; 1 - бак; 2 - змеевик;
б - с воздушным охлаждением; 1 - радиатор; 2 - вентилятор; 3 - магнитный пускатель;
4 - реле; 5 - терморегулятор; 6 - датчик температуры
Теплообменники с воздушным охлаждением выполняют по типу автомобильных радиаторов или в виде труб, оребренных для увеличения поверхности теплопередачи. Для увеличения эффективности теплопередачи поверхность теплообменника обдувается воздухом от вентилятора.
Для поддержания постоянной температуры рабочей жидкости может быть применен автоматический терморегулятор (рис.7.2, б). При повышении температуры рабочей жидкости реле 4 терморегулятора 5 замыкает цепь магнитного пускателя 3 электродвигателя, на валу которого установлен вентилятор 2. Поток воздуха обдувает теплообменник 1. При уменьшении температуры ниже заданного уровня электродвигатель вентилятора отключается. Терморегулятор работает от датчика температуры 6.
7.2. Фильтры
Фильтры служат для очистки рабочей жидкости от содержащихся в ней примесей. Эти примеси состоят из посторонних частиц, попадающих в гидросистему извне (через зазоры в уплотнениях, при заливке и доливке рабочей жидкости в гидробак и т.д.), из продуктов износа гидроагрегата и продуктов окисления рабочей жидкости.
Механические примеси вызывают абразивный износ и приводят к заклиниванию подвижных пар, ухудшают смазку трущихся деталей гидропривода, снижают химическую стойкость рабочей жидкости, засоряют узкие каналы в регулирующей гидроаппаратуре.
Примеси задерживаются фильтрами (рис.7.3), принцип работы которых основан на пропуске жидкости через фильтрующие элементы (щелевые, сетчатые, пористые) или через силовые поля (сепараторы). В первом случае примеси задерживаются на поверхности или в глубине фильтрующих элементов, во втором рабочая жидкость проходит через искусственно создаваемое магнитное, электрическое, центробежное или гравитационное поле, где происходит оседание примесей.

Рис.7.3. Схема фильтрации рабочей жидкости
По тонкости очистки, т.е. по размеру задерживаемых частиц фильтры делятся на фильтры грубой, нормальной и тонкой очистки.
Фильтры грубой очистки задерживают частицы размером до 0,1 мм (сетчатые, пластинчатые) и устанавливаются в отверстиях для заливки рабочей жидкости в гидробаки, во всасывающих и напорных гидролиниях и служат для предварительной очистки.
Фильтры нормальной очистки задерживают частицы от 0,1 до 0,05 мм (сетчатые, пластинчатые, магнитно-сетчатые) и устанавливаются на напорных и сливных гидролиниях.
Фильтры тонкой очистки задерживают частицы размером менее 0,05 мм (картонные, войлочные, керамические), рассчитаны на небольшой расход и устанавливаются в ответвлениях от гидромагистралей.
В зависимости от мест установки фильтров в гидросистеме различают фильтры высокого и фильтры низкого давления. Последние можно устанавливать только на всасывающих или сливных гидролиниях.
Конструкции фильтров.
Сетчатые фильтры устанавливают на всасывающих и сливных гидролиниях, а также в заливочных отверстиях гидробаков. Фильтрующим элементом является латунная сетка, размер ячеек которой определяет тонкость очистки рабочей жидкости. Сетка устанавливается в один и более слоев. Для уменьшения сопротивления фильтрующую поверхность делают как можно большей.

Рис.7.4. Сетчатый фильтр
1 - корпус; 2 - сетка; 3 - диски; 4 - перфорированная трубка; 5 - гайка; 6 - прокладки.
На рис.7.4. изображена конструкция сетчатого фильтра. Фильтр состоит из корпуса 1 с отверстиями для пропуска рабочей жидкости и обтянутого двумя слоями сетки 2. Торцевые поверхности фильтра закрыты двумя дисками 3. Через центральные отверстия дисков проходит стальная перфорированная труба 4, соединяемая с всасывающей трубой насосной установки.
Проволочные фильтры имеют аналогичную конструкцию. Они состоят из трубы с большим количеством радиальных отверстий или пазов, на наружной поверхности которой навивается калибровочная проволока круглого или трапециевидного сечения. Зазор между рядами проволок определяет тонкость фильтрации рабочей жидкости (до 0,05 мм). Недостаток сетчатых и проволочных фильтров - трудность очистки фильтрующих элементов от скопившихся на их поверхности загрязнений.
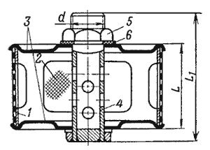
Пластинчатые (щелевые) фильтры устанавливают на напорных и сливных гидролиниях гидросистем. Пластинчатый фильтр типа Г41 (рис.7.5) состоит из корпуса 1, крышки 2 и оси 3, на которой закреплен пакет фильтрующих элементов. Крышка, имеющая отверстия для подвода и отвода жидкости, крепится к корпусу болтами, а стык между ними уплотняется резиновым кольцом 4. Пакет фильтрующих элементов состоит из набора основных 5 и промежуточных пластин 6. Жидкость поступает в корпус фильтра и через щели между основными и промежуточными пластинами попадает во внутреннюю полость фильтра, образованную вырезами в основных пластинах. При протекании жидкости через щели содержащиеся в ней механические примеси задерживаются. Тонкость очистки зависит от толщины промежуточных пластин. В процессе эксплуатации фильтра щели засоряются. Для очистки служат скребки 7, укрепленные на шпильке 8. При повороте рукояткой оси 3 скребки, помещенные между основными и промежуточными пластинами, очищают слой загрязнений на входе в щели. При скапливании загрязнений на дне корпуса производится их удаление через отверстие в нижней части корпуса 9. Такой сравнительно простой способ очистки является достоинством пластинчатых фильтров.

Рис.7.5. Пластинчатый фильтр типа Г41:
1 - корпус; 2 - крышка; 3 - ось; 4 - резиновое кольцо; 5 - основные пластины;
6 - промежуточные пластины; 7 - скребки; 8 - шпилька; 9 - пробка.
Пластинчатые фильтры Г41 выпускают на расход до 70 л/мин при перепаде давлений 0,1 и 0,2 МПа. В зависимости от типоразмера фильтров наименьший размер задерживаемых частиц составляет 0,08, 0,12 и 0,2 мм.
Сетчатые, проволочные и щелевые фильтры имеют небольшое сопротивление при протекании через них рабочей жидкости, но тонкость их очистки невелика.
Для улучшения очистки рабочей жидкости применяют фильтры тонкой очистки, которые имеют большое сопротивление и рассчитаны на небольшие расходы. Их устанавливают на ответвлениях от гидромагистралей. Во избежание быстрого засорения перед фильтрами тонкой очистки устанавливают фильтры грубой очистки.
В фильтрах тонкой очистки используют тканевые, картонные, войлочные и керамические фильтрующие элементы.
Фильтры с картонными и тканевыми элементами задерживают за один проход значительную (до 75%) часть твердых включений размером более 4-5 мкм. Схема такого фильтра с комбинированным элементом, состоящим из элементов тонкой 2 и грубой 1 очистки, представлена на рис.7.6. До открытия перепускного клапана 3 жидкость последовательно проходит через оба элемента (рис.7.6, а). При засорении элемента тонкой очистки открывается перепускной клапан 3, и жидкость через элемент грубой очистки поступает к выходному штуцеру, минуя элемент тонкой очистки (рис.7.6, б).

Рис.7.6. Комбинированный фильтр из элементов грубой и тонкой очистки
Бумажный элемент обычно выполняется в виде цилиндра, стенки которого для увеличения фильтрующей поверхности собирают в складки той или иной формы (рис.7.7).
Войлочные и металлокерамические фильтры относятся к фильтрам тонкой очистки. Их также называют глубинными, поскольку жидкость проходит через толщу пористого материала (наполнителя). Они имеют более высокую грязеемкость и сравнительно большой срок службы.
|
|
|
| Рис.7.7. Бумажный фильтроэлемент | Рис.7.8. Структура фильтроматериала из спеченных шариков |
Широко распространены фильтры глубинного типа с наполнителями из пористых металлов и керамики, получаемые путем спекания металлических и неметаллических порошков. Схема пористой структуры металлокерамического фильтроматериала представлена на рис.7.8. Жидкость очищается, протекая по длинным и извилистым каналам между шариками.
Войлочные фильтры (рис.7.9) состоят из корпуса 1, крышки 2 с отверстиями для подвода и отвода рабочей жидкости, перфорированной трубы 3 с закрепленными на ней фильтрующими элементами в виде войлочных колец 4.
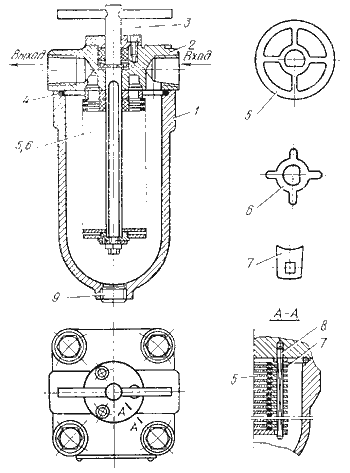
Сепараторы имеют неограниченную пропускную способность при малом сопротивлении. Принцип их работы основан на пропуске рабочей жидкости через силовые поля, которые задерживают примеси. В качестве примера на рис.7.10 приведена конструкция магнитного фильтра С43-3, предназначенного для улавливания ферромагнитных примесей. Фильтр состоит из корпуса 3, крышки 8 с ввернутой в нее латунной трубой 7 и магнитного уловителя. Уловитель включает круглую шайбу 4 с шестью отверстиями, в которые запрессованы постоянные магниты 9. От крышки фильтра магниты изолированы фибровой прокладкой 5. В нижней части трубы укреплена латунная шайба 2, предназначенная для экранирования магнитного поля, создаваемого постоянными магнитами, и исключения его замыкания на корпус фильтра.
Содержащиеся в жидкости ферромагнитные примеси задерживаются на поверхности магнитов, а по мере необходимости удаляются из корпуса через отверстие, закрываемое пробкой 1.
|
| |
| Рис.7.9. Войлочный фильтр типа Г43: | Рис.7.10. Магнитный фильтр типа С43-3: |
Установка фильтров в гидросистему.
При выборе схемы установки необходимо учесть многие факторы:
- источник загрязнений;
- чувствительность элементов гидропривода к загрязнениям;
- режим работы машины;
- рабочее давление;
- регулярность и нерегулярность обслуживания;
- тип рабочей жидкости;
- условия эксплуатации.
Установка возможна на всасывающей, напорной и сливной гидролиниях (рис.7.11), а также в ответвлениях.

Рис.7.11. Схемы включения фильтров:
а - на всасывающей гидролинии; б - в напорной гидролинии;
в - в сливной гидролинии
Установка фильтров на всасывающей гидролинии обеспечивает защиту всех элементов гидросистемы. Недостатки: ухудшатся всасывающая способность насосов и возможно появление кавитации. Дополнительно устанавливают индикатор, выключающий привод насоса совместно с обратным клапаном, включающимся в работу при недопустимом засорении (рис.7.11, а).
Установка фильтров в напорной гидролинии обеспечивает защиту всех элементов, кроме насоса. Засорение может вызвать разрушение фильтрующих элементов. Для этого устанавливают предохранительные клапаны (рис.7.11, б).
Установка фильтров на сливной гидролинии наиболее распространена, так как фильтры не испытывают высокого давления, не создают дополнительного сопротивления на всасывающей и напорной гидролинии и задерживают все механические примеси, содержащиеся в рабочей жидкости, возвращающейся в гидробак. Недостаток такой схемы заключается в создании подпора в сливной гидролинии, что не всегда является желательным.
Установка на ответвлениях не обеспечивает полной защиты, но уменьшает общую загрязненность рабочей жидкости. Монтируется как дополнительная очистка к основной очистке. Наиболее выгодна схема установки фильтра тонкой очистки в ответвлениях от сливной гидролинии.
|
| При установке фильтров гидролинию с реверсивными потоками рабочей жидкости обратные клапаны обеспечивают пропуск жидкости через фильтр только в одном направлении (рис.7.12). |
| Рис.7.12. Схема включения |
7.3. Уплотнительные устройства
Назначение уплотнительных устройств - устранение утечек и перетечек рабочей жидкости через зазоры между сопрягаемыми деталями элементов гидропривода, вызванных перепадом давлений.
К уплотнительным устройствам предъявляются следующие требования: износостойкость; совместимость с конструкционными материалами и рабочей жидкостью; устойчивость к температурным колебаниям; удобность монтажа-демонтажа; невысокая стоимость.
Уплотнительные устройства делятся на две группы:
уплотнения неподвижных соединений, которые должны обеспечивать абсолютную герметичность при всех режимах работы гидропривода;
уплотнения подвижных соединений, допускающие возможность регламентированных утечек и перетечек рабочей жидкости.
Уплотнение считается герметичным, если после длительной выдержки под давлением (для неподвижных соединений) или после установленного числа перемещений (для подвижных соединений) утечки рабочей жидкости не превышают предельно допустимые.
Уплотнение неподвижных соединений.
В неразъемных соединениях герметичность достигается пайкой и сваркой деталей.
В разъемных соединениях утечки устраняются несколькими способами: путем деформации уплотняемых поверхностей внешней силой; взаимной приработкой уплотняемых поверхностей; заполнением микронеровностей на уплотняемых поверхностях различными заполнителями (прокладки из картона, кожи, резины и т.д.). При этом при всех способах между соединяемыми деталями должно быть создано контактное давление (путем затяжки крепежными элементами), превышающее максимальное рабочее давление. Некоторые способы уплотнения неподвижных соединений мягкими прокладками и кольцами представлены на рис.7.13.

Рис.7.13. Герметизация неподвижных соединений
Для изготовления прокладок применяют различные неметаллические и металлические эластичные материалы, способные компенсировать при затяжке соединения неровности и другие дефекты поверхностей уплотняемой пары.
Уплотнение подвижных соединений.
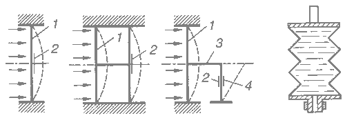
Уплотнение может быть бесконтактным (щелевым) или контактным (выполненным при помощи различных уплотнителей).
Щелевое уплотнение (рис.7.14, а) распространено во многих гидроагрегатах (насосы, распределители и т.д.). Снижение утечек достигается за счет уменьшения зазора s между подвижными деталями. Утечки неизбежны и заранее определяются для цилиндрических деталей по формуле:

где d - диаметр уплотняемого соединения; s - зазор между деталями соединения; l - длина уплотнения; υ - относительная скорость перемещения деталей; μ - динамический коэффициент вязкости жидкости.

Рис.7.14. Схемы уплотнений:
а - щелевого; б, в - лабиринтного
Для повышения сопротивления щели при высоких Re, соответствующих турбулентному режиму течения на одной (рис.7.14, б) или обеих (рис.7.14, в) поверхностях, образующих щель, выполняют лабиринтные канавки, которые вследствие чередующегося изменения сечения щели повышают ее сопротивление.
Недостаток щелевого уплотнения - высокая стоимость изготовления сопрягаемых деталей и возможность облитерации щели.
Контактные уплотнения выполняются при помощи металлических и резиновых колец, набивочных уплотнений и манжет.
Уплотнение металлическими кольцами - одно из самых простых и долговечных уплотнений. Материал колец - серый чугун, бронза, текстолит, графит и металлографитовая масса. Стыки колец (рис.7.15) могут быть прямыми (при Р
5 МПа), косыми (при Р
20 МПа) и ступенчатыми (при Р>20 МПа). В ступенчатом замке (см. рис.7.15, г) часто одну из сопряженных поверхностей выполняют плоской, а вторую - несколько выпуклой, благодаря чему повышается удельное давление в стыке колец, способствующее повышению герметичности. Форма поперечного сечения прямоугольная. Число колец в уплотнении колеблется от 2 до 9, в зависимости от перепада давлений. Расстояние между кольцами на качество уплотнения не влияет.

Рис.7.15. Типы стыковых замков металлических колец:
а - прямой; б - косой; в, г - ступенчатый
К недостаткам уплотнения металлическими кольцами относится необходимость точного изготовления деталей соединения, т.к. кольца не компенсируют микронеровности, овальность, конусность и т.п. Уплотнение из колец создает дополнительную силу трения. Уплотнение не является абсолютно герметичным и определяется как и при щелевом уплотнении.
Уплотнение резиновыми кольцами является простым, компактным и достаточно надежным. Уплотнение применяется при неподвижных (при Р
30 МПа) и подвижных соединениях (при Р
20 МПа). Диапазон температур -50…+100 С. Герметичность достигается за счет монтажного сжатия резины и ее плотного прилегания к поверхности деталей (рис.7.16). Материал - маслостойкая резина. Форма поперечного сечения круглая (предпочтительно) или прямоугольная (может скручиваться и вдавливаться в зазор). При уплотнении резиновыми кольцами утечки практически отсутствуют. На рис.7.16 показана схема уплотнений резиновых кольцом круглого сечения. Размеры колец и канавок подбирают таким образом, чтобы при монтаже кольца в канавке (при нулевом обжатии) был сохранен боковой зазор (а - d) = 0,2…0,25 мм (рис.7.16, а). При монтажном сжатии кольцо поджимается на величину k = d - b (рис.7.16, б). Таким предварительным сжатием кольца создается герметичность соединений при нулевом и малом давлении жидкости. При наличии же давления кольцо под его действием деформируясь у внешней стороны канавки, создает плотный контакт с уплотняемыми поверхностями (рис.7.16, в).

Рис.7.16. Схемы уплотнений резиновым кольцом
круглого сечения
Набивочные уплотнения (рис.7.17) применяют в гидравлических прессах, гидроцилиндрах, насосах и некоторой гидроаппаратуре. Материал - мягкие (хлопчато-бумажные, пеньковые, асбестовые) набивки пропитанные коллоидным графитом, церезином, суспензией фторопласта или жиром, и твердые (металлические, пластмассовые) набивки. При сдавливании набивки 1 нажимной буксой 2 набивочный материал течет в радиальном направлении, образуя плотный контакт между камерой сальника и набивкой с одной стороны и подвижной деталью (штоком или валом) - с другой. Для компенсации износа набивочные сальники требуют периодической подтяжки. Сдавливание набивки происходит при помощи болтов (рис.7.17, а) или пружины (рис.7.17, б).

Рис.7.17. Герметизация набивками и сдавливание набивки:
а - болтами; б - пружиной
Набивочные уплотнения используют при небольших давлениях (при Р
5 МПа). Срок службы мягких набивок до 800 часов.
Манжетное уплотнение применяют при Р до 50 МПа, скоростях перемещения уплотняемых деталей до 20 м/с. Диапазон температур -50…+100 С. Манжеты имеют шевронную и V-образную форму. Герметичность обеспечивается за счет деформации при монтаже и от давления рабочей жидкости (рис.7.18). Количество манжет зависит от диаметра и давления.

Рис.7.18. Схема действия манжетного уплотнения:
а - манжета до монтажа; б - манжета в смонтированном виде без
давления жидкости; в - манжета под давлением
Наиболее распространены U образные (рис.7.19, а, в) и V образные (шевронные) манжеты (рис.7.19, г). Для уплотнения при давлении рабочей среды до 35 МПа применяют U образные манжеты и при давлении до 50 МПа и выше - шевронные. Для сохранения формы манжету помещают при монтаже уплотнительного пакета между фасонными опорными 1 и распорными 2 кольцами (манжетодержателями) из металла или текстолита (рис.7.19, б).

Рис.7.19. Типовые формы манжет:
а, в - U-образные; б - монтаж манжет; г - шевронные
Уплотнение (герметизация) вращающихся валов осуществляется при помощи армированных манжет (рис.7.20), состоящих из металлического каркаса 1, манжеты 2 и спиральной пружины 3, обеспечивающей дополнительное прижатие манжеты к валу.

Рис.7.20. Манжеты для уплотнения вращающихся валов:
а - с наружным каркасом; б - с внутренним каркасом;
1 - металлический каркас; 2 - манжета; 3 - пружина
При выборе типа и материала уплотнений учитывают: давление в гидросистеме; диапазон рабочих температур; характер движения соединяемых деталей; скорость движения; тип рабочей жидкости.
7.4. Гидравлические аккумуляторы
Гидравлическим аккумулятором называется гидроемкость, предназначенная для аккумулирования энергии рабочей жидкости, находящейся под давлением, с целью последующего использования этой энергии в гидроприводе. В зависимости от носителя потенциальной энергии гидроаккумуляторы подразделяют на грузовые, пружинные и пневматические.

Рис.7.21. Гидроаккумуляторы:
а - грузовой; б - пружинный; в - пневмогидравлический с упругим разделителем
Грузовой аккумулятор (рис.7.21, а) состоит из цилиндра 1, плунжера 2 и груза 3 весом 2G. При зарядке плунжер поднимается (происходит увеличение потенциальной энергии), при разрядке - опускается. Давление разрядки постоянно, но громоздкость ограничивает их применение.
Пружинный аккумулятор (рис.7.21, б) состоит из цилиндра 2, поршня 1, пружины 3, помещенной в корпусе 4. Зарядка и разрядка происходит через отверстие 5. Они компактны, но есть недостаток - неравномерность давления в начале и в конце цикла разрядки, малый полезный объем.
Пневмогидравлический аккумулятор (рис.7.21, в) с упругим разделителем состоит из баллона 1 и эластичной диафрагмы 2, закрепленной в верхней части аккумулятора. Зарядку газом производят через отверстие 4, а рабочей жидкостью через отверстие 3. Верхняя часть заполняется газом до начального давления PН, соответствующего минимальному рабочему Pmin в гидросистеме. Рабочая жидкость заполняет нижнюю часть до давления Pmax, равного максимальному давлению в гидросистеме. Газ сжимается также до давления Pmax. Когда давление в гидросистеме станет меньше Pmax, рабочая жидкость вытесняется из гидроаккумулятора. Кольцо 5 предохраняет диафрагму от продавливания и повреждения. Достоинства: не требует частой подзарядки газом; безынерционен; пригоден к эксплуатации после длительного перерыва в работе и устанавливается в любом положении.
Гидроаккумуляторы поддерживают на заданном уровне давление, компенсируют утечки, сглаживают пульсацию давления, создаваемую насосами, выполняют функцию демпфера, предохраняют систему от забросов давления вызванных наездом машин на дорожные препятствия. Так же используются для достижения большей скорости холостого хода при совместной работе с насосами.
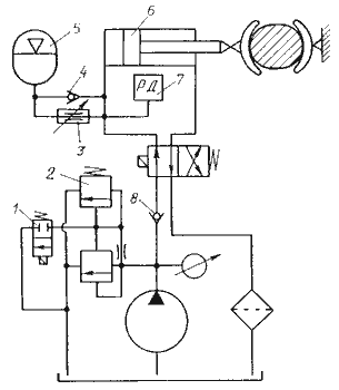
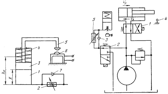
В схеме на рис.7.22 гидроаккумулятор 5 выполняет функцию компенсатора утечек и поддерживает постоянным давление в гидроприводе машины для удержания груза. При наложении грузозахватного органа на груз насос клапаном 2 разгружен, а требуемое давление в рабочей полости гидроцилиндра 6 поддерживается гидроаккумулятором. Обратный клапан 8 в этой схеме блокирует аккумулятор от линии слива при разгруженном насосе. Распределитель 1 управления клапаном 2 включается от реле давления 7, которое настраивают на рабочее давление. Дроссель 3 служит для регулирования расхода при разрядке аккумулятора. Зарядка аккумулятора происходит через обратный клапан 4 в конце сжатия груза.

Риc.7.22. Схема включения гидроаккумулятора для компенсации утечек:
1 - распределитель; 2 - предохранительный клапан непрямого действия;
3 - дроссель; 4, 8 - обратный клапан; 5 - гидроаккумулятор;
6 - гидроцилиндр; 7 - реле давления
По сравнению с безаккумуляторным рассмотренный гидропривод имеет меньшие габарит, массу и может быть более экономичным, так как потребляемая насосом мощность будет меньше за счет уменьшения времени работы насоса под нагрузкой.
7.5. Гидрозамки
Гидрозамком называется направляющий гидроаппарат, предназначенный для пропускания потока рабочей жидкости в одном направлении при отсутствии управляющего воздействия, а при наличии управляющего воздействия - в обоих направлениях.
По числу запорно-регулирующих элементов гидрозамки могут быть одно- и двухсторонними.

Рис.7.23. Односторонний гидрозамок
а - подача рабочей жидкости к полости А; б - течение жидкости из полости А в полость Б;
в - подача рабочей жидкости в полость Б; г - течение жидкости из полости Б в полость А
при наличии управляющего воздействия; д - условное обозначение одностороннего гидрозамка
Односторонний гидрозамок (рис.7.23) имеет толкатель 3, запорно-регулирующий элемент 1 и нерегулируемую пружину 2, которые образуют подобие обратного клапана. У одностороннего гидрозамка выполнено три подвода, соединенные с тремя полостями гидрозамка А, Б и У. При подаче рабочей жидкости под давлением в полость А (рис.7.23, а), открывается запорно-регулирующий элемент 1, и жидкость начинает свободно проходить в полость Б (рис. 7.23, б). Управляющее воздействие отсутствует, т.е. в полость У давление жидкости не подается. При подводе рабочей жидкости к полости Б клапан закрыт (рис.7.23, в). Однако, если одновременно с этим подвести жидкость к полости У (подать управляющее воздействие), то толкатель 3 перемещаясь вверх откроет запорно-регулирующий элемент. В этом случае жидкость будет свободно проходить из полости Б в полость А (рис.7.23, г), пока будет присутствовать управляющее воздействие в полости У.
Односторонние гидрозамки применяются для блокировки движения выходного звена гидродвигателя в одном направлении. Для блокировки выходного звена в двух направлениях применяются двухсторонние гидрозамки.
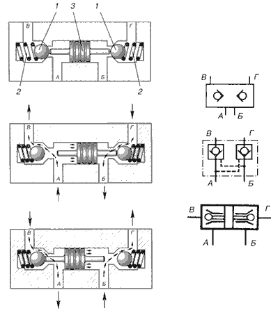
Двухсторонний гидрозамок (рис.7.24) имеет в своем корпусе два запорно-регулирующих элемента 1, две нерегулируемые пружины 2, а между ними плавающий толкатель 3 (рис.7.24, а). При подводе рабочей жидкости под давлением к каналу А открывается запорно-регулирующий элемент 1, и жидкость свободно поступает в канал В и далее к гидродвигателю (например в поршневую полость гидроцилиндра). Одновременно с этим толкатель 3 гидрозамка перемещается вправо и открывает второй запорно-регулирующий элемент, обеспечивая пропуск жидкости (например, от штоковой полости гидроцилиндра) из канала Г в канал Б и далее в сливную магистраль. Аналогично гидрозамок работает при реверсе движения выходного звена гидродвигателя. Если жидкость под давлением не подводится ни к одному из каналов (А или В), то рабочие элементы 1 снова занимают положение, указанное на рис.7.24, а. Полости гидродвигателя блокируются от слива, тем самым, блокируя выходное звено гидродвигателя от перемещений.

Рис.7.24. Двухсторонний гидрозамок:
а - нейтральное положение; б - положение толкателя при подводе
давления в канал А; в - положение толкателя при подводе давления в канал В;
г - условные обозначения
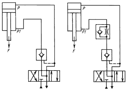
При установке гидрозамков необходимо учитывать их конструктивное исполнение (тип), способ нагружения выходного звена гидродвигателя, а также место размещения при этом дросселей с обратными клапанами - до или после гидрозамка. Дроссели с обратными клапанами свободно пропускают поток рабочей жидкости на подъем рабочего органа и ограничивают расход рабочей жидкости и соответственно скорость рабочего органа при его опускании (рис.7.25).

Рис.7.25. Схема установки одностороннего гидрозамка:
а - без дросселя с обратным клапаном; б - дросселем и обратным клапаном
Если в схеме привода гидроцилиндра грузоподъемного механизма с гидрозамком не будет установлен дроссель с обратным клапаном (рис.7.25, а), то при перемещении золотника гидрораспределителя в позицию "опускание" в гидролинии насоса и управления гидрозамком создается давление, достаточное для открытия гидрозамка. После его открытия рабочая жидкость из штоковой полости гидроцилиндра поступает на слив, и шток опускается под действием внешней нагрузки F. При этом скорость перемещения штока гидроцилиндра может превысить скорость, обусловленную подачей насоса. Тогда давление в противоположной (поршневой) полости гидроцилиндра и в гидролинии управления уменьшается, запорный элемент гидрозамка под действием пружины закрывается и движение прекращается. Затем давление в напорной гидролинии и в гидролинии управления снова возрастает, и гидрозамок открывается. Таким образом, происходят прерывистое движение рабочего органа и пульсация давления. Для исключения этого явления между гидрозамком и гидроцилиндром рекомендуется устанавливать дроссель с обратным клапаном (см. рис.7.25, б), сопротивление которого при опускании штока создает давление, необходимое для открытия обратного клапана гидрозамка и поддержания его в том положении.
Давление управления для гидрозамков составляет от 0,02 (минимальное давление срабатывания ненагруженного клапана) до 32 МПа.
В гидросистемах мобильных машин наибольшее применение получили односторонние гидрозамки с коническим запорным элементом, имеющие условный проход 16, 20, 25 и 32 мм.
7.6. Гидравлические реле давления и времени
Реле давления применяется для последовательного включения или выключения отдельных исполнительных органов машины и для осуществления дистанционного управления. Реле давления может обеспечить контроль за давлением в гидросистеме с подачей электросигнала, свидетельствующего, например, о перегрузке системы.
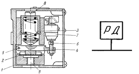
Реле давления Г62-21 (рис.7.26) состоит из корпуса 1, диафрагмы 2, пружины 3, рычага 4 с осью 5, винта 6, микропереключателя 7. Жидкость на контролируемой ветви гидросистемы подводится к отверстию 9. Если подведенное давление окажется выше установленного настройкой пружины 3, то диафрагма 2 деформируется и передает давление на рычаг 4, который при повороте вокруг оси 5 винтом 6 воздействует на микропереключатель 7. Регулировка реле давления осуществляется при помощи изменения сжатия пружины 3 винтом 8.
С момента начала деформации диафрагмы 2 до момента срабатывания реле, т.е. до момента включения микропереключателя 7, произойдет увеличение давления, которое характеризует нечувствительность аппарата,

где ΔL - путь перемещения рычага 4, необходимый для включения микропереключателя; c - жесткость пружины; Ω - активная площадь диафрагмы.
Нечувствительность реле давления различных типоразмеров колеблется от 0,3 до 1,0 МПа. Контролируемое давление находится в диапазоне от 0,5 до 32 МПа.

Рис.7.26. Реле давления Г62-2:
а - конструкция; б - условное обозначение реле давления;
1 - корпус; 2 - диафрагма; 3 - пружина; 4 - рычаг; 5 ось рычага;
6, 8 -винты; 9 - отверстие
Гидравлическое реле времени (или гидроклапан выдержки времени) это направляющий гидроаппарат предназначенный для пуска или остановки потока рабочей жидкости через заданный промежуток времени после подачи управляющего сигнала. Гидравлические реле времени применяются для обеспечения определенной выдержки во времени между различными циклами срабатывания исполнительных механизмов машины.
Время срабатывания реле времени определяется временем необходимым для вытеснения жидкости из гидроемкости 1. Поршень 3 приводит в движение пружина 4, а рычагом 5 осуществляется нажатие на штифт микропереключателя 6. Зарядка емкости реле времени происходит через обратный клапан 7 (рис.7.27, а).

Рис.7.27. Реле времени:
а - принципиальная схема; б - вариант схемы включения
Рассмотрим пример установки реле времени. В данной схеме шток гидроцилиндра автоматически совершает холостой и рабочий ход, останавливаясь в конце каждого хода на установленное время (рис.7.27, б). В положении распределителя 1 поршень гидроцилиндра движется вправо, совершая рабочий ход. Одновременно через гидрораспределитель 2 происходит зарядка емкости реле времени. К моменту нажатия упором на путевой переключатель 3 емкость будет уже заполнена, а рабочий ход завершен. Путевой переключатель 3 переключит гидрораспределитель 2, и начнется истечение жидкости через дроссель. После установленного времени (времени истечения рабочей жидкости из емкости реле времени) за счет выключателя 4 переключатся гидрораспределители 1 и 2. Начнется холостой ход штока, и одновременно будет заряжаться емкость реле времени. В конце холостого хода путевой переключатель 5 переключит распределитель 2 и емкость реле времени снова начнет разряжаться. После ее разрядки выключатель 4 переключит распределители в начальное положение, обеспечив рабочий ход.

Рис.7.28. Реле времени дроссельного типа
1, 11 - пружины; 2 - золотник; 3, 4 - подводящее и отводящее отверстия;
5, 8 - полости; 6 - канал; 7 - дроссель; 9 - сливное отверстие; 10 - шарик;
12 - колпачок; 13 - контрогайка

Рис.7.29. Реле времени объемного типа
1, 4 - отверстия; 2, 6, 7 - полости; 3, 5 - каналы; 8 - поршень;
9, 13 - пружины; 10 - шток; 11 - упор; 12 - золотник;
14 - сливное отверстие; 15 - винт; 16 - рукоятка
По принципу работы реле времени делятся на дроссельные и объемные.
На рис.7.28 дана схема реле времени дроссельного типа, предназначенного для отсекания давления от магистрали и включения слива с настроенной выдержкой времени.
Пружина 1 отводит золотник 2 в крайнее правое положение, вследствие чего масло из отверстия нагнетания 3 отводится в отверстие 4. Если реле включено, то масло через штуцер направляется в полость 5, затем канал 6 и щель между дросселем 7 и корпусом и, наконец, в полость 8 под торец золотника 2. Под давлением масла золотник 2 медленно перемещается влево, сжимая пружину 1. Как только золотник 2 займет крайнее левое положение, отверстие 4 соединяется со сливным отверстием 9. При выключении реле времени масло из полости 8 идет под шарик 10, сжимая пружину 11. Золотник возвращается в крайнее правое положение, направляя масло в отверстие 4. Время выдержки реле времени регулируется за счет вращения дросселя 7. Для этого требуется предварительно отвернуть колпачок 12 и ослабить контргайку 13.
При малых скоростях движения гидродвигателя, а также при значительном изменении температуры рабочей жидкости реле времени дроссельного типа не может дать точной выдержки времени. Поэтому в таких случаях применяют реле времени объемного типа.
На рис.7.29 дана конструктивная схема реле времени объемного типа.
Выдержка реле времени объемного типа зависит от продолжительности хода поршня 8 и регулируется винтом 15 при помощи рукоятки 16. Жидкость из гидросистемы подводится через отверстие 1 в полость 2 и к каналу 3, затем идет через отверстие 4, продольный канал 5 и в полость 6 и далее в полость 7. При этом опускается поршень 8, сжимая пружину 9, шток 10 поворачивает упор 11. Если даже давление в полости 2 возрастает, то золотник 12, сжимая пружину 13, поднимается вверх, вследствие чего произойдет соединение полости 7 со сливным отверстием 14. В свою очередь поршень 8 пружиной 9 поднимется верх, так как давление в полости 2 упадет, а золотник 12 опустится вниз, и вся система займет исходное первоначальное положение.
7.7. Средства измерения
В процессе эксплуатации гидроприводов применяют средства измерения, имеющие нормированные метрологические свойства и предназначенные для нахождения значений физических величин, характеризующих работу этих гидроприводов.
Применяемые средства измерения характеризуются ценой деления, абсолютной погрешностью и классом точности.
Цена деления шкалы - разность значений величин, соответствующих двум соседним отметкам шкалы прибора.
Абсолютная погрешность - разность между показанием прибора и истинным значением измеряемой величины.
Класс точности - обобщенная характеристика средств измерения, определяемая отношением максимально допустимой погрешности ? к конечному значению n шкалы прибора, выраженным в процентах, т.е.

При эксплуатации и испытаниях гидроприводов и отдельных гидроагрегатов измеряют давление, расход и температуру рабочей жидкости, скорость движения, усилия, крутящие моменты, развиваемые на выходных звеньях гидродвигателей.
Измерение давления. Для измерения избыточного давления применяют манометры. Манометры по своему назначению подразделяются на приборы общего назначения (типа М, МТ, ОБМ) и образцовые (типа МО). Рабочие манометры и общего назначения имеют класс точности 1; 1,5; 2,5 и 4. Образцовые манометры имеют более высокие класс точности (0,15; 0,25; 0,4), их применяют для поверки манометров общего назначения и в испытательных стендах.
По принципу действия манометры подразделяются на жидкостные, грузопоршневые, деформационные и электрические.
Жидкостные манометры применяют для измерений небольших давлений и чаще всего представляют собой стеклянную трубку, присоединенную к резервуару (рис.7.30).
|
|
|
| Рис.7.30. Войлочный фильтр типа Г43: | Рис.7.31. Магнитный фильтр типа С43-3: |
Грузопоршневые манометры (рис.7.31), состоящие из цилиндра 1 и поршня 2, преобразуют давление рабочей жидкости в усилие, развиваемое поршнем.
Деформационные манометры получили в гидроприводе наибольшее распространение. Принцип их работы основан на зависимости деформации чувствительного элемента (мембраны, трубчатой пружины, сильфона) от измеряемого давления.

Рис.7.32. Деформационные манометры:
а - мембранный; б - мембранный с двойной мембраной;
в - с консольной балкой; г - сильфонный;
1 - мембрана; 2, 4 - активный и компенсирующий тензорезистор; 3 - консольная балочка
В мембранный манометрах давление со стороны рабочей жидкости передается на мембрану (рис.7.32, а, б, в). На мембране установлены тензорезисторы, которые изгибаясь вместе с мембраной изменяют свое электрическое сопротивление. Изменение сопротивления регистрируется электрическими приборами и преобразуется в показания значения соответствующего давления.
В сильфонных манометрах (рис.7.32, г) давление рабочей жидкости приводит к растяжению гофрированной упругой трубки пропорционально давлению.
Мембранный и сильфонные манометры предназначены для измерения небольших давлений.
Пружинный манометр (рис.7.33) имеет пружину в виде изогнутой латунной трубки (трубка Бурдона) 1 эллиптического поперечного сечения. Верхний конец трубки запаян, а нижний припаян к штуцеру 2, через который манометр присоединяется в гидросистему. При заполнении трубки рабочей средой под давлением она стремится выпрямиться. Через рычажный механизм 3, усиливающий деформацию трубки, перемещение ее свободного конца передается на стрелку 4, расположенную по центру шкалы прибора. Пружинные манометры просты по конструкции, ими можно измерять давление в широком диапазоне.

Рис.7.32. Деформационные манометры:
а - мембранный; б - мембранный с двойной мембраной;
в - с консольной балкой; г - сильфонный;
1 - мембрана; 2, 4 - активный и компенсирующий тензорезистор; 3 - консольная балочка
Шкала всех манометров градуируется в паскалях или мегапаскалях. На старых образцах давление указывается в кгс/см2. На шкале наносится заводское обозначение; класс точности; номер ГОСТ; год выпуска; номер манометра и название рабочей среды (жидкость, пар, газ), в которой измеряется давление.
Электрические манометры применяют для непрерывного измерения мгновенного значения давления в комплекте с осциллографами. Чувствительным элементом этих приборов может служить трубка Бурдона (рис.7.34, а) или тонкостенный полый стакан (рис.7.34, б) с наклеенными на их стенки тензодатчиками.
Датчики с манганиновой проволокой (рис.7.34, в), электрическое сопротивление которой меняется при объемном сжатии, применяются для замера давления.
Для замера пульсаций давления применяют пьезоэлектрические датчики (рис.7.34, г), регистрирующие только динамическую составляющую давления.

Рис.7.34. Электрические манометры:
а - с трубкой Бурдона; б - тонкостенный цилиндрический датчик с
наклеенными тензодатчиками; в - с манганиновой проволокой;
г - пьезоэлектрический; 1 - трубка Бурдона; 2 - тензодатчики;
3 - тонкостенный стакан; 4 - манганиновый датчик; 5 - узкая щель;
6 - корпус; 7 - заливка эпоксидной смолой;
8 - пьезоэлектрический датчик; 9 - перегородка
Измерение расхода. Для определения подачи рабочей жидкости используют расходомеры. По принципу действия различают расходомеры: счетчиковые, струйные, электромагнитные, ультразвуковые, тахометрические, а также основанные на перепаде давления и др.

Рис.7.35. Схемы расходомеров:
а - струйный; б - ультразвуковой; в - турбинный; г - тепловой;
1 - мембрана; 2 - неподвижный электрод; 3 - трубопровод;
4 - направляющая; 5 - корпус; 6 - подшипник; 7 - турбина; 8 - успокоитель;
9 - преобразователь сигнала; 10 - излучатель сигнала;
11 - дополнительный излучатель; 12 - приемник;
13 - дополнительный приемник; 14 - пластина;
15 - термопара; 16 - теплоизоляция; 17 - нагреватель
Лекция 2 - лекция, которая пользуется популярностью у тех, кто читал эту лекцию.
В струйных расходомерах (рис.7.35, а) на пути рабочей жидкости в трубопроводе 3 располагается некоторое препятствие типа плоской мембраны 1, отклонение которой является функцией скорости струи, а регистрирующий ток - функцией взаимного положения мембраны 3 и неподвижного электрода 2.
Тахометрические турбинные расходомеры (рис.7.35, в) работают с малогабаритными электронными преобразователями. В таком расходомере поток рабочей жидкости приводит во вращение турбину, каждый проход лопасти которой наводит импульс ЭДС в обмотке индукционного преобразователя. Скорость потока определяется через частоту электрических импульсов на выходе преобразователя путем как непосредственного измерения, так и выводом на цифровые приборы или преобразованием в аналоговый сигнал. Такими расходомерами можно измерять расходы до 360 л/мин.
Ультразвуковые расходомеры (рис.7.35, б) работают на основе ультразвуковых колебаний. Благодаря эффекту Доплера частота и фаза ультразвукового сигнала, проходящего от излучателя 11 к приемнику 13, будет изменяться в функции скорости протекания рабочей жидкости. Введение дополнительной пары излучатель 10 - приемник 12 обеспечивает компенсацию температурной нестабильности.
Тепловой неконтактный расходомер применяется для определения подачи насосом рабочей жидкости без разборки гидросистемы (рис.7.35, г). Он имеет стабилизированный источник питания (СИП), датчик и измерительный прибор (ИП). СИП обеспечивает питание нагревателя и ИП, включающий в себя дифференциальную термопару, позволяет определить скорость потока рабочей жидкости по разности температур входящего потока рабочей жидкости и нагревателя.
Измерение температуры. Температуру рабочей жидкости в гидроприводах измеряют термометрами, которые по принципу действия делятся на термометры расширения, сопротивления и теплоэлектрические. При диагностировании гидроприводов наибольшее распространение получили термометры расширения, имеющие границы измерений от -60 до +250 С.
Измерение крутящего момента на валах гидромашин определяют балансирными динамометрами или торсионометрами, первые из которых получили наибольшее распространение. Балансирные динамометры бывают электрические, тормозные, гидравлические и механические.

























