Технологические схемы стабилизации нефти
15. Технологические схемы стабилизации нефти
Процессы подготовки нефти — это обезвоживание, обессоливание, а также стабилизация нефти. Сущность стабилизации нефти заключается в отделении от нее летучих углеводородов (пропан-бутановой фракции), а также растворимых в нефти сопутствующих газов, таких как сероводород, углекислый газ и азот, что сокращает потери нефти от испарения, снижает интенсивность процесса коррозии аппаратуры, оборудования и трубопроводов по пути движения нефти от месторождения до нефтеперерабагывающего завода, а также позволяет получать ценное сырье для нефтехимии.
Применяют следующие способы стабилизации нефти: горячую, или вакуумную, сепарацию и ректификацию.
При горячей, или вакуумной, сепарации от нефти отделяется широкая газовая фракция, в которой наряду с пропан-бутановой фракцией содержится большое количество более высокомолекулярных углеводородов, извлечение которых из нефти ухудшает ее качество. Для извлечения высокомолекулярных углеводородов из широкой газовой фракции и последующего возвращения их в стабильную нефть, используют следующие процессы:
1) однократную конденсацию с последующей компрессией, масляной абсорбцией или низкотемпературной конденсацией остаточных газов;
2) фракционированную конденсацию с последующей компрессией газового остатка;
3) абсорбцию или ректификацию.
При стабилизации нефти ректификацией всю нефть подвергают процессу ректификации, при этом обеспечивается четкое разделение углеводородов и достигается заданная глубина стабилизации нефти.
![]() |
Технологическая схема процесса стабилизации нефти горячей cепарацией и однократной конденсацией широкой газовой фракции приведена на рис.40. Сырая нефть I насосом 1 подается в теплообменник 3 и, пройдя блок обезвоживания и обессоливания 4, поступает на стабилизацию. При этом обезвоженная и обессоленная нефть нагревается в пароподогревателе 5 до температуры 80—120 °С и подвергается однократному испарению в сепараторе 6 при давлении 0,15—0,25 МПа, где от нее отделяется широкая газовая фракция. Снизу сепаратора 6 выводится стабильная нефть III, которая насосом 7 прокачивается через теплообменник 3, где отдает тепло сырой нефти, и направляется в резервуар 2 стабильной нефти, Широкая газовая фракция IV, отделяемая от нефти в
Рекомендуемые материалы
сепараторе 6, подвергается однократной конденсации, для чего охлаждается в холодильнике 8 до температуры 30 °С, при этом конденсируются высокомолекулярные (?) углеводороды II (бензин), которые отделяются от газа в сепараторе 9, собираются в емкости бензина 10 и насосом 11 возвращаются в стабильную нефть для восстановления ее бензинового потенциала. Газ, выходящий из сепаратора 9, поступает на прием компрессора 12, в котором повышается давление газа до 0,5—1,7 МПа, в зависимости от расстояния до газоперерабатывающего завода. После компрессора газ проходит маслоотделитель 13, где отделяется смазочное масло VII, уносимое газом из компрессора, конденсатор-холодильник 14 и сепаратор 15, в котором отделяется сконденсировавшийся в результате сжатия и охлаждения нестабильный конденсат VI. Нестабильный конденсат собирается в емкости 16, из которой насосом 17 перекачивается на газоперерабатывающий завод. Туда же направляется и газ V, выходящий из сепаратора 15.
Технологическая схема процесса стабилизации нефти горячей сепарацией и фракционированной конденсацией широкой газовой фракции приведена на рис.41.
![]() |
Сырую нефть I насосом 1 подают в теплообменник 3 и, пройдя блок обезвоживания и обессоливания 4, поступает на стабилизацию. Обезвоженная и обессоленная нефть нагревается в пароподогревателе 5 до температуры 80—120 °С и подвергается однократному испарению в сепараторе 6 при давлении 0,15—0,25 МПа, где от нее отделяется широкая газовая фракция. Снизу сепаратора 6 выводится стабильная нефть II, которая насосом 7 прокачивается через теплообменник 3, где отдает тепло сырой нефти, и направляется в резервуар 2 стабильной нефти. Широкая газовая фракция III, отделяемая от нефти в сепараторе 6, подвергается фракционированной конденсации в фракционирующем конденсаторе 8, который представляет собой вертикальный кожухотрубчатый теплообменный аппарат, в его межтрубном пространстве снизу вверх проходит широкая газовая фракция, а в трубном — сверху вниз — охлаждающая вода V. При охлаждении широкой газовой фракции образуется углеводородный конденсат, который, стекая вниз по поверхности трубок, вступает в контакт с газом, вновь поступающим в аппарат. Между этими встречными потоками газа и конденсата происходит тепло- и массообмен, при котором часть высокомолекулярных углеводородов из газа переходит в конденсат, а часть низкомолекулярных углеводородов из конденсата переходит в газ. Таким образом образуются конденсат с минимальным содержанием низкомолекулярных углеводородов (метан—бутан) и газ с минимальным содержанием высокомолекулярных углеводородов (C5+высшие). Конденсат IV направляется в стабильную нефть для пополнения ее бензинового потенциала. Газ, выходящий из фракционирующего конденсатора 8, проходит сепаратор 9, где отделяется уносимый им капельный конденсат, и поступает на прием компрессора 10 с соответствующим числом ступеней сжатия, в зависимости от удаленности объектов газопотребления или газоперерабатывающего завода. Скомпримированный до соответствующего давления газ проходит маслоотделитель 11, где отделяется смазочное масло VIII, захватываемое в цилиндрах компрессора, конденсатор-холодильник 12, где охлаждается до 30 °С, и поступает в сепаратор 13, где от газа отделяется сконденсировавшийся нестабильный конденсат VII. Нестабильный конденсат собирается в емкости 14, из которой насосом 15 перекачивается на газоперерабатывающий завод. Газ VI, выходящий из сепаратора 13, направляется потребителю или на газоперерабатывающий завод.
Технологическая схема процесса стабилизации нефти горячей сепарацией и абсорбцией широкой газовой фракции приведена на рис.42.
![]() |
Сырая нефть I подается насосом 1 в теплообменник 4, и, пройдя блок обезвоживания и обессоливания 5, насосом 7 прокачивается через трубчатую печь 8, где нагревается до температуры 100—110°С, и поступает в сепаратор 9, в котором от нефти отделяется широкая газовая фракция. Снизу сепаратора 9 выходит стабильная нефть II, которая, отдав тепло сырой нефти в теплообменнике 4, направляется в резервуар стабильной нефти 2. Широкая газовая фракция III, выходящая сверху сепаратора 9, насосом 11 подается в низ абсорбера 10, в котором в результате процесса абсорбции из нее извлекаются высокомолекулярные углеводороды (бензиновая фракция). Сущность процесса абсорбции состоит в избирательном поглощении высокомолекулярных углеводородов из газа жидкостью, называемой абсорбентом. Переход высокомолекулярных углеводородов из газа в жидкость обусловлен нарушением фазового равновесия при контакте газа с родственной жидкостью, в которой содержание поглощаемых компонентов мало.
В технологической схеме должен быть предусмотрен процесс десорбции абсорбента, т. е. обратного извлечения поглощенных им в абсорбере углеводородов. Абсорбент можно десорбировать либо ректификацией, либо выпаркой абсорбента. В рассматриваемой технологической схеме в качестве абсорбента используют стабильную нефть, которая насосом 3 прокачивается через холодильник 6 и подается на верх абсорбера 10. Таким образом, в абсорбере 10 происходит встречное днижение поднимающейся снизу вверх широкой газовой фракции и стекающей сверху вниз стабильной нефти (абсорбента). Для создания лучшего контакта встречных потоков жидкости и газа в абсорбере применяют различные специальные устройства — тарелки, насадки и др.
В результате абсорбции бензиновые углеводороды из широкой газовой фракции переходят в нефть, а легкие газообразные углеводороды IV (от метана до бутана) выходят сверху абсорбера и направляются на газоперерабатывающий завод. Процесс абсорбции (переход углеводородов из газообразного состояния в жидкое) происходит с выделением тепла, поэтому абсорбент, опускаясь вниз по абсорберу, разогревается, что приводит к снижению растворимости газов в нем. Для снижения температуры абсорбента проводят промежуточное его охлаждение. Для этого разогретый абсорбент забирается с определенного уровня абсорбера, прокачивается насосом 13 через холодильник 12, и охлажденный абсорбент V возвращается в абсорбер.
Технологическая схема стабилизации нефти ректификацией приведена на рис.43.
![]() |
Сырая нефть I насосом 1 прокачивается через теплообменник 3, после чего проходит блок обезвоживания и обессоливания 4 и поступает на стабилизацию. Обезвоженная и обессоленная нефть нагревается в теплообменнике 5 до температуры 150—200 °С за счет тепла отходящего потока стабильной нефти, при этом частично испаряется и в двухфазном парожидком состоянии поступает в питательную секцию ректификационной колонны 6. Ректификация — это процесс многократного испарения и конденсации углеводородов, происходящий на специальных устройствах — ректификационных тарелках. Для его осуществления необходимо, чтобы в колонне было два встречных потока — жидкий и паровой и чтобы имелась разность температур при переходе от одной тарелки к другой. Жидкий поток стекает сверху вниз ректификационной колонны в результате подачи на верхнюю тарелку так называемого холодного орошения. В качестве холодного орошения используется часть сконденсированного верхнего продукта, выходящего сверху ректификационной колонны и являющегося равновесным по составу с верхним продуктом. Для этого нефтяные пары, выходящие сверху ректификационной колонны 6, охлаждаются в холодильнике 7, и в сепараторе 8, от них отделяется углеводородный конденсат III, который собирается в сборнике конденсата 9, а затем насосом II подается на верх ректификационной колонны 6. Паровой поток снизу вверх создается так называемым паровым орошением IV, вводимым в низ ректификационной колонны под нижнюю тарелку и являющимся равновесным по составу с нижним продуктом. В качестве парового орошения используют часть превращенного в парообразное состояние нижнего продукта. Для этого часть стабильной нефти, выходящей снизу ректификационной колонны 6, насосом 13 прокачивают через трубчатую печь 12, в которой нагревают до такой температуры, чтобы произошло превращение нефти в парообразное состояние, и эти пары подаются под нижнюю тарелку. В результате того, что на верх колонны подается холодное орошение, а вниз — паровое орошение, по высоте ректификационной колонны устанавливается необходимая разность температур: внизу колонны 230—280 °С, а вверху колонны 65—96 оС. На каждой тарелке поднимающиеся снизу пары встречаются со стекающей с верхней тарелки более холодной жидкостью. Конструкция тарелки обеспечивает необходимый контакт встречающихся потоков пара и жидкости, так что между ними происходит тепло- и массообмен. Пары охлаждаются, при этом часть высокомолекулярных углеводородов из паров конденсируется и переходит в жидкость. Жидкость, наоборот, нагревается, при этом часть низкомолекулярных углеводородов испаряется и переходит в пар. Этот процесс повторяется многократно, так как ректификационная колонна имеет достаточно много тарелок. В результате поднимающиеся пары при переходе от одной тарелки к другой обогащаются низкомолекулярными углеводородами, а жидкость — высокомолекулярными углеводородами. Тем самым достигается требуемая четкость разделения с заданной глубиной извлечения того или иного компонента (пропана, бутана или метана). Отделившиеся легкие углеводороды в газообразном V и жидком VI состоянии насосом 10 направляются на химический комбинат. Стабильная нефть II, с высокой температурой выходящая снизу ректификационной колонны, проходит теплообменники 5 и 3, где отдает свое тепло поступающей нефти, охлаждаясь при этом до температуры 40—45 °С, и направляется в резервуар стабильной нефти 2.
Для интенсификации процесса стабилизации нефти предложено использовать центробежные силы. Скорость выделения легкой фазы в гидроциклоне, как показали расчеты, в 500 раз выше, чем скорость гравитационного разделения. Никаких дополнительных контактных устройств для стабилизации нефти в гидроциклоне не требуется, в отличие от ректификационной колонны. Продуктами процесса стабилизации являются: стабильная нефть и легкие углеводороды в виде сухого газа и нестабильного бензина.
В ИПТЭР разработана конструкция гидроциклона ГУД-1 (табл.12).
В корпусе аппарата ГУД-1 расположено шесть сепарирующих элементов, каждый из которых снабжен вводным устройством, обеспечивающим тангенциальный ввод смеси и интенсивную крутку потока, сливной камерой с наконечником, конструкция которого обеспечивает пристенное пленочное течение жидкости и концентрирование легких углеводородов. Гидроциклон устанавливается на сборнике стабильной нефти (рис.44).
![]() |
Из ГУД-1 смесь парогаза с капельной жидкостью направляют в каплеуловитель, пустотелый аппарат, где под действием гравитационных сил происходит отделение капель нефти от парогазовой смеси легких углеводородов. Далее парогаз конденсируют при температуре 10-15 оС и разделяют в сепараторе на легколетучие газы и конденсат. Для получения качественного конденсата давление в сепараторе поддерживают в пределах 1,7-1,3 ати, что препятствует переходу в газовую фазу наиболее ценных бутановых фракций.
Установлено, что доля извлечения углеводородов С3 из нефти в гидроциклоне достигает 90%, С4 – 68%, С5 – 48%. Углеводороды С6 обнаружены в пределах до 20%, а С8 – до 8%.
Таблица 12
Техническая характеристика гидроциклона ГУД-1
| Показатель | Величина |
| Максимальная производительность, м3/сут | 1500 |
Диаметр, мм | 700 |
| Высота, мм | 1000 |
| Масса, кг | 300 |
| Рабочее давление, Мпа (кгс/см2) | 0,4-0,6 (4-6) |
Гидроциклонная технология стабилизации нефти сокращает металлоемкость более, чем в 50 раз, а капитальные вложения – в 60 раз.
15.1. ОБОРУДОВАНИЕ УСТАНОВОК СТАБИЛИЗАЦИИ НЕФТИ

Стабилизация нефти основана на сочетании процессов испарения и конденсации. Поэтому основное оборудование установок стабилизации нефти — это нагреватели и печи, теплообменники и конденсаторы-холодильники, сепараторы и колонные аппараты (абсорберы, ректификационные колонны и др.).
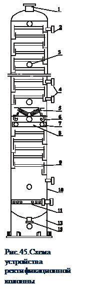
На рис.6 представлена схема устройства ректификационной колонны. Колонна состоит из вертикального цилиндрического корпуса 10 с опорой 12, которой она устанавливается на фундамент и закрепляется к нему фундаментными болтами. Сверху и снизу корпус колонны закрыт эллиптическими днищами. Колонна имеет люки 3. Внутри колонны смонтированы ректификационные тарелки 9, улитка 8, отбойник 5, гидравлический затвор 6, паровой маточник 11. Колонны снабжены штуцерами: ввода сырья 7, для отвода целевых паров 1 в конденсатор-холодильник, откачки стабильной нефти 13, ввода холодного орошения 2, отбора боковых погонов 4.
Основной элемент ректификационных колонн и тарельчатых абсорберов — это тарелки. Элементы контактных устройств барботажных тарелок колпачковых, клапанных, ситчатых (отверстия в полотне тарелок) создают движение пара в слое жидкости почти в вертикальном направлении. Среди барботажных тарелок можно выделить тарелки со стесненным и свободным зеркалом барботажа. В тарелках со стесненным зеркалом барботажа часть поверхности жидкости (50—75%) занята устройствами для ввода пара в жидкость (колпачками).
В тарелках со свободным зеркалом барботажа устройства для ввода пара в жидкость размещены практически на одном уровне с полотном тарелки (отверстия, клапаны, язычки и т. п.). Поэтому площадь для выхода пара из жидкости составляет 70—90 % рабочей площади тарелки.
После прохождения процессов подготовки нефть должна удовлетворять следующим требованиям ГОСТа 9965-76 на качество (табл.13):
Таблица 13
| Требования к качеству нефтей по ГОСТ 9965-76 | |||
Показатель | Группа нефти | ||
| I | II | III | |
| 1. Максимальное содержание воды, % | 0,5 | 1,0 | 1,0 |
| 2. Максимальное содержание хлористых солей, мг/л | 100 | 300 | 900 |
| 3. Максимальное содержание механических примесей, % | 0,05 | 0,05 | 0,05 |
| 4. Максимальное давление насыщенных паров (ДНИ) при температуре 37,8 °С, кПа | 66,67 | 66,67 | 66,67 |
Требования к подготовленному к транспорту газу следующие (табл.14):
Таблица 14
| Требования к качеству газа по ОСТ 51.40-93 | |||||
| Параметр | Норма для климата | ||||
| умеренного | холодного | ||||
| с 01.05 по 30.09 | с 01.10 по 30.04 | с 01.05 по 30.09 | с 01.10 по 30.04 | ||
| 1. Точка росы по влаге, не выше оС | -3 | -5 | -10 | -20 | |
| 2. Точка росы по углеводородам, не выше, оС | 0 | 0 | -5 | -10 | |
| 3. Масса сероводорода (г/м3) не более | 0,007 | 0,007 | 0,007 | 0,007 | |
| 4. Масса меркаптановой серы ( г/м3) не более | 0,016 | 0,016 | 0,016 | 0,016 | |
| 5. Объемная доля кислорода (%) не более | 0,5 | 0,5 | 1,0 | 1,0 | |
| 6. Теплота сгорания низшая МДж/м3 при 20 °С и 101,25 кПа, не менее | 32,5 | 32,5 | Люди также интересуются этой лекцией: 2.3 Заупокойный культ. 32,5 | 32,5 | |
| 7. Температура газа, оС | Температура газа в самом газопроводе устанавливается проектом | ||||
| 8. Масса механических примесей и труднолетучих жидкостей | Условия оговариваются в соглашениях на поставку газа с ПХГ, ГПЗ и промыслов | ||||



























