Промысловый сбор и подготовка нефти, газа и воды
4. Промысловый сбор и подготовка нефти, газа и воды
Поступающая из нефтяных и газовых скважин продукция не представляет собой соответственно чистые нефть и газ. Из скважин вместе с нефтью поступают пластовая вода, попутный (нефтяной) газ, твердые частицы механических примесей (горных пород, затвердевшего цемента).
Пластовая вода - это сильно минерализованная среда с содержанием солей до 300 г/л. Содержание пластовой воды в нефти может достигать 80%. Минеральная вода вызывает повышенное коррозионное разрушение труб, резервуаров; твердые частицы, поступающие с потоком нефти из скважины, вызывают износ трубопроводов и оборудования. Попутный (нефтяной) газ используется как сырье и топливо.
Технически и экономически целесообразно нефть перед подачей в магистральный нефтепровод подвергать специальной подготовке с целью ее обессоливания, обезвоживания, дегазации, удаления твердых частиц.
На нефтяных промыслах чаще всего используют централизованную схему сбора и подготовки нефти (рис.4.1). Сбор продукции производят от группы скважин на автоматизированные групповые замерные установки (АГЗУ). От каждой скважины по индивидуальному трубопроводу на АГЗУ поступает нефть вместе с газом и пластовой водой. На АГЗУ производят учет точного количества поступающей от каждой скважины нефти, а также первичную сепарацию для частичного отделения пластовой воды, нефтяного газа и механических примесей с направлением отделенного газа по газопроводу на ГПЗ (газоперерабатывающий завод). Частично обезвоженная и частично дегазированная нефть поступает по сборному коллектору на центральный пункт сбора (ЦПС). Обычно на одном нефтяном месторождении устраивают один ЦПС. Но в ряде случаев один ЦПС устраивают на несколько месторождений с размещением его на более крупном месторождении. В этом случае на отдельных месторождениях могут сооружаться комплексные сборные пункты (КСП), где частично производится обработка нефти. На ЦПС сосредоточены установки по подготовке нефти и воды. На установке по подготовке нефти осуществляют в комплексе все технологические операции по ее подготовке. Комплект этого оборудования называется УКПН - установка по комплексной подготовке нефти.

Рис. 4.1. Схема сбора и подготовки продукции скважин на нефтяном промысле:
1 - нефтяная скважина; 2 - автоматизированные групповые замерные установки (АГЗУ); 3 - дожимная насосная станция (ДНС); 4 - установка очистки пластовой воды; 5 - установка подготовки нефти; 6 - газокомпрессорная станция; 7 - центральный пункт сбора нефти, газа и воды; 8 - резервуарный парк
Обезвоженная, обессоленная и дегазированная нефть после завершения окончательного контроля поступает в резервуары товарной нефти и затем на головную насосную станцию магистрального нефтепровода.
УКПН представляет собой небольшой завод по первичной (промысловой) подготовке нефти (т.е. дегазация, обезвоживание, обессоливание, стабилизация). В сырую нефть (рис. 4.2), поступающую по линии I, подается деэмульгатор (по линии II). Насосом 1 нефть направляется в теплообменник 2, в котором нагревается до 50 ¸ 60°С горячей стабильной нефтью, поступающей по линии III, после стабилизационной колонны 8, Подогретая нефть в отстойнике первой ступени обезвоживания 3 частично отделяется от воды и проходит через смеситель 4, где смешивается с пресной водой, поступающей по линии V, для отмывки солей, и направляется в отстойник второй ступени 5 и по линии VI в электродегидратор 6. Отделенная вода отводится по линиям IY. При необходимости улучшения степени обессоливания применяют несколько смесителей, отстойников и электродегидраторов, включенных последовательно. Обессоленная нефть насосом 14 направляется в отпарную часть стабилизационной колонны 8 через теплообменник 7. Нагрев нефти в теплообменнике 7 до 150¸1600С осуществляется за счет тепла стабильной нефти, поступающей непосредственно снизу стабилизационной колонны 8, В стабилизационной колонне происходит отделение легких фракций нефти, которые конденсируются и передаются на ГПЗ. В нижней (отпарной) и верхней частях стабилизационной колонны установлены тарелочные устройства, которые способствуют более полному отделению легких фракций. Внизу отпарной части стабилизационной колонны поддерживается более высокая температура (до 2400С), чем температура нефти, поступающей вверх отпарной части. Температура поддерживается циркуляцией стабильной нефти из нижней части стабилизационной колонны через печь 13. Циркуляция стабильной нефти осуществляется насосом 12 по линии X. В печи 13 может также подогреваться часть нестабильной нефти, которая затем подается вверх отпарной колонны по линии XI. В результате нагрева из нефти интенсивно испаряются легкие фракции, которые поступают в верхнюю часть стабилизационной колонны, где на тарелках происходит более четкое разделение на легкие и тяжелые углеводороды. Пары легких углеводородов и газ по линии VII из стабилизационной колонны поступают в конденсатор-холодильник 9, где они охлаждаются до 30°С, основная их часть конденсируется и накапливается в емкости орошения 10. Газ и несконденсировавшиеся пары направляются по линии VIII на горелки печи 13. Конденсат (широкая фракция легких углеводородов) насосом 11 и перекачивается в емкости хранения, а часть по линии IX направляется вверх стабилизационной колонны на орошение. Часто для перемещения нефти от АГЗУ до ЦПС применяют ДНС - дожимную насосную станцию, т.к. пластового давления оказывается недостаточно. На ЦПС расположены также установки по подготовке воды - УПВ, на которой вода, отделенная на УКПН от нефти, подвергается очистке от частиц механических примесей, окислов железа и т.д. и направляется в систему поддержания пластового давления (ППД). В системе ППД подготовленная вода с помощью кустовых насосных станций (КНС) под большим давлением (до 20¸25 МПа) через систему трубопроводов-водоводов подается к нагнетательным (инжекционным) скважинам и затем в продуктивные пласты.
Рекомендуемые материалы
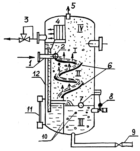
Рассмотрим основные принципы технологических процессов промысловой подготовки нефти и воды. Продукция нефтяных скважин прежде всего подвергается процессу сепарации (отделению от нефти газа, а также воды). Сепарацию нефти выполняют в специальных агрегатах-сепараторах, которые бывают вертикальными и горизонтальными. Вертикальный сепаратор (рис. 4.3) состоит из четырех секций.

Рис. 4.2. Технологическая схема УКПН:
1 - насос; 2 - теплообменник; 3 - отстойник (ступень обезвоживания); 4 - смеситель (с чистой водой); 5 - отстойник (1 ступени); 6 - электродегитратор; 7 - теплообменник (150 - 1600С); 8 - стабилизированная колонна (отпарная); 9 - холодильный конденсатор (до 300С); 10 - емкость орошения; 11, 12 - насос; 13 - печь; 14 - насос
|

Рис. 4.4. Горизонтальный сепаратор с предварительным отбором газа:
1 - входной трубопровод; 2 - вилка для предварительного отбора газа; 3 - каплеуловитель (сепаратор газа); 4 - жалюзийные насадки; 5 - газопровод с регулятором давления "до себя"; 6 ‑ предохранительный клапан; 7 - корпус сепаратора; 8 - поплавок; 9 - пеногасители; 10 ‑ наклонные полки
Секция 1 - это секция интенсивного выделения газа из нефти. Газоводонефтяная смесь под большим давлением поступает в рабочее пространство сепаратора с увеличенным объемом. За счет резкого снижения скорости потока вода и газ отделяются от нефти и поступают: вода в нижние секции, а газ удаляется из сепаратора через верхний патрубок. Повышенный эффект сепарации обеспечивается при тангенциальном подводе газа в сепаратор. В этом случае поток газоводонефтяной смеси попадает в рабочее пространство цилиндрического корпуса сепаратора по касательной и перемещается путем вращения по стенкам корпуса, что создает оптимальные условия для отделения воды и газа, затем нефть поступает в секцию II сепаратора, где стекает под действием тяжести вниз по наклонным полкам тонким слоем. Это создает лучшие условия для выделения газа из нефти за счет снижения толщины ее слоя и увеличения времени пребывания смеси в секции II. После секции II нефть попадает в секцию III - сбора нефти. Секция IV - каплеудаления предназначена для улавливания капель жидкости, увлекаемых выходящим потоком газа.
Горизонтальные сепараторы имеют ряд преимуществ перед вертикальными: большую пропускную способность и более высокий эффект сепарации. Принцип работы горизонтальных сепараторов аналогичен вертикальным. Но за счет того, что в горизонтальных сепараторах капли жидкости падают перпендикулярно к потоку газа, а не навстречу ему, как в вертикальных сепараторах, горизонтальные сепараторы имеют большую пропускную способность.
Для повышения эффективности процесса сепарации в горизонтальных сепараторах используют гидроциклонные устройства и предварительный отбор газа перед входом в сепаратор. В гидроциклоне входящий газожидкостный поток приводится во вращательное движение, капли нефти как более тяжелые под давлением центробежной силы отбрасываются на стенки трубы, а газовая струя перемещается в корпусе сепаратора. Горизонтальный сепаратор с предварительным отбором газа отличается тем, что нефтегазовая смесь вводится в корпус сепаратора по наклонным участкам трубопровода (рис. 4.4). Уклон входного трубопровода 1- 10÷150. При подъеме и последующем спуске по входному трубопроводу происходит разделение жидкости и газа, и газ по газоотводящим трубкам отводится к каплеулавливателю и после этого направляется в газовод, вместе с газом, отделенным в корпусе сепаратора, направляется на ГПЗ. Обезвоживание и обессоливание нефти – взаимосвязанные процессы, т.к. основная масса солей сосредоточена в пластовой воде и удаление воды приводит одновременно к обессоливанию нефти.
Обезвоживание нефти затруднено тем, что нефть и вода образуют стойкие эмульсии типа "вода в нефти". В этом случае вода диспергирует в нефтяной среде на мельчайшие капли, образуя стойкую эмульсию. Следовательно, для обезвоживания и обессоливания нефти необходимо отделить от нее эти мельчайшие капли воды и удалить воду из нефти. Для обезвоживания и обессоливания нефти используют следующие технологические процессы: гравитационный отстой нефти, горячий отстой нефти, термохимические методы, электрообессоливание и электрообезвоживание нефти. Наиболее прост по технологии процесс гравитационного отстоя. В этом случае нефтью заполняют резервуары и выдерживают определенное время (48 ч и более). Во время выдержки происходят процессы коагуляции капель воды, и более крупные и тяжелые капли воды под действием сил тяжести (гравитации) оседают на дно и скапливаются в виде слоя подтоварной воды.
Однако гравитационный процесс отстоя холодной нефти - малопроизводительный и недостаточно эффективный метод обезвоживания нефти. Более эффективен горячий отстой обводненной нефти, когда за счет предварительного нагрева нефти до температуры 50 -700С значительно облегчаются процессы коагуляции капель воды и ускоряется обезвоживание нефти при отстое. Недостатком гравитационных методов обезвоживания является его малая эффективность.
Более эффективны методы химические, термохимические, а также электрообезвоживание и обессоливание. При химических методах в обводненную нефть вводят специальные вещества, называемые деэмульгаторами. В качестве деэмульгаторов используют ПАВ. Их вводят в состав нефти в небольших количествах от 5¸10 до 50¸60 г на 1 т нефти. Наилучшие результаты показывают так называемые неионогенные ПАВ, которые в нефти не распадаются на анионы и катионы. Это такие вещества, как дисолваны, сепаролы, дипроксилины и др. Деэмульгаторы адсорбируются на поверхности раздела фаз "нефть-вода" и вытесняют или заменяют менее поверхностно-активные природные эмульгаторы, содержащиеся в жидкости. Причем пленка, образующаяся на поверхности капель воды, непрочная, что отмечает слияние мелких капель в крупные, т.е. процесс коалесценции. Крупные капли влаги легко оседают на дно резервуара. Эффективность и скорость химического обезвоживания значительно повышается за счет нагрева нефти, т.е. при термохимических методах, за счет снижения вязкости нефти при нагреве и облегчения процесса коалесценции капель воды.
Бесплатная лекция: "6.4. Методы структурного проектирования" также доступна.
Наиболее низкое остаточное содержание воды достигается при использовании электрических методов обезвоживания и обессоливания. Электрообезвоживание и электро-обессоливание нефти связаны с пропусканием нефти через специальные аппараты-электродегидраторы, где нефть проходит между электродами, создающими электрическое поле высокого напряжения (20¸30 кВ). Для повышения скорости электрообезвоживания нефть предварительно подогревают до температуры 50¸70°С. При хранении такой нефти в резервуарах, при транспортировке ее по трубопроводам, в цистернах по железной дороге или водным путем значительная часть этих углеводородов теряется за счет испарения. Легкие углеводороды являются инициаторами интенсивного испарения нефти, так как они увлекают за собой и более тяжелые углеводороды.
В то же время легкие углеводороды являются ценным сырьем и топливом (легкие бензины). Поэтому перед подачей нефти из нее извлекают легкие низкокипящие углеводороды. Эта технологическая операция и называется стабилизацией нефти. Для стабилизации нефти ее подвергают ректификации или горячей сепарации. Наиболее простой и более широко применяемой в промысловой подготовке нефти является горячая сепарация, выполняемая на специальной стабилизационной установке. При горячей сепарации нефть предварительно подогревают в специальных нагревателях и подают в сепаратор, обычно горизонтальный. В сепаратор из подогретой до 40¸800С нефти активно испаряются легкие углеводороды, которые отсасываются компрессором и через холодильную установку и бензосепаратор направляются в сборный газопровод. В бензосепараторе от легкой фракции дополнительно отделяют за счет конденсации тяжелые углеводороды.
Вода, отделенная от нефти на УКПН, поступает на УПВ, расположенную также на ЦПС. Особенно большое количество воды отделяют от нефти на завершающей стадии эксплуатации нефтяных месторождений, когда содержание воды в нефти может достигать до 80%, т.е. с каждым кубометром нефти извлекается 4 м3 воды. Пластовая вода, отделенная от нефти, содержит механические примеси, капли нефти, гидраты закиси и окиси железа и большое количество солей. Механические примеси забивают поры в продуктивных пластах и препятствуют проникновению воды в капиллярные каналы пластов, а следовательно, приводят к нарушению контакта "вода-нефть" в пласте и снижению эффективности поддержания пластового давления. Этому же способствуют и гидраты окиси железа, выпадающие в осадок. Соли, содержащиеся в воде, способствуют коррозии трубопроводов и оборудования. Поэтому сточные воды, отделенные от нефти на УКПН, необходимо очистить от механических примесей, капель нефти, гидратов окиси железа и солей, и только после этого закачивать в продуктивные пласты. Допустимые содержания в закачиваемой воде механических примесей, нефти, соединений железа устанавливают конкретно для каждого нефтяного месторождения. Для очистки сточных вод применяют закрытую (герметизированную) систему очистки.
В герметизированной системе в основном используют три метода: отстой, фильтрования и флотацию. Метод отстоя основан на гравитационном разделении твердых частиц механических примесей, капель нефти и воды. Процесс отстоя проводят в горизонтальных аппаратах - отстойниках или вертикальных резервуарах-отстойниках. Метод фильтрования основан на прохождении загрязненной пластовой воды через гидрофобный фильтрующий слой, например через гранулы полиэтилена. Гранулы полиэтилена «захватывают» капельки нефти и частицы механических примесей и свободно пропускают воду. Метод флотации основан на одноименном явлении, когда пузырьки воздуха или газа, проходя через слой загрязненной воды снизу вверх, осаждаются на поверхности твердых частиц, капель нефти и способствуют их всплытию на поверхность. Очистку сточных вод осуществляют на установках очистки вод типа УОВ-750, УОВ-1500, УОВ-3000 и УОВ-10000, имеющих пропускную способность соответственно 750, 1500, 3000 и 10000 м3/сут. Следует отметить, что установка УОВ-10000 состоит из трех установок УОВ-3000. Каждая такая установка состоит из четырех блоков: отстойника, флотации, сепарации и насосного.
Вместе с очищенной пластовой водой в продуктивные пласты для поддержания пластового давления закачивают пресную воду, полученную из двух источников: подземных (артезианских скважин) и открытых водоемов (рек). Грунтовые воды, добываемые из артезианских скважин, отличаются высокой степенью чистоты и во многих случаях не требуют глубокой очистки перед закачкой в пласты. В то же время вода открытых водоемов значительно загрязнена глинистыми частицами, соединениями железа, микроорганизмами и требует дополнительной очистки. В настоящее время применяют два вида забора воды из открытых водоемов: подрусловый и открытый. При подрусловом методе воду забирают ниже дна реки - " под руслом". Для этого в пойме реки пробуривают скважины глубиной 20-30 м диаметром 300 мм. Эти скважины обязательно проходят через слой песчаного грунта. Скважину укрепляют обсадными трубами с отверстиями на спицах и в них опускают водозаборные трубы диаметром 200 мм. В каждом случае получают как бы два сообщающихся сосуда - "река - скважина", разделенных естественным фильтром (слоем песчаного грунта). Вода из реки профильтровывается через песок и накапливается в скважине. Приток воды из скважины форсируется вакуум-насосом или водоподъемным насосом и подается на кустовую насосную станцию (КНС). При открытом методе воду с помощью насосов первого подъема откачивают из реки и подают на водоочистную станцию, где она проходит цикл очистки и попадает в отстойник. В отстойнике с помощью реагентов-коагуляторов частицы механических примесей и соединений железа выводятся в осадок. Окончательная очистка воды происходит в фильтрах, где в качестве фильтрирующих материалов используют чистый песок или мелкий уголь.
Все оборудование системы сбора и подготовки нефти и воды поставляют в комплектно-блочном исполнении в виде полностью готовых блоков и суперблоков.





















