Требования, предъявляемые к методам аналитического исследования
Лекция №3
Требования, предъявляемые к методам аналитического исследования
Требования, которые предъявляются к методам аналитических исследований, в первую очередь определяются биологической природой и свойствами объекта исследования.
Требования, которые необходимо учитывать при выборе метода лабораторного анализа:
Для проб внутренней среды:
— возможность исследования при малых уровнях воз-действующих энергий и гарантии сохранения исследуемого вещества неповрежденным;
— обеспечение специфичности исследования, т. е. способности получать показатели именно тех компонентов гетерогенной системы, которые позволяют эффективно решить поставленную медико-биологическую задачу;
Рекомендуемые материалы
— высокая чувствительность метода, т. е. получение существенных изменений выходных параметров сигналов при малых изменениях свойств биопробы;
— малые размеры активной зоны, т. е. минимизация объемов анализируемых биопроб;
— минимально возможное время исследования, например за счет перехода к импульсным режимам работы
Для проб окружающей среды:
— возможность определения следов органических и неорга-нических веществ, находящихся в пробе на уровне долей 10-9;
— достаточная селективность (специфичность);
— отсутствие сложной процедуры пробоподготовки;
— небольшая длительность выполнения исследования;
— возможность автоматизации методики (для проведения серийных анализов);
— независимость от уровня квалификации персонала;
— доступная стоимость оборудования;
— минимальные массогабаритные характеристики анализа-торов, позволяющие проводить исследование в полевых условиях;
— достаточная универсальность (определение большого количества веществ, с одной стороны, и возможность одновременного определения нескольких компонентов пробы — с другой.
Отмеченные требования определяют требования к измерительным преобразователям, например, такие, как их минимизация, высокая чувствительность, помехоустойчивость и др.
МЕТОДИЧЕСКИЕ СХЕМЫ ПРОВЕДЕНИЯ
АНАЛИТИЧЕСКИХ ИССЛЕДОВАНИЙ
Каждый из перечисленных выше методов предназначен для получения информации о состоянии или свойствах изучаемого объекта. Чтобы такая информация стала доступной для исследователя, последнему необходимо организовать само исследование, т. е. предварительно подготовить оборудование и объект к эксперименту, а затем подключить технические средства таким образом, чтобы получить требуемый результат с минимальными искажениями. Определим схему взаимного расположения объекта исследования и всех технических средств, необходимых для реализации выбранного метода лабораторного эксперимента, как методическую схему его выполнения.
При выборе методической схемы основное внимание должно быть уделено качеству получаемой исследовательской информации. При этом качество информации определяется степенью ее достоверности, достигаемой в ходе эксперимента, особенно при наличии мешающих факторов, сопровождающих процесс исследования.
Биопроба из ИС представляет интерес только потому, что несет в себе информацию о состоянии и свойствах этой среды, вещественным носителем которой является тот или иной ее компонент. В то же время Биопроба содержит мешающие компоненты, которые при проведении измерений могут исказить параметр сигнала, несущий исследовательскую информацию. Это различные примеси, а также вещества, которые могут дать при применении выбранного метода такую же реакцию, как и полезная составляющая. Такие компоненты можно считать вещественными помехами. Тогда смысл всех преобразований, проводимых с биопробой, следует определить как выделение из нее полезной (релевантной) составляющей. Следовательно, в процедуру пробоподготовки аналитического этапа целесообразно включать те операции по преобразованию биопробы в конечный продукт, которые позволяют освободиться (по возможности) от мешающих компонентов, но при этом сохранить сведения о тех свойствах исследуемой среды, ради изучения которых и ставится медико-биологический эксперимент.
Получение достоверных результатов предполагает учет следующих принципов адекватности:
— измеряемый физический параметр должен соответствовать исследуемой характеристике биопробы;
— все преобразования, входящие в пробоподготовку, должны изменять БП таким образом, чтобы обеспечить соответствие физических параметров конечного продукта свойствам исходной биопробы.
Методические схемы многих методов по принципам своего построения совпадают, что позволяет во всем их многообразии выделить несколько типовых вариантов.
Одной из самых распространенных схем является внутреннее энергетическое (методическое) воздействие на биопробу, которое осуществляется в первичном измерительном преобразователе анализатора. В зависимости от характера энергетического воздействия будут проявляться различные свойства пробы — каждое воздействие порождает ряд измерительных эффектов (см. подгл. 2.5). При этом доля энергии, измененная взаимодействием с веществом, преобразуется в электрический сигнал, параметры которого несут информацию об исследуемых свойствах пробы.
Все методы, основанные на эффектах взаимодействия пробы с потоком энергии, могут быть представлены общей методической схемой (рис.1 ).

Рис.1 Обобщенная методическая схема аналитического исследования
Пусть Е — поток энергии, подаваемой от специального источника (И) на измерительную кювету с КПИВ. Пренебрегая потерями энергии на пути к кювете, в материале кюветы и индифферентных веществах, можем утверждать, что в общем случае
,
где
— доли потока энергии, соответственно поглощенная (запасенная), рассеянная (отраженная) биопробой и прошедшая сквозь биопробу.
Энергия, запасенная биопробой, при определенных условиях может быть излучена в виде потока энергии Е*1 обычно имеющего иные характеристики, чем поток Е или Е1. Поток энергии Е3 может быть подвергнут воздействию со стороны вещества биопробы, при этом некоторые его параметры изменятся. Например, может измениться направление потока излучения в соответствии с законами преломления на границе сред с различными показателями преломления, направление плоскости поляризации и т. д. Такой поток энергии обозначен как Е*3. Энергия Е2 несет в себе информацию о параметрах взаимодействия пробы с падающим потоком Е. Та доля рассеянной энергии, которая подлежит измерению, обозначена как Е*2.
Доля энергии, содержащая информацию о свойствах пробы, улавливается приемником первичного измерительного преобразователя, в котором характеристики потока энергии преобразуются в физические параметры, удобные для дальнейшего преобразования или непосредственного измерения.
Рассмотренная методическая схема пригодна практически для всех методов прямого измерения, применяемых в аналитических исследованиях. Под методами прямого измерения обычно понимают методы, основанные на измерении энергии, несущей информацию о непосредственном взаимодействии вещества с падающим потоком энергии. Свойством, зависящим от природы вещества, является, например, длина волны спектральной линии в эмиссионной спектроскопии, потенциал полуволны в полярографии, а количественной характеристикой служит интенсивность сигнала — интенсивность спектральной линии в первом случае и сила диффузионного тока — во втором. В некоторых методах (абсолютные методы) связь аналитического сигнала с природой вещества установлена математически строго.
В методах косвенного измерения измерительная информация заключена в характеристиках дополнительно воздействующего на биопробу агента (например, химического), а рассмотренное ранее энергетическое воздействие используется только для индикации характерного состояния биопробы. Типичный пример — методы титрования, в которых концентрация исследуемого компонента в биопробе определяется таким количеством вещества известной концентрации (титранта), вступающего в химическую реакцию с анализируемым веществом, которое приводит пробу в характерное состояние (достижение точки эквивалентности), обнаруживаемое тем или иным способом. В ходе титрования измеряется интенсивность аналитического сигнала и строится кривая титрования, представляющая зависимость интенсивности сигнала от объема добавленного в пробу титранта. Точка эквивалентности находится по кривой титрования. Виды кривых весьма многообразны, так как интенсивность аналитического сигнала может быть связана с концентрацией определяемого компонента, титранта или продукта реакции.
Связь интенсивности аналитического сигнала I с концентрацией исследуемого компонента в прямых методах измерения имеет различный характер. Часто эта зависимость выражается простым линейным соотношением:
I = АС, (2.5)
Где
- некоторая константа; С — определяемая концентрация компонента.
ЛАБОРАТОРНЫЙ АНАЛИЗ КАК СРЕДСТВО ПОЛУЧЕНИЯ ДИАГНОСТИЧЕСКОЙ ИНФОРМАЦИИ
Как было отмечено ранее задача КДЛ состоит в получении достоверной диагностической информации о функционировании различных систем организма и о качестве среды его обитания.
Основными типами решаемых в лабораторных условиях задач являются определения вида и концентрации компонентов в исследуемой среде, а также структурного состояния отдельных компонентов путем проведения качественного или количественного анализа. Решив в комплексе задачи указанных типов, можно получить полное представление о любой пробе при данных условиях. Однако чаще всего бывает достаточно определить одно или несколько характерных свойств пробы, выявить какой-то специфический компонент или небольшую их группу, чтобы сделать необходимый вывод по существу поставленной диагностической, научной или производственной задачи.
Таким образом, в КДЛ определяются характеристики биологических субстанций, которые участвуют в процессах, протекающих в организме. К подобным характеристикам можно отнести качественный и количественный состав биопробы, данные о структуре, геометрических соотношениях, объемах, а также о динамике изменения свойств каких-либо компонентов в процессе жизнедеятельности.
Чаще всего целью анализа является определение наличия конкретного компонента или диагностически значимого отклонения в его содержании. Например, начальная стадия заболевания диабетом часто фиксируется по повышению уровня сахара в крови, а для диагностики анемии значимым является отклонение в содержании гемоглобина и эритроцитов в крови, которые в норме всегда присутствуют в организме. Для многих заболеваний уже само наличие некоторого компонента свидетельствует о патологии, например присутствие белка или эритроцитов в моче, изменение в лейкоцитарной формуле крови и т. п.
Для проб окружающей среды интерес представляет, прежде всего, определение количественного содержания (концентрации) компонентов вещества, опасных для жизнедеятельности человека. Для описания качества среды обитания человека вводятся предельно допустимые концентрации (ПДК) основных токсических составляющих, контроль поддержания которых обеспечивается специальными службами — СЭС и СЭК. Примерами подобных исследований могут служить определение следов тяжелых металлов в питьевой воде, концентрации пестицидов в сточных водах, уровня запыленности воздуха в производственных помещениях и др.
Анализ любой пробы подразумевает измерение ряда (множества) параметров различной физической природы — механических, электрических, магнитных, оптических и др., однозначно связанных с изучаемой характеристикой или компонентом исходного вещества пробы. Поэтому здесь применяются те же физико-химические методы, что и в лабораториях, исследующих другие органические и неорганические материалы, и используется универсальная аппаратура.
Прямое измерение соответствующего параметра биопробы часто оказывается невозможным из-за сложного состава вещества и наличия примесей, которые дают те же реакции, что и интересующий исследователя компонент. Возникает необходимость в специальных преобразованиях, которые позволили бы, во-первых, подготовить его к соответствующей процедуре измерения и, во-вторых, трансформировать определенным образом для наиболее эффективного извлечения информации. Такие преобразования (так называемая пробоподготовка) обычно представляют собой достаточно сложную и продолжительную по времени последовательность различных операций по трансформированию исходного вещества пробы в конечный продукт, физические параметры которого будут затем измерены. Процедура пробоподготовки предполагает выполнение целого ряда операций, отличающихся для разных методик лабораторного анализа: дозирование, перемешивание, термостатирование, фракционирование, химическая трансформация и т. п.
Сложной часто оказывается и последовательность операций, связанных с получением результата анализа (измерительная процедура). При использовании измерительных преобразователей, на выходе которых формируются электрические сигналы, в нее могут включаться различные операции по обработке сигналов: частотная фильтрация, модуляция-демодуляция, интегрирование, нелинейные функциональные преобразования и т. п.
Последовательность всех описанных операций, их продолжительность и условия выполнения образуют своеобразный технологический процесс (ТП) выполнения соответствующего анализа.
Для стандартизации, планирования, учета и контроля ТП делят на технологические операции (ТО).
Технологическая операция - комплекс непрерывно чередующихся действий оборудования и специалистов лаборатории, обеспечивающих заданное изменение свойств поступившего на исследования биологического материала в конкретных условиях. При этом границы операции устанавливаются исходя из удобств и возможностей "непрерывного" выполнения действий оборудованием и специалистами в определенный отрезок времени. Непрерывность выполнения действий, составляющих операцию, характеризуется строгой последовательностью взаимосвязанных и взаимозависимых действий внутри операции. Операция не может состоять из произвольного количества несвязанных между собой действий. Она всегда представляет их комплексно, т.е. в необходимом и целесообразном сочетании действий, образующих операцию.
Результат - это качественная лабораторная информация (результат анализа), способная влиять на качество оказания медицинской помощи пациенту. Результат является следствием процесса. Эффективность результатов лабораторных исследований - это степень соответствия достигнутого результата научно прогнозируемому и ожидаемому. Управление качеством результата - это непрерывное совершенствование технологического процесса производства клинических лабораторных исследований.
Для обоснованного суждения о качестве результатов необходимо разработать критерии оценки технологического процесса производства анализов, отслеживать критерии и на основании отклонения от них управлять этим качеством (посредством усовершенствования процесса). Обычно в качестве критериев выступают национальные стандарты профессиональных организаций по выполнению тех или иных процедур.
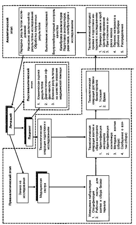
Единый процесс производства клинических лабораторных исследований состоит из 3-х этапов: доаналитический, аналитический и постаналитический. В свою очередь, каждый из этапов делится на частные лабораторные технологические процессы и технологические операции.
Доаналитический этап:
§ операция составления заявки на исследования;
§ технологический процесс подготовки пациента к исследованиям, взятия, сбора и транспортировки биоматериала в лабораторию; этот процесс состоит из следующих операций:
- подготовки пациента к лабораторным исследованиям;
- взятия крови на исследования;
- сбора различного биоматериала;
- доставки или транспортировки взятого и собранного материала в лабораторию.
Аналитический этап:
§ технологический процесс приема и обработки материала, доставленного в лабораторию, и подготовка его к исследованиям; этот процесс состоит из следующих операций:
- приема материала на исследования;
- подготовки доставленного материала к исследованиям;
§ технологический процесс проведения исследований, который состоит из следующих операций:
- подготовки анализаторов, реактивов, калибраторов к проведению исследований;
- калибровки анализаторов;
- проведения внутрилабораторного контроля качества;
- частных технологических процессов проведения исследований;
- обработки полученных результатов, их регистрации;
- написания заключений по результатам исследований;
- передачи результатов исследований;
- составления статистических отчетов;
- обслуживания и ухода за анализаторами.
Постаналитический этап:
§ технологический процесс оценки результатов лабораторных исследований, эффективного использования их в лечебно-диагностическом процессе и оценки влияния результатов анализов на улучшение качества оказания медицинской помощи пациентам, который состоит из следующих операций:
В лекции "28.Пандора" также много полезной информации.
- оценка результатов лабораторных исследований;
- использование результатов анализов в лечебно-диагностическом процессе;
- оценка влияния результатов анализов на улучшение качества оказания медицинской помощи пациентам.
Взаимосвязь трех этапов технологического процесса получения результатов лабораторных исследований и составляющих его операций представлена на схеме 1.

Схема 1. Этапы технологического процесса производства клинических лабораторных исследований





















