- Пневмораспределители
Лекция 7
НАПРАВЛЯЮЩАЯ И РЕГУЛИРУЮЩАЯ ПОДСИСТЕМА
Функциональное назначение пневматических элементов, образующих направляющую и регулирующую подсистему пневмопривода, заключается в управлении энергией сжатого воздуха, поступающего от источника (компрессорной станции) к потребителю (исполнительным механизмам).
В направляющих и регулирующих устройствах воздействие на поток сжатого воздуха осуществляется посредством подвижных запорно-регулирующих элементов (ЗРЭ). Назначение запорно-регулирующего элемента, вне зависимости от конструктивного исполнения, состоит в изменении величины проходного сечения канала, через который движется воздушный поток; при этом данное изменение может быть как дискретным (канал закрыт — канал открыт), так и плавно-непрерывным. Дискретный режим работы характерен для направляющей и запорной аппаратуры, а в регулирующей аппаратуре запорно-регулирующий элемент постоянно находится в «плавающем» режиме.
В зависимости от способа воздействия запорно-регулирующего элемента на поток сжатого воздуха практически все устройства, входящие в направляющую и регулирующую подсистему пневмоприводов, подразделяются на два больших класса: аппаратуру клапанного типа и аппаратуру золотникового типа (рис. 1).

Рис. 1. Принцип действия аппаратов клапанного и золотникового типов
От типа конструктивного исполнения аппарата (клапанный или золотниковый) зависят характеристики процесса его переключения (усилие, длина хода ЗРЭ), степень герметичности, уровень требований к чистоте рабочей среды и необходимость смазки.
Рекомендуемые материалы
В аппаратуре клапанного типа запорно-регулирующий элемент перемещается вдоль осевой линии потока. Достоинства такого конструктивного решения очевидны: обеспечение полной герметичности при отсечении одной пневмолинии от другой, пониженная чувствительность к воздействию загрязнителей, возможность работы без смазки, а также высокое быстродействие (незначительное перемещение ЗРЭ приводит к существенному изменению площади проходного сечения).
К недостаткам аппаратуры клапанного типа можно отнести необходимость приложения значительных усилий для перемещения ЗРЭ, что связано с необходимостью преодоления сил, возникающих от давления сжатого воздуха на ЗРЭ, или сил сопротивления пружин, прижимающих ЗРЭ к седлу клапана.
В аппаратуре золотникового типа ЗРЭ перемещается перпендикулярно осевой линии потока. Усилие, обусловленное давлением сжатого воздуха на ЗРЭ (зщоллтника), не приводит к какому-либо его смещению т.к. силы давления на торцы золотника уравновешены (золотник разгружен). Для перемещения ЗРЭ необходимо преодолеть только силы трения между ним и корпусом.
Для полного открытия рабочего канала золотник необходимо переместить как минимум на величину диаметра канала (на что требуется затратить определенное время). Зазор между золотником и расточкой корпуса является «узким» местом, учитывая возможность засорения зазора и заклинивания золотника.
Для управления небольшими по величине расхода потоками сжатого воздуха следует использовать преимущественно аппаратуру клапанного типа; а аппаратуру золотникового типа — для управления потоками воздуха с большим расходом.
Пневматические распределители
Пневматические распределители (пневмораспределители) относятся к направляющей аппаратуре и предназначены для управления направлением движения потоков сжатого воздуха. Управление осуществляется путем изменения (при переключении) схемы соединения внутренних каналов распределителя с входным и выходными присоединительными отверстиями. Функциональные возможности распределителей характеризуются рядом параметров: количество рабочих каналов, количество позиций переключения, нормальная позиция, способ управления и пропускная способность.
Каждая позиция распределителя (возможная схема внутренних соединений) обозначается квадратом, в котором показаны пути потока сжатого воздуха (рис. 2).

Рис.2. Принцип формирования условного графического обозначения распределителей
На рис.2 подвижной запорный элемент может занимать две дискретные позиции, соответствующие двум состояниям пневмораспределителя: 1) «проход воздуха закрыт»; 2) «проход воздуха открыт». При этом запорный элемент может коммутировать между собой две линии: 1) линию питания (вход); 2) линию потребителя (выход). Соответственно данный распределитель можно назвать двухлинейным и двухпозиционным, что и отражается в его условном графическом обозначении.
Для характеристики возможности распределителей по коммутации каналов, применяют дробное цифровое обозначение, где в числителе указывают количество коммутируемых линий, а в знаменателе — количество возможных позиций. В соответствии с этим принципом аппарат на рис.2 будет называться 2/2-пневмораспределителем.
На принципиальных схемах распределители изображают так, чтобы линии связи (внешние пневматические линии) были подведены к тому квадрату, который обозначает исходную позицию распределителя.
В связи с тем что в пневматических приводах, в отличие от гидравлических, не требуется наличие возвратной сливной магистрали, отработавший воздух можно сбрасывать непосредственно в атмосферу.
Для управления пневмоцилиндрами одностороннего действия применяют пневмораспределитель который имеет возможность коммутировать линии питания, потребителя и выхлопа. (рис. 3).

Рис. 3 Модель и условное графическое обозначение 3/2-пневмораспределителя
3/2-пневмораспределитель коммутирует между собой три рабочих линии (рис. 4): 1 —линию питания, 2 — линию потребителя и 3 — линию выхлопа. При этом сам распределитель может занимать две позиции: питание перекрыто, потребитель связан с выхлопом; сжатый воздух поступает к потребителю, выхлоп перекрыт.
Рис.4. Управление пневмоцилиндром одностороннего действия 3/2-пневмораспределителем
Очевидно, что для управления пневмоцилиндрами двустороннего действия потребуются более сложные распределители, т. к. в этом случае нужно обеспечивать перераспределение потоков сжатого воздуха между двумя рабочими полостями исполнительного механизма и сброс из них отработавшего воздуха (рис.5.).

Рис. 5.. Управление пневмоцилиндром двустороннего действия 4/2-пневмораспределителем
Четырехлинейный двухпозиционный пневмораспределитель (4/2-пневмораспределитель) позволяет поочередно подавать сжатый воздух из магистрали высокого давления 1 по рабочим каналам 2 или 4 в одну из полостей пневмоцилиндра с одновременным соединением другой с атмосферой 3.
На практике для управления пневмоцилиндрами двустороннего действия наиболее широко используют 5/2-пневмораспределители (рис. 6).

Рис. 6. Управление пневмоцилиндром двустороннего действия 5/2-пневмораспределителем
Хотя 5/2-пневмораспределители имеют более сложное графическое обозначение, они проще по конструктивному исполнению, а их функциональные возможности несколько шире, чем у 4/2-пневмораспределителей, что обусловлено наличием не одного, а двух выхлопных каналов 3 и 5, отдельных для каждой рабочей полости цилиндра.
Для решения более сложных задач управления пневмоцилиндрами используют трехпозиционные распределители, имеющие более широкие функциональные возможности. Это связано с тем, что такие распределители позволяют осуществить не два, а три варианта коммутации пневмолиний.
Нумерация каналов, использованная на приведенных выше схемах, не является случайной, а отвечает стандартам, в соответствии с которыми для обозначения рабочих и управляющих каналов пневматических аппаратов и устройств применяют определенную буквенную или цифровую индексации (табл. 1).
Приведенная в табл. 1 индексация может быть проставлена на принципиальных пневматических схемах. Этими индексами маркируют присоединительные отверстия в корпусах пневмоаппаратов, что позволяет корректно осуществить монтаж пневмосистем.
Переключение пневмораспределителей из одной позиции в другую осуществляется перемещением их ЗРЭ посредством внешних управляющих воздействий.
Различают следующие виды управления распределителями: ручное, ножное механи-ческое; пневматическое; электрическое; комбинированное.
Индексация (маркировка) линий (присоединительных отверстий) пневмоаппаратов Табл. 1.
| Наименование линии | Буквенная индексация | Цифровая индексация |
| Линия питания (вход) | Р | 1 |
| Линия потребителя (выход) | А, В | 2,4 |
| Линия выхлопа (сброс воздуха в атмосферу) | R, S | 3,5 |
| Линия управления | X, Y, Z | 10, 12, 14 |
Одна и та же базовая модель пневмораспределителя может быть снабжена различными управляющими элементами.
При чтении принципиальных пневматических схем следует иметь в виду, что управляющий сигнал, подаваемый слева, переключает распределитель в позицию, обозначенную в условном графическом обозначении этого аппарата левым квадратом, а сигнал, подаваемый справа, — в позицию, обозначенную правым квадратом.
В отличие от рабочих пневмолиний, для которых используют одноцифровые индексы, линии управления пневмоаппаратами обозначают двузначными числами (рис. 5.10; см. также табл. 2).

Рис. 7
Индексация линий управления пневмо-распределителеи
Первая цифра в подобном двузначном обозначении совпадает с индексом линии питания, а вторая — с индексом линии потребителя, в которую будет поступать сжатый воздух после подачи управляющего сигнала. Так, индекс 12 (рис. 7, а, б) на линии управления обозначает, что при наличии в этой линии пневматического сигнала управления сжатый воздух будет поступать к потребителю по рабочей линии 2. Чтобы закоммутировать линию потребителя 4 с линией питания 1, управляющий сигнал надо подать в линию 14 (рис. 7, в).
Индекс 10 (рис. 7, а) проставляется на линиях управления нормально открытых пневмораспределителеи и обозначает, что в случае поступления в эту линию сигнала управления подача сжатого воздуха потребителю прекратится (обнулится).
Моностабильные пневмораспределители
Пневмораспределители, которые переключаются в нормальную позицию посредством возвратных пружин, называют моностабильными. Нормальное для данной конструкции е состояние – нейтральная (исходная) позиция.
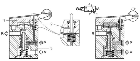
На рис. 8, представлена конструкция моностабильного нормально закрытого 2/2-пневмораспределителя с механическим управлением.

Рис. 8. Нормально закрытый 2/2-пневмораспределитель с механическим управлением
Вв исходной позиции запорно-регулирующий элемент 3 пневмораспределителя, выполненный в виде полусферы, под действием пружины 4 и давления питания прижат к седлу 2, перекрывая тем самым подачу сжатого воздуха в канал потребителя А, — т. е. пневмораспределитель нормально закрыт. При наличиивнешнего управляющего воздействия, величина которого должна быть достаточной для преодоления усилия от возвратных пружин и давления, действующего на клапан 3, толкатель 1 снимает клапан-3 с_седла 2, и пнев-мораспределитель занимает позицию, в которой каналы питания Р и потребителя А сообщаются между собой. На рис. 9 изображены два варианта конструктивного исполнения нормально закрытого 3/2-пневмораспределителя с механическим управлением. Отличие между ними заключается в том, что в одном (рис. 9, б) заложена возможность подсоединения к линии выхлопа R (например, можно ввернуть глушитель), а в другом (рис. 9, а) это действие осуществить нельзя.

Рис. 9. Нормально закрытые 3/2-пневмораспределители с механическим управлением
Такое различие находит отражение в условном графическом обозначении пневмораспределителей: если исключена возможность подсоединения к отверстию выхлопа, то треугольник, указывающий на сброс воздуха в атмосферу, примыкает вплотную к обозначению пневмораспределителя; в противном случае он отделяется от последнего вертикальной чертой.
Оба пневмораспределителя срабатывают в два этапа: при движении толкателя в момент его контакта с клапаном перекрывается выполненный в нем канал выхлопа, и только при дальнейшем движении соединяются каналы питания Р и потребителя А.
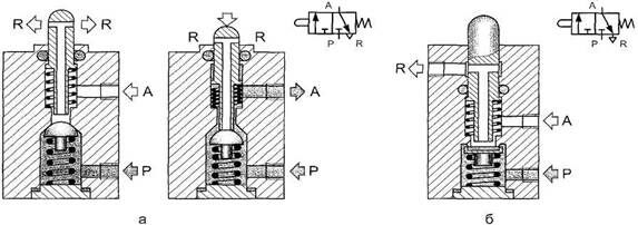
Примерно по такой же схеме работает и нормально открытый 3/2-пневмораспределитель (рис. 10).

Рис. 10. Нормально открытый 3/2-пневмораспределитель с механическим управлением
Данная конструкция имеет два дисковых клапана, причем в исходном состоянии верхний отсекает канал выхлопа R, а через открытый нижний воздух протекает из канала питания Р к потребителю через канал А.
Движение толкателя вниз сопровождается двухступенчатым срабатыванием пневмораспределителя. На первой ступени нижний клапан, жестко связанный с толкателем, опускается на подпружиненное седло, перекрывая подачу сжатого воздуха. Верхний клапан, в свою очередь, остается поджатым к своему седлу вплоть до момента контакта с буртиком толкателя. Только после этого в результате дальнейшего совместного движения толкателя с нижним клапаном и его седлом верхний клапан открывается, и устанавливается соединение потребителя с выхлопом (вторая ступень).
Альтернативой сложным по конструктивному исполнению распределителям клапанного типа являются золотниковые распределители.
Принадлежность к классу аппаратов клапанного или золотникового типов не находит отражения в условном графическом обозначении пневматических распределителей, хотя эти типы аппаратуры существенно различаются по функциональным возможностям.
Так, 3/2-пневмораспределитель золотникового типа (рис. 11) можно использовать и как нормально закрытый (индексация каналов, поясняющая схему коммутации, дана без скобок), и как нормально открытый (индексация дана в скобках).

Рис. 11. Нормально закрытый 3/2-пневмораспределитель золотникового типа с механическим управлением
Подача сжатого воздуха в каналы Р или R не приводит к возникновению на золотнике усилий, вызывающих его смещение из нормальной позиции, т. к. и в том, и в другом случаях золотник остается гидравлически разгруженным.
Если попытаться использовать нормально закрытый пневмораспределитель клапанного типа (см. рис. 10) как нормально открытый (путем подачи сжатого воздуха в канал R), то в этом случае произойдет самопроизвольное открытие клапана и воздух начнет поступать во все каналы одновременно.
Обычно пневмораспределители, в конструкции которых заложена возможность использования их в качестве нормально открытых или нормально закрытых, имеют два альтернативных обозначения на бирке которой производители снабжают каждый аппарат.
Золотниковые распределители, как правило, позволяют пропускать через себя воздух и в обратном направлении — из канала А в канал R или (при переключении) Р. Когда на принципиальной пневматической схеме важно отразить данное свойство золотникового распределителя, стрелки на его условном графическом обозначении, показывающие пути потока воздуха, изображают двусторонними.
В тех случаях, когда сжатый воздух подается к исполнительным механизмам непосредственно от пневмораспределителей с механическим или ручным управлением, говорят о прямом управлении (рис. 12).

Рис. 12. Прямое управление пневмоцилиндрами
Пневмораспределители, управляющие исполнительными механизмами, также называют исполнительными.
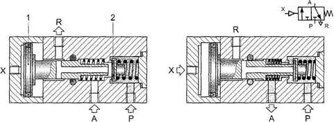
Пневматическое управление распределителями используют в тех случаях, когда необходимо осуществлять дистанционное управление их работой. Чтобы распределитель был с пневматическим управлением, в конструкцию вводят поршень 1, перемещение которого и приводит в движение запорный элемент 2 (рис. 13).

Рис.13. Нормально закрытый 3/2-пневмораспределитель с пневматическим управлением
Рассмотрим схему управления пневмоцилиндром одностороннего действия с использованием распределителя с пневматическим управлением (рис. 14).

Рис. 14. Непрямое управление пневмоцилиндром одностороннего действия (исполнительный распределитель — нормально закрытый)
В предложенной схеме пневмораспределитель с ручным управлением (пневмокнопка) управляет работой пневмоцилиндра путем подачи сигнала на исполнительный распределитель с пневматическим управлением.
Схема несколько видоизменится, если исполнительный пневмораспределитель будет нормально открытым (рис. 15).

Рис. 15. Непрямое управление пневмоцилиндром одностороннего действия (исполнительный распределитель — нормально открытый)
В моностабильных пневмораспределителях возврат запорно-регулирующего элемента в исходное положение может осуществляться не только посредством механических пружин, но и под действием давления сжатого воздуха (пневматической пружины) (рис. 16).

Рис. 16. 5/2-невмораспределитель с пневматическим управлением и возвратом
В исходной позиции золотник 2 находится в крайнем левом положении, т. к. на его правый поршень 4 через специальный канал 3, связанный с линией питания, подается сжатый воздух. При поступлении управляющего сигнала в канал Y золотник 2 сместится вправо, поскольку площадь левого поршня 1 значительно больше площади правого поршня 4.
В некоторых конструкциях возврат ЗРЭ в исходную позицию осуществляется под действием одновременно и механической, и пневматической пружин. Такое сочетание обеспечивает более высокую стабильность и надежность переключения пневмораспределителя.
В тех случаях, когда имеются технологические ограничения на величину управляющих сигналов, применяют распределители с пневматическим усилением управляющего сигнала (пилотным управлением) (рис. 17).

Рис. 17. 3/2-пневмораспределитель с пневматическим усилением управляющего сигнала
В таких конструкциях (в данном случае это путевой выключатель) усилие переключения прикладывается к небольшому вспомогательному (пилотному) распределителю 2, функцией которого является подача пневматического сигнала управления на основной пневмораспределитель 3, непосредственно осуществляющий коммутацию внешних пневмолиний. Поскольку площадь клапана пилотного распределителя невелика, то усилие, необходимое для переключения последнего, минимально.
Рассмотренная конструкция позволяет трансформировать нормально закрытый пневмораспределитель в нормально открытый. Для этого надо развернуть управляющую головку с роликом 1 на 180° и подавать сжатый воздух в канал R.
В тех случаях, когда требуется контролировать какой-либо объект при его движении только в определенном направлении, применяют распределители с управлением от «ломающегося» рычага с роликом (рис. 18).

Рис. 18. Принцип действия «ломающегося» рычага с роликом
Конструкция рычага выполнена таким образом, что он воздействует на толкатель пневмораспределителя только в том случае, если движение штока пневмоцилиндра или другого контролируемого объекта происходит в определенном направлении (рис. 18, а). Пневмораспределитель не срабатывает при движении объекта в противоположном направлении, поскольку рычаг с роликом проворачивается на оси («ломается») и не передает управляющее воздействие на толкатель (рис. 18, б).
Управление сложными объектами с пневматическими приводами базируется преимущественно на электрических и электронных системах, имеющих широкие возможности сбора, обработки информационных и формирования управляющих электрических сигналов, и высокое быстродействие. Независимо от элементной базы управляющих систем (релейно-контактная или микропроцессорная техника), в силовой части привода применяют пневматические распределители с электромагнитным управлением. Работа подобных пневмораспределителей основывается на свойстве находящихся под напряжением электромагнитных катушек втягивать расположенный в них якорь.
Запорно-регулирующий элемент в таких аппаратах располагают непосредственно на торцах якоря, который помещается в гильзу, ввинченную в корпус. Снаружи гильза охватывается приводной электромагнитной катушкой (рис. 19).

Рис. 19 3/2-пневмораспределитель с электромагнитным управлением и ручным дублированием
Если электромагнитная катушка 7 обесточена, якорь 5 прижат пружиной 4 к седлу клапана 3, перекрывая канал Р, по которому подводится сжатый воздух; выходной канал А соединен с атмосферой через пазы на наружной поверхности якоря. Напряжение на катушку 7 подается через присоединительный элемент — коннектор 8, при этом якорь 5, преодолевая усилие пружины 4, поднимается до седла клапана 6, закрывая канал R выхода воздуха в атмосферу и открывая канал, соединенный с отверстием для подведения сжатого воздуха. Сжатый воздух подается в линию потребителя (канал А).
Пневмораспределители с электромагнитным приводом имеют, как правило, ручное дублирование, используемое обычно при пусконаладочных работах или при поиске отказа (если распределитель срабатывает от элемента ручного управления, это свидетельствует о том, что не работает катушка). Включают пневмораспределитель нажатием или проворотом специального устройства (рис, 19, поз.1) механически поднимающего якорь с седла клапана. После проверки работоспособности распределителя элемент ручного управаления необходимо выставить в положение не препятствующее свободному перемещению якоря.
К моностабильным пневмораспределителям, относится большое число трехпозиционных распределителей. Обычно нормальной для них является средняя позиция, в которую они выставляются посредством двух пружин, центрирующих их запорно-регулирующий элемент. Так, используя 5/3-пневмораспределитель с двусторонним пневматическим управлением и закрытой центральной позицией, можно обеспечить останов пневмоцилиндра в любом промежуточном положении (рис. 20).

Рис. 20. Использование 5/3-пневмораспределителя для позиционирования пневмоцилиндров
При нажатии на одну из пневмокнопок, например 1.3, шток цилиндра 1.0 начнет перемещаться, а при отпускании ее он остановится, поскольку исполнительный распределитель 1.1 займет центральную позицию, в которой все линии перекрыты (при этом точность позиционирования цилиндра будет достаточно низкой).
На принципиальных пневмосхемах условному графическому обозначению каждого пневмоустройства присваивают буквенно-цифровое позиционное обозначение по ГОСТ 2.704-76) или (в зарубежных схемах) цифровой индекс, формируемый по определенным правилам (табл.2).
Цифровая индексация пневматических устройств Табл. 2.
| Наименование устройства | Индекс |
| Аппаратура подготовки сжатого воздуха | 0.1,0.2,0.3, ... |
| Исполнительные механизмы (ИМ) | 1.0,2.0,3.0, ... |
| Исполнительные распределители | 1.1,2.1,3.1, ... |
| Устройства, подающие сигналы на выдвижение штока цилиндра (после точки — четное число) | 1.2, 1.4, 1.6, ... (для 1-го ИМ) 2.2,2.4,2.6, ... (для 2-го ИМ) |
| Устройства, подающие сигналы на втягивание штока цилиндра (после точки — нечетное число) | 1.3, 1.5, 1.7, ... (для 1-го ИМ) 2.3,2.5,2.7, ... (для 2-го ИМ) |
| Регуляторы скорости и устройства, расположенные между исполнительными механизмами и исполнительными распределителями (будут рассмотрены ниже) | 1.01, 1.02, ... 2.01,2.02, ... |
Индексы всех элементов, управляющих исполнительным механизмом 1.0, начинаются с цифры 1, управляющих исполнительным механизмом 2.0 — с цифры 2 и т. д. Это означает, что где бы «территориально» на схеме ни располагался элемент, (например, 1.10), он будет находиться в ветви управления соответствующим исполнительным механизмом (в нашем случае — 1.0).
В тех случаях, когда невозможно придерживаться правила использования четных и нечетных цифр после точки в зависимости от типа команды (втягивание или выдвижение штока цилиндра), применяют сквозную индексацию.
Бистабилькые пневмораспределители (с фиксацией положения)
Двухпозиционные пневмораспределители, которые после снятия управляющего внешнего воздействия остаются в позиции, определяемой этим воздействием, называют бистабильными (с памятью позиции последнего переключения). Возврат их в исходную позицию осуществляется после подачи противоположного по значению управляющего сигнала. В качестве примера рассмотрим отсечный нормально закрытый 3/2-пневморасп-ределитель с ручным управлением (рис. 5.24), предназначенный для подачи сжатого воздуха в пневмосистему и сброса из нее.

Рис. 21. Отсечный нормально закрытый 3/2-пневмораспределитель с ручным управлением
Данный распределитель может находиться в одной из двух возможных позиций переключения сколь угодно долго, поскольку в его конструкции отсутствуют элементы, однозначно определяющие положение запорно-регулирующего элемента.
У бистабильных распределителей с пневматическим управлением, входящих в состав пневмопривода, исходная позиция определяется не особенностями конструкции, а связями с элементами, управляющими этими аппаратами.
Для пояснения сказанного рассмотрим, например, две схемы управления воротами с пневматическим приводом (рис. 22).

Рис. 22. Использование бистабильного 5/2-невмораспределителя для управления пневмоцилиндром
Несмотря на то что в схеме а исходная позиция бистабильного пневмораспределителя 1.1 обеспечивает втянутое положение штока пневмоцилиндра, а в схеме б — выдвинутое, мы имеем дело, по существу, не с двумя схемами, как может показаться на первый взгляд, а с одной и той же, но описывающей различные исходные состояния пневмопривода. Очевидно, что после кратковременного нажатия на пневмокнопку 1.2 схема а трансформируется в схему б, а схема б после кратковременного воздействия на кнопку 1.3 — в схему а.
Бистабильные пневмораспределители способны «запоминать» последний поданный сигнал управления. Действительно, и в 4/2-пневмораспределителе с плоским золотником (рис. 23 а), и в 5/2-пневмораспределителе (рис. 23, б) даже после снятия сигнала в линии управления X переключающий элемент остается в крайнем правом положении до тех пор, пока не поступит команда в линию управления Y.

Рис.23. Бистабильные 4/2- и 5/2-пневмо-распределители с пневматическим управлением
Так как площади управляющих поршней в бистабильных пневмораспределителях одинаковы, то в том случае, когда в обоих каналах управления распределителя присутствуют сигналы, он будет устанавливаться в позицию, определяемую сигналом, который пришел первым. Это свойство бистабильных пневмораспределителей часто используют в пневматических системах управления.
Если пневмораспределители, у которых органы управления ЗРЭ удерживаются в рабочих позициях силами трения устанавливают на машинах с повышенным уровнем вибрации, то их положение должно быть строго горизонтальным. В противном случае может произойти самопроизвольное переключение ЗРЭ в нижнюю позицию.
Бистабильные пневмораспределители с электропневматическим управлением, по существу, представляют собой комбинацию двух пилотных электроуправляемых 3/2-пневмораспределителей 1 и базового распределителя 2 с двусторонним пневматическим управлением. Сжатый воздух подводится к пилотным распределителям, располагающимся, как правило, на торцах базового распределителя, по специальным каналам 3, выполненным в корпусе последнего и соединенным с каналом питания Р (рис. 24).

Рис. 24. Бистабильный 5/2-пневмораспределитель с электропневматическим управлением
При подаче напряжения на одну из электромагнитных катушек срабатывает соответствующий пилотный распределитель, пропуская сжатый воздух к торцу ЗРЭ основного распределителя, что приводит к переключению последнего.
Иногда распределители такого типа называют импульсными, поскольку для их срабатывания достаточно подать кратковременный (импульсный) управляющий сигнал.
Монтаж пневмораспределителей
Способы монтажа пневматических распределителей обусловливаются их монтажно-коммуникационными параметрами, т. е. вариантами присоединения внешних пневмолиний, крепления отдельных аппаратов и их компоновки в единую систему.
Монтаж может быть индивидуальным и групповым. При индивидуальном монтаже каждый аппарат крепят и подсоединяют к системе без общих коммуникационных и монтажных деталей, трубопроводов или каналов в корпусных деталях машин, узлов, приспособлений и т. п.
Индивидуальный монтаж может быть резьбовым (трубным) или стыковым. При резьбовом монтаже (рис. 25, а) пневмораспределители устанавливают на корпусных деталях машин и подключают к пневматической системе посредством соединений, ввинчиваемых непосредственно в резьбовые отверстия, которые предусмотрены в корпусе распределителя.

Рис. 25 Способы монтажа пневмо-распределителей
При стыковом монтаже (рис. 25, б) пневмораспределители, все присоединительные отверстия которых расположены с одной стороны, устанавливают на специальные монтажные плиты, через которые осуществляются их коммутация с пневмосистемой и фиксация на технологической установке. Такой способ монтажа позволяет заменять распределители без демонтажа трубопроводов.
Если места установки пневмораспределителей не регламентированы, то размещают их как можно ближе к исполнительному механизму, что позволяет повысить быстродействие, уменьшить непроизводительные потери сжатого воздуха и суммарную длину трубопроводов. В частности, чем ближе распределитель установлен к пневмоцилиндру двустороннего действия, тем на большее расстояние (от блока подготовки воздуха до пневмораспределителя) прокладывают один трубопровод, а не два (от распределителя к цилиндру).
Пневмораспределители с ручным управлением, приводом которых служат рычаг, рукоятка и т.п., монтируют таким образом, чтобы орган управления: 1) перемещался в направлениях, совпадающих с соответствующими направлениями движения механизма, и в любой позиции был в пределах досягаемости оператора в обычном рабочем положении последнего; 2) не создавал помех своими перемещениями рабочим движениям оператора; 3) в связи с особенностями своего расположения не вынуждал оператора совершать какие-либо действия в непосредственной близости от вращающихся или движущихся частей механизмов.
При групповом монтаже аппараты крепят и подсоединяют к системе с помощью общих или унифицированных монтажных и коммуникационных деталей. Различают блочный и модульный групповой монтаж. Так блочный монтаж (рис. 25, в) осуществляют путем установки пневмораспределителей стыкового исполнения на общую многоместную плиту, в которой выполнены каналы питания и выхлопа. Если предполагается дальнейшее развитие пневматической системы, то устанавливают плиту с резервными посадочными местами, которые закрывают специальными заглушками.
Для модульного монтажа (рис. 25, г) характерно формирование общих каналов питания и выхлопа при состыковке боковых плоскостей распределителей или монтажных плит. Отдельные модули соединяют в блоки с помощью стяжек либо концевых плит. Уплотнительные кольца круглого поперечного сечения, установленные в цилиндрических расточках присоединительных отверстий, обеспечивают герметичность соединений подводящих и отводящих каналов. Преимущество такого способа монтажа состоит в том, что в случае изменения конфигурации системы допускается увеличение или сокращение числа модулей, составляющих блок, без нарушения работы входящих в него компонентов.
Наиболее часто в сложных системах с электропневматическими распределителями применяют блочный монтаж. При этом пневмораспределители в совокупности с электронными блоками объединяют в так называемые пневматические острова (рис. 26), управляемые промышленными контроллерами или функционирующие автономно. Компактность расположения пневмораспределителей значительно упрощает пусконаладочные и ремонтные работы и облегчает их коммуникацию с электронной системой управления.

Рис. 26. Пневмати-ческие острова
Определение параметров пневмораспределителей
Выбор пневмораспределителя заключается в подборе типоразмера ,удовлетворяющего требуемым параметрам: схеме коммутаций потоков, виду управления, способу монтажа, габаритным размеры, пропускной способности (расходные характеристики) и т.п.
Чтобы упростить процедуру подбора пневмораспределителя, производители пневматического оборудования приводят в технической документации данные по их пропускной способности.
В настоящее время применяют три способа задания расходных характеристик.
1. Расходная характеристика выражается величиной объемного расхода QH [л/мин], при технических нормальных условиях (t = 20°С, рн - 101,3 кПа).
Схема установки для продувки пневмораспределителей с целью определения их пропускной способности (расходной характеристики) представлена на рис. 27.

Рис. 27. Схема установки для определения пропускной способности пневмораспределителей
2. Расходная характеристика задается параметром, характеризующим сопротивление распределителя. В качестве такого параметра применяют пропускную способность Ку, представляющую собой расход [м3/ч] жидкости с плотностью 1 кг/дм3 (например, воды), пропускаемой распределителем (или другим устройством) при перепаде давления на нем 1 кгс/см2.
За рубежом применяют также параметр пропускной способности Cv, представляющий собой расход воды в американских или английских галлонах за одну минуту при перепаде давления в 1 psi (фунт-сила на квадратный дюйм).
3. Расходная характеристика представляется в виде графика, отражающего зависимость объемного расхода воздуха (при нормальных технических условиях) через пневмораспределитель от перепада давления на нем при определенном давлении на входе, или серией графиков для различных давлений на входе.
Хотя размеры присоединительных отверстий не характеризуют пропускную способность пневмораспределителей, для ориентировочного подбора необходимого типоразмера распределителя можно воспользоваться табл. 3.
Ориентировочное соотношение номинальных расходов и размеров присоединительных отверстий пневмораспределителей Табл. 3.
| Диаметр поршня цилиндра, мм | Размер присоединенных отверстий | Условный проход, мм | Нормальный номинальный расход, мм |
| до 12 | МЗ | 1,5 | до 80 |
| 12-25 | М5 | 2,5 | до 200 |
| 25-50 | G1/8 | 3,5 | до 500 |
| 50-100 | G1/4 | 7,0 | до 1140 |
| 150-200 | G1/2 | 12,0 | до 3000 |
| Обратите внимание на лекцию "Лекция 3а". 200 - 320 | G3/4, G1 | 18,7 | до 6000 |
Завершая рассмотрение пневмораспределителей, необходимо пояснить, почему они отнесены к основным управляющим элементам пневматических САУ. Дело в том, что распределитель как конструктивный элемент присутствует не только в направляющей и регулирующей подсистеме, но и в логико-вычислительной и информационной подсистемах. При этом он может либо составлять конструктивную часть элемента любой из данных подсистем, либо сам являться таким элементом. Как бы то ни было, понимание принципов действия и устройства распределителей служит основой представления о работе пневматической системы в целом.























