Ремонт и эксплуатация роторов, буровых лебедок
Тема 8. Ремонт и эксплуатация роторов, буровых лебедок
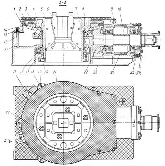
Роторы буровых установок предназначены для вращения бу- рильной колонны при роторном бурении для закрепления ее от про- ворачивания реактивным моментом при турбинном способе, а также для поддержания на весу колонны бурильных или обсадных труб при их свинчивании и развинчивания. Ротор представляет собой угловой редуктор с конической зубчатой передачей (рис. 8).
Срок службы ротора зависит от правильной и своевременной смазки, которая должна производиться в соответствии с картой смаз- ки. Роликоподшипники ведущего вала имеют самостоятельную мас- ляную ванну, отделенную от общего картера уплотнением и имею- щую заливную и сливную пробки. Главная опора и коническая пере- дача смазываются разбрызгиванием из ванны станины, снабженной маслоуказателем и пробками.
Текущий, средний и капитальный ремонты ротора обычно про- изводятся в ремонтных мастерских, где его разбирают и заменяют из- ношенные детали и узлы. Перед разборкой из масляных ванн сливают масло.
Для замены подшипников отвинчивают контргайку и гайку, отогнув усик стопорной шайбы. Вынимают болты из крышки под- шипников и извлекают вал вместе с конической шестерней. При не- обходимости восстановления или замены шестерня может быть снята с вала при помощи винтовой стяжки или пресса, так как она сопряже- на с валом неподвижной посадкой. Полная разборка ротора выполня- ется при капитальном ремонте. Изношенные детали заменяют новыми или восстановленными, а также ремонтируют ствол и станину ротора.

Рис. 8. Ротор:
1 – станина; 2 – стол; 3 – венец конический; 4 – верхняя опора; 5 – вкладыш;
6 – зажим; 7 – нижняя опора; 8 – сепаратор; 9 – болт; 10 – приводной вал;
Рекомендуемые материалы
11 – сливная пробка; 12 – указатель уровня; 13 – патрубок; 14 – пробка;
15 – защелка стола; 16 – сепаратор нижней опоры; 17 – картер нижней опоры; 18 – гайка; 19 – болт; 20 – крепление стола; 21 – кожух; 22 – ведущая шестерня; 23 – полоз станины; 24 – корпус подшипников; 25 – шпилька; 26 – гайка
Ремонт стола ротора обычно связан с восстановлением электро- дуговой сваркой лабиринтных уплотнений и резьбы под гайку. При работе ротора от динамических нагрузок изнашиваются посадочные поверхности в горловине, вследствие чего нарушается сопряжение осей зубчатой передачи, что приводит к неправильной работе шесте- рен, появлению шума, толчков, ударов в передаче и к износу зубьев. Износ устраняют металлизацией посадочных поверхностей с после- дующей расточкой.
При среднем и капитальном ремонте особое внимание должно быть уделено подшипникам. В процессе работы вследствие износа опор стола увеличивается осевой люфт. Стол при работе начинает подпрыгивать. Демонтированные детали опор осматривают и изме- ряют. При наличии задиров на поверхности беговых дорожек кольца протачивают и шлифуют. Кольца с трещинами заменяют новыми. Каждый шар опоры осматривают и замеряют. Изношенные пары за- меняют новыми. Шары в комплекте не должны отличаться по диа- метру более чем на 0,02 мм. При сборке ротора необходимо получить осевой люфт, равный 0,3 мм. При малом осевом люфте ротор будет греться, а при большом – стол будет подпрыгивать относительно ста- нины, что вызывает динамические нагрузки в опорах и их разруше- ние. При износе подшипников быстроходного вала возникает боль- шой радиальный люфт, что сказывается на работе зубчатого зацепле- ния и цепной передачи. Изношенные подшипники подлежат замене.
Передача больших крутящих моментов ротором приводит к из- носу конической передачи. Резкий стук и толчки во время работы яв-
ляются следствием повышенного износа или поломки зубьев. Про-
верку следует начинать с малой шестерни. При износе зуба по тол- щине на 10–12 %, что определяется зубомером, или при поломке
зубьев шестерню заменяют новой, подбирая ее по венцу ротора. Для посадки на вал шестерню нагревают до 100–120 °C . Венец при ре- монте не разбирают, так как он сопряжен со столом горячей посадкой. Ремонт сводится к протачиванию поверхностей зубьев по наружному конусу и к подрезке торцов.
Перед сборкой ротора внутренние поверхности станины и ко- жуха окрашиваются светлой маслостойкой краской.
Ремонт пневматических клиньевых захватов заключается в ос- новном в замене сальника и манжет поршня цилиндра управления. Во
время эксплуатации необходимо не реже одного раза в неделю прове- рить крепление узлов, состояние поверхностей, подвергающихся изно-
су, и производить регулировку механизмов. При осмотре механизмов следует заполнять смазкой места, указанные в карте смазки. Необхо-
димо следить за чистотой и смазкой конусных поверхностей клиньев и вкладышей ротора, загрязнение которых может привести к заеданию
клиньев в роторе. Необходимо периодически сливать конденсат из ци-
линдра. Пневматический цилиндр необходимо разбирать 1–2 раза в год и смазывать его внутренние поверхности и шток. Следует постоянно
проверять зубчатые поверхности плашек клиньев, чтобы своевременно заменить износившиеся новыми, и систематически, после спуска или
подъема 20 свечей, смазывать конусную часть их графитной смазкой.
Ремонт буровых лебедок
Лебедка рассчитана на длительную работу в тяжелых условиях. Безотказная работа лебедки обеспечивается при условии регулярного проведения всего комплекса профилактических мероприятий по ухо- ду и хранению. При длительных остановках, но не реже 1 раза в неде- лю, должны быть проверены все механизмы, их крепление и регули- ровка.
Закрепление талевого каната на барабане лебедки является весьма ответственным моментом, и поэтому должно производиться особенно тщательно. Крепящие болты должны быть затянуты до от- каза и зашплинтованы проволокой.
Необходимо регулярно проверять состояние шкивов тормоза. Запрещается работа с изношенными до металла колодками тормоза. Необходимо оберегать шкивы муфт и тормоза от попадания на них масла. Все защитные кожухи должны быть исправны и надежно за- креплены на своих местах.
Появление резких рывков цепей и ударов в цепных передачах при включении указывает на то, что цепи удлинились и имеют боль- шое провисание. Работа удлиненными цепями приводит к прежде-
временному их разрыву. В таких цепях необходимо снять одно-два звена при помощи приспособления (рис. 9). Оно состоит из зацепов 1,
3 и винта 2 с воротом.
Нормальным натяжением цепей считается такое, при котором стрела провисания цепи составляет менее 0,02 мм расстояния между центрами звездочек.

Рис. 9. Приспособление для снятия цепей:
1, 3 – зацепы; 2 – винт с воротом
Нагрев роликовых подшипников не должен превышать 70–80 °C . Особого и постоянного наблюдения и регулировки требует ленточ-
ный тормоз. Во время работы необходимо следить за тормозными лентами и подтягивать их по мере износа колодок.
Перед сдачей смены бурильщик должен проверить надежность
стопорения тормозного рычага на зубчатом секторе. В течение смены необходимо строго соблюдать рекомендацию по уходу за узлами пневматического управления.
Уход за фрикционной катушкой заключается в своевременной
регулировке тормозных лент и смазке. Нужно стремиться обеспечить полное растормаживание обоих шкивов катушки, что является необ- ходимым условием для получения небольших усилий при сматыва-
нии каната. При наличии в лебедке карданных передач за ними необ-
ходим тщательный уход, который заключается в систематической смазке шарниров. При появлении повышенного шума необходимо
проверить с помощью кого-либо рычага радиальное качание дисков
на цапфах. Если качание заметно на глаз, то диски нужно снять и сменить регулировочные кольца.
Смазка поверхностей трения является повседневной обязанно- стью обслуживающего персонала. Без смазки работа лебедки невоз-
можна.
В процессе эксплуатации гидротормоза необходимо регулярно смазывать все трущиеся поверхности, аккуратно включать и своевре- менно отключать кулачковую муфту, следить за чистотой воды, под- водимой к холодильнику. В гидротормозе ежедневно смазываются
роликоподшипники, манжеты уплотнения. Для подшипников, манжет и кулачковой муфты требуется качественная смазка, обладающая дос- таточной тугоплавкостью и нерастворимостью в воде.
При эксплуатации лебедки могут обнаружиться приводимые ниже неисправности:
1) крюк поднимается с остановками, вызванными попаданием масла в муфты. Причина попадания масла должна быть устранена,
а шкивы тормоза лебедки промыты бензином и вытерты;
2) порожний крюк медленно опускается. Необходимо прове- рить полностью ли растормаживаются колодки и не трут ли они о ре-
борды шкивов;
3) тормозной рычаг доходит до крайнего нижнего положения, но не тормозит. Причиной этой неисправности может быть попадание масла на шкивы или износ колодок. В первом случае шкивы промы-
вают бензином, во втором – подтягивают тормозные ленты;
4) фрикционная катушка не дает обратного хода при расторма- живании. Необходимо отрегулировать ленты тормозных шкивов;
5) не включается барабан или ротор. Неисправность необходи- мо искать в пневматической системе.
При мелком ремонте устраняют следующие неисправности:
1) свободно посаженные на валах лебедки цепные колеса начи- нают вращаться без включения кулачковых муфт, что вызвано за- грязнением смазки или отсутствием ее на трущихся поверхностях.
В этом случае узел промывают керосином и затем шприцуют под-
шипник скольжения до выхода смазки на торцах цепного колеса;
2) в случае нагрева подшипников лебедки, гидротормоза или
коробки скоростей, если она имеется, выше 75–85 °C
необходимо
подшипники промыть в керосине и на 2/3 объема заполнить свежей
смазкой. Если после этого подшипники продолжают греться, следует проверить параллельность и горизонтальность валов. При любом ре-
монте, связанном со снятием валов, нельзя срубать планки, фикси-
рующие корпуса подшипников;
3) при повторном удлинении цепи ее заменяют новой;
4) чрезмерный нагрев тормозных шайб может быть вызван не- допустимым износом тормозных колодок, которые должны быть за-
менены полным комплектом.
Средний ремонт лебедок приурочивают к окончанию бурения скважины и производят в мастерских. При повышенных радиальных зазорах валов, связанных с износом подшипников, валы демонтиру- ют, подшипники выпрессовывают винтовыми съемниками. По факти-
ческому размеру посадочной поверхности вала подбирают подшип- ник с заданным натягом. В случае износа посадочную поверхность наплавляют или металлизируют, а затем обтачивают до первоначаль- ных размеров. Новые подшипники запрессовывают, предварительно
нагрев их до 90
°C .
Вам также может быть полезна лекция "Термин эвристика в литературе".
При капитальном ремонте, кроме перечисленных выше работ, производят полную разборку лебедки и тщательный контроль узлов и
деталей. Деформированные валы со значительным прогибом заменя- ют новыми. Замене подлежат также изношенные тормозные шкивы, опоры всех валов, шарнирные узлы тормозной системы, краны, шлан-
ги и вертлюжки пневмосистемы.
Капитальный ремонт предназначен для полного восстановления работоспособности лебедки, поэтому качество ремонта должно соот- ветствовать техническим требованиям отраслевых нормалей. После
контроля качества сборки отремонтированную лебедку обкатывают
на холостом ходу, устраняя замеченные неисправности. Затем лебед- ку окрашивают и данные о ремонте заносят в ее паспорт.






















