ДКС, ПГРС, АГРС и сепарационное оборудование
Лекция №8
ДКС, ПГРС, АГРС и сепарационное оборудование
Сбор газа на промыслах является частью его транспорта от мест добычи до мест его потребления. На всем пути движения, газ постоянно проходит подготовку: на УППГ, УКПГ, ДКС или ГС, ПГРС, КС, ГРС и даже на газораспределительных пунктах низконапорных систем. Мы рассмотрим составляющую общего транспорта природного газа – межпромысловый транспорт природного газа, в котором сбор газа происходит в зависимости от системы (централизовано или децентрализовано) на УППГ, УКПГ, ДКС и ГС, а его распределение на ДКС, ГС и ПГРС.
Таким образом, при централизованной схеме сбор газа происходит по схеме:
скважины – шлейф - УППГ – межпромысловый газопровод - ГС (ДКС) – МГ (ПГРС)
а при децентрализованной:
скважины – шлейф – УКПГ (ДКС) – газопровод-отвод - МГ (ПГРС).
Ранее мы уже рассмотрели предварительную и комплексную подготовку газу на установках, теперь перейдем к его компримированию и распределению.
Рекомендуемые материалы
Дожимные компрессорные станции
При отборе газа из газоконденсатной или газовой скважины с течением времени рабочее давление скважин снижается. В процессе транспортирования газа от скважины до точки передачи газа в магистральный газопровод или потребителю под действием сил трения к стенке трубопровода и в местных сопротивлениях (обвязка УКПГ, замерные узлы, входные узлы скважин, крановые узлы) величина давления постепенно снижается. В определенный момент времени собственного устьевого давления скважин становится недостаточно для подачи газа потребителю. Этот определенный момент времени характеризирует уменьшение разницы между пластовым давлением и давлением в магистральном газопроводе, снижением дебита скважин и скорости газа в колонне фонтанных труб, образованием на забое скважины столба жидкости из газоконденсата и воды или песчаной пробки.
Для поддержания плановых показателей добычи газа, подачи его в магистральный газопровод с заданным давлением и дальнейшей разработки месторождения с еще, как правило, большими запасами газа начинают компрессорный период разработки месторождения благодаря введению в эксплуатацию дожимных компрессорных станций.
Использование компрессорной схемы сбора газа позволяет:
- компримировать большие объемы газа до необходимого давления в магистрали;
- повысить коэффициент извлечения газа из залежи путем понижения давления трассой газопроводов системы сбора и добычи газа и межпромысловых газопроводов, и соответственно, в самой залежи.
- увеличить дебит эксплуатационных скважин путем уменьшения забойного давления и соответственно разности между пластовым и забойным давлением;
- улучшить качество газа, подаваемого в МГ, при его очистке на установках низкотемпературной сепарации;
- повысить эффективности и надежности работы начальных участков МГ после установки ДКС.
При газовом режиме эксплуатации залежи давление на пути от скважины до ДКС постоянно уменьшается. При подаче газа в МГ или непосредственно потребителю выходное давление должно быть постоянным или хотя бы не ниже определенной величины. Таким образом, при увеличении объема добытого газа и уменьшении устьевого давления давление на входе в ДКС будет уменьшаться, а степень сжатия газа будет непрерывно увеличиваться до максимального значения.
Во время снижения давления газа на входе в ДКС будет увеличиваться мощность силового привода для сжатия газа, уменьшаться подача одного компрессора. При постоянном отборе газа из залежи в этих условиях будет увеличиваться как число ступеней сжатия газа, т.е. число компрессоров, последовательно или параллельно работающих в одной ступени. В конце периода компрессорной разработки месторождения число компрессоров будет значительным (рисунок 3.5).
Таким образом, эксплуатация ДКС характеризируется непрерывно изменяющейся степенью сжатия газа, расходом газа, перекачиваемым одним компрессором и станцией в целом, увеличением числа компрессоров, сложной технологической схемой их размещения, необходимостью регулирования мощности и подачи газа на компрессор с целью сокращения удельной мощности на сжатие газа.

Рис. 1 Схемы компоновки компрессорных агрегатов на промысловой дожимной компрессорной станции (ДКС)
Очевидно, что при сокращении потерь давления газа при транспортировании от скважины до МГ, возможно уменьшить величину рабочего давления скважин месторождения. Таким образом, оптимальное размещение ДКС в системе межпромыслового транспорта газа с возможностью приближения станции к скважине (например на базе действующего газосборного пункта), будет фактором благоприятно влияющим на объемы добычи газа, подготовку газа на УКПГ и количество получаемого из природного газа конденсата.
Промысловые газораспределительные станции (ПГРС)
Основное назначение промысловой газораспределительной станции –распределение потоков добытого газа в газотранспортную сеть. На ПГРС может проводиться сбор и распределение газа с нескольких месторождений по нескольким газопроводам с разными входными и выходными давлениями. Так как полученный на ПГРС газ может распределяться как в экспортные газопроводы, так и в газопроводы, ориентированные на местного потребителя или самому потребителю непосредственно, что подразумевает различную степень подготовки газа согласно тем или другим требованиям, то ПГРС обычно снабжают мощным комплексом оборудования по подготовке газа. В общем случае ПГРС может соединять в себе функции УКПГ, ДКС и газораспределительной станции.
Таким образом, наиболее целесообразным местом установки ПГРС являются регионы добычи газа с разветвленной системой транзитных газопроводов, газопроводов, ориентированных на местного потребителя, газопроводов-отводов, потребителей низконапорного и высоконапорного газа (рисунок 3.6)
Второй по значимости после распределения газа задачей, выполняемой ПГРС, является доочистка природного газа и доведение его до транспортной кондиции. Процесс доочистки природного газа осуществляют на сепарационном оборудовании.
Оборудование автоматизированных газораспределительных станций
Автоматизированные газораспределительные станции служат для подачи газа потребителям находящимся либо на территории промысла, либо в непосредственной близости к нему (чаще всего это крупные предприятия, теплоэлектростанции, села, агрофирмы).
Как правило АГРС входит в состав УКПГ.

Рисунок 2 – Размещение ПГРС в системе транзитных газопроводов и местных потребителей газа
Автоматические газораспределительные станции базовой комплектации представляют собой комплекс, включающий в себя:
· три блок-контейнера (очистки, переключения и одоризации, редуцирования, и управления);
· подогреватель газа;
· подземные емкости хранения одоранта и сбора гидрата, конденсата и шлама, соединенные между собой на месте применения межблочными трубопроводами и кабелями.
Назначение автоматических газораспределительных станций (АГРС):
· редуцирование газа высокого давления до указанного низкого и поддержание его с определенной точностью;
· подогрев газа перед редуцированием;
· автоматическое управление режимами работы технологического оборудования станции, в том числе, ограничение поставок газа по требованиям газораспределяющего предприятия;
· выдача аварийных и предупредительных сигналов при нарушениях работы на пульт диспетчеру или оператору;
· измерение расхода газа с многосуточной регистрацией данных и передачей информации на уровень газораспределяющей организации;
· одоризация газа;
· очистка газа от капельной влаги и механических примесей.
На автоматических газораспределительных станциях давление снижается до 1,5-6 кгс/см2.
Сепарационное оборудование
Сложно было не заметить, что по всему пути межпромыслового транспорта (сбора) и распределения газа, последний проходит сепарацию в первой или второй ступенях.
Сепарацией называется процесс разделения (отделения, разъединения) твердой, жидкой и паровой фаз в потоке.
Аппараты, в которых происходит отделение твердой или жидкой фазы от газовой (паровой), называются сепараторами.
Сепараторы, используемые на газоконденсатных промыслах, можно классифицировать по различным признакам, сепараторы подразделяются:
· - по назначению на: а) рабочие; б) замерные;
· - по геометрической форме на: а) цилиндрические; б) шаровые;
· - по положению в пространстве на: а) вертикальные; б) горизонтальные;
в) наклонные;
· - по способу разделения фаз на: а) механические, б) жидкостные,
в) электрические.
Сепараторы с механическим способом разделения фаз подразделяются по характеру сил, используемых для разделения, на:
- гравитационные, в которых капельки жидкости и частицы породы оседают за счет сил тяжеси;
- инерционные, в которых указанные частицы оседают за счет сил инерции;
- насадочные, в которых используются силы адгезии (прилипания);
- сепараторы смешанного типа, в которых для отделения частиц используют совместное влияние трех вышеперечисленных сил.
Степень эффективности работы сепаратора по жидкости определяется отношением фактически отсепарированной жидкости к общему объему капельной жидкости, находящейся в газе:

где q1 – содержание жидкости (массовое содержание тяжелых углеводородов и влагосодержание природного газа) в потоке газа, поступающего на сепарацию;
q2 – содержание жидкости (массовое содержание тяжелых углеводородов и влагосодержание природного газа) в отсепарированном потоке газа.
Очевидно, что чем меньше q2, тем эффективнее работает сепаратор. В практике наиболее эффективными являются сепараторы насадочного (жалюзийного, сеточного) типа и смешанного типа.
Поскольку осаждение капель жидкости в гравитационных сепараторах основано на действии сил тяжести каплю жидкости, достичь большой эффективности их работы можно только за счет увеличения пути пролета капли через полость сепаратора, т.е. за счет увеличения размера сепаратора, что влечет за собой увеличение металлоемкости и значительную себестоимость.
В инерционных сепараторах эффект осаждения из газа капелек жидкости и частиц породы достигается за счет использования центробежных сил, такие сепараторы называют – сепараторами циклонного типа (рисунок 3).

а) общий вид
б) расчетная схема
1 корпус, 2 сливная трубка, 3 – корпус циклона, 4 – вывод газа из корпуса циклона, 5 – камера разрыва, 6 – тангенциальный ввод газожидкостной смеси, 7 – конденсатосборник
Рисунок 3 – Принципиальная схема сепаратора циклонного типа
с разрывом струи
Газожидкостный поток в таком сепараторе с большой скоростью вводится в тангенциальный патрубок 6, расположенный под углом к горизонтали. За счет центробежной силы тяжелые капельки жидкости осаждаются на стенке корпуса циклона 3, и в виде пленки стекают вниз в конденсатосборник 7, а более легкий газ отжимается к центру циклона. В циклонном сепараторе предусмотрено резкое снижение скорости жидкости, не успевшей осесть в корпусе циклона 3 и унесенной потоком газа по трубке 4, которая оседает и по сливной трубе 2 направляется в конденсатосборник 7.
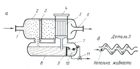
Ниже на рисунке 4 приведены схемы сепаратора насадочного типа с жалюзийной насадкой.

а) общий вид;
б) схема жалюзийной насадки
1 – патрубок, 2 – корпус сепаратора; 3 – перфорированная перегородка; 4 – люк для монтажа насадки; 5 – насадка жалюзийная; 6 – газоотводный патрубок; 7 – сливной патрубок; 8 – конденсатосборник; 9 – перегородка-уровнемер; 10 – поплавковая камера; 11 – исполнительный механизм
Рисунок 4 – Общий вид сепаратора природного газа с жалюзийной насадкой и ее принципиальная схема
Принцип работы:
Газ поступает сначала на патрубок 1, затем попадает на перфорированную перегородку 3, служащую для выравнивания скорости потока. Затем газ проходит жалюзийную насадку 5, в которой задерживается основная масса капель жидкости, несущихся потоком газа. На жалюзи прилипшие капельки жидкости образуют пленку, которая стекает в поддон, а затем через сливной патрубок 7 попадает под уровень конденсатосборника 8. Во избежание колебания уровня жидкости в поплавковой камере 10 устанавливается глухая перегородка 9. Жидкость из кондесатосборника 8 сбрасывается через исполнительный механизм 11, а газ – через газоотводный патрубок 6.
На рисунке 4-б, приведен вид сверху двух пластин жалюзийной насадки и траектория капли жидкости, движущейся между этими пластинами.
Частицы жидкости, содержащиеся в потоке газа, проходящем между пластинами ударяются о них и прилипают. По мере накопления капелек на пластинах, жидкость в виде пленки стекает в нижнюю часть сепаратора. Пластины жалюзи не должны создавать больших гидравлических сопротивлений потоку и, кроме того, должны иметь достаточно развитую поверхность для максимального улавливания капельной жидкости. Чем больше скорость потока газа между пластинами, тем эффективнее улавливаются капельки жидкости. Однако чрезмерное увеличение скорости приводит к срыву капель жидкости и ее вторичному уносу из полости сепаратора, поэтому устанавливают ее ограничение до 0,7 м/с.
Другие типы сепараторов, например сеточные, работают по такому же принципу.
Наиболее распространенными в газодобывающей промышленности рабочими сепараторами являются:
1) вертикальные (горизонтальные) гравитационные;
2) вертикальные центробежные;
3) вертикальные (горизонтальные) жалюзийные;
4) вертикальные (горизонтальные) сетчатые.
ДСТУ 4611-2006 "Магістральні трубопроводи. Терміни та визначення понять"
СП 34-116-97 Инструкция по проектированию, строительству и реконструкции промысловых нефтегазопроводов
Коротаев Ю.П. Эксплуатация газовых месторождений, Недра, 1975
Ширковский А.И. Разработка и эксплуатация газовых и газоконденсатних месторождений.Недра.1979 (с.150-155)
Язик А.В. Системы и средства охлаждения природного газа. Недра, 1986. (с.60-65)
СТО Газпром НТП 1.8-001-2004 Нормы технологического проектирования объектов газодобывающих предприятий и станций подземного хранения газа

Рис. 1 Схемы компоновки компрессорных агрегатов на промысловой дожимной компрессорной станции (ДКС)

Рисунок 2 – Размещение ПГРС в системе транзитных газопроводов и местных потребителей газа

а) общий видб) расчетная схема
1 корпус, 2 сливная трубка, 3 – корпус циклона, 4 – вывод газа из корпуса циклона, 5 – камера разрыва, 6 – тангенциальный ввод газожидкостной смеси, 7 – конденсатосборник
Рекомендация для Вас - Часть 6.
Рисунок 3 – Принципиальная схема сепаратора циклонного типа
с разрывом струи

а) общий вид;б) схема жалюзийной насадки
1 – патрубок, 2 – корпус сепаратора; 3 – перфорированная перегородка; 4 – люк для монтажа насадки; 5 – насадка жалюзийная; 6 – газоотводный патрубок; 7 – сливной патрубок; 8 – конденсатосборник; 9 – перегородка-уровнемер; 10 – поплавковая камера; 11 – исполнительный механизм
Рисунок 4 – Общий вид сепаратора природного газа с жалюзийной насадкой и ее принципиальная схема






















