Оборудование для теплового воздействия на пласт
Лекция № 13
Оборудование для теплового воздействия на пласт
Для повышения коэффициента нефтеотдачи и увеличения темпов отбора нефти из пласта применяется термическое воздействие на пласт. Оно оказывает эффективное воздействие на высоковязкую нефть неоднородных пластов и используется, когда другими способами извлечь нефть из пласта не удается. Этот метод воздействия на пласт характеризуется меньшими затратами, чем другие.
1. Классификация термических методов воздействия на пласт
Термические методы воздействия на пласт основаны на резком снижении вязкости нефти при нагреве, в результате чего ее подвижность в пласте увеличивается и улучшается приток к эксплуатационным скважинам.
Существуют три области воздействия термических методов: призабойная зона пласта, пласт в целом и ствол скважины. Воздействие на призабойную зону осуществляется: нагревательными устройствами – устьевыми и глубинными; тепловой обработкой в сочетании с другими средствами интенсификации. В качестве теплоносителя могут быть использованы вода, пар, нефть и газ. Различают источники тепла двух видов: топливо, энергия которого используется в наземных теплообменных аппаратах, и топливо, находящееся в пласте или сжигаемое там же. При термическом воздействии на ствол скважины обычно осуществляют депарафинизацию, борьбу с гидратными пробками, повышение приемистости скважин.
При термическом воздействии на пласт основная цель – повышение коэффициента нефтеотдачи и сокращения времени разработки месторождения.
Рекомендуемые материалы
2. Устьевое и внутрискважинное оборудование для нагнетания пара в нефтяные пласты
При воздействии на пласт применяется комплекс оборудования, состоящий из специальной арматуры устья скважин: головки колонной сальниковой; лубрикатора для спуска приборов; термостойких пакеров; внутрискважинных компенсаторов удлинения колонны НКТ.
Арматура устья для герметизации нагнетательных скважин в период тепловой обработки пласта обеспечивает подвеску колонны НКТ, компенсирует ее удлинение и позволяет проводить исследовательские работы по стволу скважины и на забое. Она состоит из запорных устройств – задвижек и вентилей, фитингов – крестовиков, тройников, катушек и специальных устройств для компенсации тепловых удлинений колонны и подводящего паропровода. Арматура устья устанавливается на скважине перед началом паротеплового процесса и после его окончания демонтируется.
|
|
Устьевая арматура АП-65-150
1 – узел (задвижка, шарнир, тройник); 2 – труба; 3 – набор прорезиненных асбестовых манжет; 4 – корпус; 5 – затрубный вентиль
Арматура включает в себя крестовину с затрубным вентилем, устанавливаемым на фланце колонны обсадных труб. Зазор между корпусом и телескопической трубой уплотняется набором прорезиненных асбестовых манжет. На фланце телескопической трубы монтируется узел, состоящий из задвижки шарнира и тройника. Устьевое шарнирное устройство состоит из трех шарниров и обеспечивает компенсацию теплового расширения НКТ и подводящей линии паропровода. Так устроена арматура типа АП-65-150.
Головка колонная сальниковая предназначена для оборудования устья нагнетательных многоколонных скважин. Эти головки имеют уплотнительное устройство, обеспечивающее компенсацию тепловых усилий эксплуатационной и технической колонн.
|
|
Головка колонная сальниковая ГКС-40
1 – шпилька; 2, 5 – грундбукс; 3 – корпус сальника; 4 – сальниковая набивка; 6 – запорный болт; нажимная гайка; 8 – верхний фланец корпуса головки; 9 – переводник.
Лубрикатор устьевой предназначен для спуска в скважину глубинных манометров, термометров и других приборов для исследования пласта без прекращения закачки. Лубрикатор устанавливается на фланце верхней задвижки, смонтированной на тройнике арматуры устья. Лубрикатор состоит из корпуса, масляного бачка с трубами и блока. В верхней части корпуса установлен узел сальника, а нижняя имеет фланец, с помощью которого он присоединен к фланцу задвижки устьевой арматуры.
Термостойкие пакеры герметизируют затрубное пространство скважины при нагнетании пара в пласт и защищают эксплуатационную колонну от воздействия давления и температуры. Одновременно пакеры предотвращают тепловые потери и позволяют снизить температурные напряжения.
Компенсаторы теплового расширения НКТ могут быть конструктивно объединены с пакером, либо устанавливаться отдельно. Телескопическое устройство представляет собой конструкцию штока, соединенного с головкой и сальникового узла, манжеты которого изготавливаются из прорезиненной асбестовой ткани. Телескопическое устройство обеспечивает осевое перемещение головки относительно патрубка при сохранении герметичности внутренней полости НКТ.
3. Оборудование для подготовки воды и ее подогрева
Использование для воздействия на пласт установок подготовки воды и подогрева в блочном исполнении, позволяет сократить расходы и сроки обустройства месторождения.
Парогенераторная установка ППГУ-4/120 М предназначена для получения 4 т/ч влажного пара при давлении до 12 МПа. Установка состоит из двух блоков, которые могут перевозиться по ЖД или на специальном шасси. В качестве топлива используется сырая нефть. Установка имеет блок водоподготовки, деаэрации и парогенератор.
4. Оборудование для прогрева ствола скважин
Для прогрева ствола скважины и фильтровой зоны пласта используются паровые передвижные установки и электрические нагреватели.
|
|
Паровая передвижная установка ППУ-ЗМ.
1 – цистерна с водой; 2 – кузов; 3 – парогенератор; 4 – рама; 5 – приводная группа; 6 – питательный насос.
В качестве источников пара могут использоваться установки ППУ-3М либо ППУ-1200/100, ППУ-1600/100. Установка ППУ-3М смонтирована на шасси автомобиля КРАЗ 257 и включает в себя цистерну с водой, парогенератор, питательный насос. При работе установки предварительно подогретая вода подается питательным насосом в парогенератор, где превращается в пар, требуемой температуры. Источником тепла является дизельное топливо.
Характеристика:
- производительность 1200 кг/час
- мах давление пара 10МПа
- мах температура 3100С
Эксплуатация агрегата требует строгого контроля жесткости применяемой воды .
В качестве теплоносителя может использоваться и нефть. Для промывки скважины горячей нефтью служит агрегат 1АДП-4-150 для нагнетания в скважину нефти под давлением до 20 МПа и расходом 4л/сек. При температуре 1500С. При использовании электроэнергии для нагрева призабойной зоны в соответствующем интервале глубин в скважину опускается электронагреватель. Он представляет собой герметичный кожух, внутри которого установлены трубчатые электронагревательные элементы. Для улучшения теплопередачи внутренняя полость корпуса заполнена окисью магния. Мощность нагревателей 10-25 квт, Ø - 130÷140 мм, L= 2600÷3000 мм.
Для обеспечения работы внутрискважинного нагревателя возле скважины устанавливается повышающий трансформатор и станция управления. Монтируют нагреватели в скважине с помощью кабель - троса.
5. Оборудование для поджога пласта
Для добычи нефти с применением внутрипластового горения необходимо создать в призабойной зоне условия для возникновения и образования устойчивого фронта горения. Для этого используют забойные нагреватели следующих типов: топливные горелки, электрические нагреватели, химические реагенты. После образования фронта горения в пласт подают окислитель – воздух, обогащенный кислородом или кислород. Конструкция горелок предусматривает использование жидкого и газообразного топлива. Спускаются они на забой с помощью труб или троса. Глубинные нагреватели эксплуатирующиеся на жидком топливе, рассчитываются на сжигание нефти, мазута, дизтоплива и т. д. Смесь топлива и воздуха при определенном давлении подается по каналу НКТ и после сгорания отводится по затрубному пространству. Наиболее часто для поджога пласта применяются электрические подогреватели.
|
|
Бесплатная лекция: "13 Сущность феномена культуры" также доступна.
Глубинный огневой нагреватель
1 – устьевое оборудование; 2 – колонна НКТ; 3 – запальное устройство; 4 – конусное гнездо; 5 – камера сгорания; 6 – кожух; 7 – эксплуатационная колонна; 8 – замковая опора; 9 – фильтр
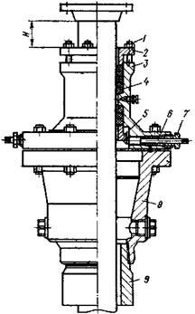
|
|
Обустройство устья зажигательной скважины для работы электронагревателя
1 – компрессорная; 2 – воздушный затвор; 3 – направляющий блок; 4 – сальник; 5 – лубрикатор; 6 – электрокабельтрос; 7 – станция управления; 8 – источник электропитания
Нагреватели повышают температуру на забое скважины до 2600С за сутки. При использовании электронагревателей на устье скважины устанавливается лубрикатор высокого давления, сальник, КИП. На основании изложенного видно, что поджог и внутрипластовое горение не требует реконструкции устьев скважин.























