Ионизирующие излучения
Цель работы – измерение мощности экспозиционной дозы b– излучений, изучение поглощения ионизирующих изучений различными материалами.
Ионизирующие излучения
Ионизирующие излучение – излучение, взаимодействие которого со средой приводит к образованию ионов разных знаков.
По своей природе ионизирующие излучение может быть корпускулярным, то есть состоящим из частиц с массой покоя, отличной от нуля(a– и b–частиц, протонов, нейтронов и др.), либо электромагнитным (гамма и рентгеновское излучение).
Бета – излучение представляет собой поток отрицательно или положительно заряженных частиц с массовым числом 1/1820, выбрасываемых ядрами радиоактивных атомов при электронном и позитронном распаде.
Электронный распад – это процесс, в результате которого нейтрон ядра превращается в протон. Новый элемент будет нести заряд (число протонов) на 1 единицу больше и по таблице Менделеева передвигается на одну клетку вправо (например, стронций 90 превращается в иттрий 90). При электронном распаде из ядра вылетает с большой скорость электрон и анти-нейтрино, массовое число остается без изменения.
Позитронный распад – это процесс, в результате которого протон превращается в нейтрон, а заряд ядра уменьшается на 1. Вновь образовавшийся элемент смещается в таблице Менделеева на одну клетку влево (например, углерод 11 превращается в бор 11). При позитронном распаде из ядра вылетает позитрон и нейтрино.
По массе и ионизирующей способности b–частицы уступают a–частицам. Скорость пробега b–частиц в воздухе близка к скорости света (270 000 км/с). Длина их пробега в воздухе до 20 м, а в биологических тканях – до 1 см, что зависит от энергии частиц. При внешнем воздействии на организм b–частицы могут вызвать радиационное поражение кожи и глаз, но большую опасность представляет внутреннее облучение. Одежда поглощает до 50 % b–частиц.
Рекомендуемые материалы
Существует еще электронный захват, когда ядро захватывает электрон из ближайшего К-слоя электронной оболочки, в результате чего протон, соединясь с электроном, превращается в нейтрон. Этот процесс сопровождается испусканием нейтрино и рентгеновского излучения. Атомы с одинаковым силом протонов, но с разным количеством нейтронов, называются изотопами (например, йод 131, йод 132, йод 135 и т. д. содержат в ядрах по 53 протона и, соответственно, по 78, 79 и 82 нейтрона).
Бета – излучение представляет собой поток отрицательно или положительно заряженных частиц с массовым числом 1/1820, выбрасываемых ядрами радиоактивных атомов при электронном и позитронном распаде.
Электронный распад – это процесс, в результате которого нейтрон ядра превращается в протон. Новый элемент будет нести заряд (число протонов) на 1 единицу больше и по таблице Менделеева передвигается на одну клетку вправо (например, стронций 90 превращается в иттрий 90). При электронном распаде из ядра вылетает с большой скорость электрон и анти-нейтрино, массовое число остается без изменения.
Позитронный распад – это процесс, в результате которого протон превращается в нейтрон, а заряд ядра уменьшается на 1. Вновь образовавшийся элемент смещается в таблице Менделеева на одну клетку влево (например, углерод 11 превращается в бор 11). При позитронном распаде из ядра вылетает позитрон и нейтрино.
По массе и ионизирующей способности b–частицы уступают a–частицам. Скорость пробега b–частиц в воздухе близка к скорости света (270 000 км/с). Длина их пробега в воздухе до 20 м, а в биологических тканях – до 1 см, что зависит от энергии частиц. При внешнем воздействии на организм b–частицы могут вызвать радиационное поражение кожи и глаз, но большую опасность представляет внутреннее облучение. Одежда поглощает до 50 % b–частиц.
Существует еще электронный захват, когда ядро захватывает электрон из ближайшего К-слоя электронной оболочки, в результате чего протон, соединясь с электроном, превращается в нейтрон. Этот процесс сопровождается испусканием нейтрино и рентгеновского излучения. Атомы с одинаковым силом протонов, но с разным количеством нейтронов, называются изотопами (например, йод 131, йод 132, йод 135 и т. д. содержат в ядрах по 53 протона и, соответственно, по 78, 79 и 82 нейтрона).
Основными принципами защиты от внешнего ионизирующего излучения являются:
1 – защита количеством, т. е. используются источники с минимальной, но достаточной для работы, ионизирующей способностью;
2 – защита временем (ограничение времени воздействия);
3 – защита расстоянием, т. е. работающий находится на безопасном расстоянии от источника;
4 – защита экранами, поглощающими ионизирующие излучения
Прибор радиационного контроля
Для оценки радиационной обстановки в местах, где ведутся работы с радиоактивными веществами, необходимы приборы. которые могли бы регистрировать уровень радиации. Принцип действия любого прибора, предназначенного для регистрации проникающих излучений, состоит в измерении эффектов, возникающих в процессе взаимодействия излучения с веществом.
Наиболее распространенным методом измерений ионизирующих излучений является ионизационный метод регистрации, основанный на измерении непосредственного эффекта взаимодействия излучений с веществами, т.е. степени ионизации среды, через которую прошло излучение.
В данной лабораторной работе для измерения мощности дозы используется рентгенометр ДП-5А, предназначенный для измерений уровней радиации на местности и радиоактивной зараженности различных предметов по гамма - излучению.
Принцип действия прибора основан на способности радиоактивного излучения ионизировать среду (газ), в которой они распространяются. Прибор включает воспринимающее устройство 1 (ионизационную камеру), усилительное 2 (электрическая лампа), измерительное устройство 4 (миллиамперметр), нагрузочное сопротивление 3 и источник питания 5. См. рис. 1 - упрощенный блок схемы прибора.
![]() |
Рисунок 1 – Блок-схема прибора
Мощность экспозиционной дозы (гамма излучения) измеряют в рентгенах в час (Р/ч) или миллирентгенах в час (мР/ч) в той точке, куда помещен счетчик прибора.
Диапазон измерений по гамма излучению от 0,05 мР/ч до 200 Р/ч в диапазоне энергий от 0,084 до 1,25 МэВ. Прибор имеет шесть поддиапазонов измерений (табл.3) 200, ´1000, ´ 100, ´100, ´1, ´01 и положения "выкл" и "реж".
Таблица 3 – Пределы измерения прибора ДП–5А
| Поддиапазон | Положение ручки при переключении поддиапазона | Шкала | Единицы | Пределы измерений | Время установки показателей, с |
| I | 200 | 0 - 200 | Р/ч | 5 - 200 | 10 |
| II | ´ 1000 | 0 - 5 | мР/ч | 500 - 5000 | 10 |
| III | ´ 100 | 0 - 5 | мР/ч | 50 - 500 | 30 |
| IV | ´ 10 | 0 - 5 | мР/ч | 5 - 50 | 45 |
| V | ´ 1 | 0 - 5 | мР/ч | 0,5 - 5 | 45 |
| VI | ´ 01 | 0 - 5 | мР/ч | 0,05 - 0,5 | 45 |
![]() |
Рисунок 2 – Панель измерительного пульта
![]() |
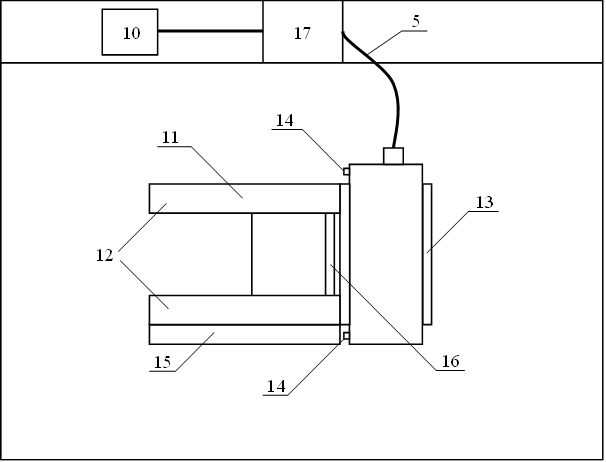
Рисунок 3 – Схема рабочего стола
Обозначения к рисунку 2 и рисунку 3:
1. Верхняя шкала измерительного прибора.
2. Нижняя шкала измерительного прибора.
3. Тумблер подсвета.
4. Переключатель поддиапазонов.
5. Соединительный кабель.
6. Винт установки нуля.
7. Гнездо включения телефона.
8. Кнопка сброса показаний.
9. Ручка "Режим".
10. Источник питания.
11. Футляр с источником излучения.
12. Направляющие.
13. Рабочее место зонда.
14. Опорные выступы зонда.
15. Линейка.
16. Гнездо для защитных экранов.
17. Прибор ДП - 5А.
Правила обращения с прибором
1. Оберегать прибор от падений, толчков.
2. Не прилагать излишних усилий при повороте ручек переключателей.
3. Не допускать резких перегибов соединительного шнура.
4. После работы с радиометром оболочку датчика (зонда) устанавливать в положение "Г".
5. Вынимать из гнезд контактные колодки, фишки и вилки за корпус, а не за соединительный шнур.
6. Подключать прибор к источникам питания убедившись, что он выключен (переключатель поддиапазонов в крайнем левом положении 4).
7. После окончания работы, переключатель поддиапазонов поставить в положение "выкл".
8. Прибор из футляра вынимать запрещается.
9. Запрещается прикасаться руками к контрольному р/а источнику.
Измерение мощности экспозиционной дозы излучения в воздухе
Перед включением прибора проверить положение органов управления, которые должны находиться (рис. 2, 3):
- переключатель поддиапазонов (4) в положении "выкл";
- тумблер подсветки шкалы (3) в положении "выкл";
- ручка "Режим" (9) установлена в крайнее левое положение.
Подготовка установки к работе:
- включить источник питания (10) в сеть;
- вынуть зонд с ручкой из гнезда прибора;
- переключатель поддиапазонов (4) поставить в положение "Режим";
- плавно вращая по часовой стрелке ручку "Режим" установить стрелку на черный треугольник верхней шкалы;
- установить экран зонда в положение "Б" при измерении b–излучений, или ставить в положении "Г" при измерении гамма излучений.
Порядок выполнения работы
- установить футляр с источником излучения (11) в направляющие (12), при работе с b–излучением аккуратно открыть источник излучения;
- установить зонд на рабочее место (13) так. Чтобы приемное окно (опорные выступы 14) находились против источника излучения;
- установить переключатель поддиапазонов в положение ´10;
- замерить уровни радиации на расстояниях 1, 2, 4, 8 и 16 см от зонда, передвигая футляр с источником влево. После каждого замера кнопкой сброса устанавливать стрелку на ноль. При малых отклонениях стрелки прибора - переключить поддиапазон на ´1 или ´0,1;
- установить выбранный защитный экран в гнездо футляра источника (16);
- замерить уровни радиации на тех же расстояниях от зонда;
- установить переключатель поддиапазонов в положение "выкл";
- установить экран зонда в положение "Г", положить зонд в гнездо футляра;
- закрыть источник b–излучения и положить в ящик стола;
- результаты измерений занести в таблицу;
- построить графики зависимости мощности экспозиционной дозы излучения от расстояния без экрана и с защитным экраном;
- определить кратность ослабления защитного экрана по уравнению:

,
где
и
- мощности экспозиционной дозы излучения без экрана и с экраном.
Таблица 4 – Результаты измерений мощности излучения, мкР/ч
| Расстояние – R, см | 1 | 2 | 4 | 8 | 16 | |
| Без экрана, | ||||||
| С экраном, | 1 материал | |||||
| 2 | ||||||
| Кратность ослабления, К | 1 материал | |||||
| 2 |
График зависимости мощности экспозиционной дозы излучений
от расстояния для материала кожи
мкР/ч
1 2 4 8 16 R, см
Люди также интересуются этой лекцией: Предварительные сведения о построении диаграмм.
График зависимости мощности экспозиционной дозы излучений
от расстояния для материала стекла
мкР/ч
1 2 4 8 16 R, см
Вывод: Я научился измерять мощность экспозиционной дозы b– излучений при помощи прибора ДП - 5А . Степень поглощения ионизирующих изучений зависит от свойств материалов.


























