Критерии и виды экономической эффективности инвестиций
Тема 8. Критерии и виды экономической эффективности инвестиций
Критерии и методы оценки инвестиционных проектов. Состоятельность проектов. Критические точки и анализ чувствительности. Затраты упущенных возможностей, методы определения альтернативной стоимости вложений. Виды эффективности инвестиций. Оценка инвестиционного проекта в целом и оценка участия в проекте. Бюджетная эффективность и социальные результаты реализации инвестиционных проектов. Информация, предоставляемая для обоснования экономической эффективности инвестиций. Область применения различных критериев. Универсальные критерии. Ранжирование критериев по степени значимости в зависимости от индивидуальных особенностей проекта. Выделение определяющего критерия.
ВОПРОСЫ
1. Определение и виды эффективности ИП;
2. Основные принципы оценки экономической эффективности;
3. Общая схема оценки эффективности;
4. Методы оценки эффективности инвестиционных проектов;
5. Критерии оценки инвестиционных проектов.
1. Определение и виды эффективности ИП
Рекомендуемые материалы
Эффективность ИП — категория, отражающая соответствие проекта целям и интересам его участников.
Задачи экономической оценки инвестиций:
· оценка эффективности и финансовой реализуемости инвестиционного проекта
· оценка эффективности участия в ИП хозяйствующих субъектов;
· сравнение альтернативных (взаимоисключающих) ИП, вариантов ИП и оценка экономических последствий выбора одного из них;
· оценка экономических последствий отбора для реализации группы ИП из некоторой их совокупности при наличии фиксированных финансовых и других ограничений;
· подготовка заключений по экономическим разделам при проведении государственной, отраслевой и других видов экспертиз обоснований инвестиций, ТЭО, проектов и бизнес-планов;
· принятие экономически обоснованных решений об изменениях в ходе реализации ИП в зависимости от вновь выявляющихся обстоятельств (экономический мониторинг).
Осуществление эффективных проектов увеличивает поступающий в распоряжение общества внутренний валовой продукт (ВВП), который затем делится между участвующими в проекте субъектами (фирмами (акционерами и работниками), банками, бюджетами разных уровней и пр.). Поступлениями и затратами этих субъектов определяются различные виды эффективности ИП.
Рекомендуется оценивать следующие виды эффективности:
• эффективность проекта в целом;
• эффективность участия в проекте.
Эффективность проекта в целом оценивается с целью определения потенциальной привлекательности проекта для возможных участников и поисков источников финансирования. Она включает в себя:
• общественную (социально-экономическую) эффективность проекта;
• коммерческую эффективность проекта.
Показатели общественной эффективности учитывают социально-экономические последствия осуществления ИП для общества в целом, в том числе как непосредственные результаты и затраты проекта, так и "внешние": затраты и результаты в смежных секторах экономики, экологические, социальные и иные внеэкономические эффекты.
Показатели коммерческой эффективности проекта учитывают финансовые последствия его осуществления для участника, реализующего ИП, в предположении, что он производит все необходимые для реализации проекта затраты и пользуется всеми его результатами.
Показатели эффективности проекта в целом характеризуют с экономической точки зрения технические, технологические и организационные проектные решения.
Эффективность участия в проекте определяется с целью проверки реализуемости ИП и заинтересованности в нем всех его участников.
Эффективность участия в проекте включает:
k эффективность участия предприятий в проекте (эффективность ИП для предприятий-участников);
k эффективность инвестирования в акции предприятия (эффективность для акционеров акционерных предприятий — участников ИП);
k эффективность участия в проекте структур более высокого уровня по отношению к предприятиям — участникам ИП, в том числе:
k региональную и народнохозяйственную эффективность — для отдельных регионов и народного хозяйства РФ;
k отраслевую эффективность — для отдельных отраслей народного хозяйства, финансово-промышленных групп, объединений предприятий и холдинговых структур;
k бюджетную эффективность ИП (эффективность участия государства в проекте с точки зрения расходов и доходов бюджетов всех уровней).
2. Основные принципы оценки эффективности
В основу оценок эффективности ИП положены следующие основные принципы, применимые к любым типам проектов независимо от их технических, технологических, финансовых, отраслевых или региональных особенностей:
• рассмотрение проекта на протяжении всего его жизненного цикла (расчетного периода) — от проведения прединвестиционных исследований до прекращения проекта;
• моделирование денежных потоков, включающих все связанные с осуществлением проекта денежные поступления и расходы за расчетный период с учетом возможности использования различных валют;
• сопоставимость условий сравнения различных проектов (вариантов проекта);
• принцип положительности и максимума эффекта. Для того чтобы ИП, с точки зрения инвестора, был признан эффективным, необходимо, чтобы эффект реализации порождающего его проекта был положительным; при сравнении альтернативных ИП предпочтение должно отдаваться проекту с наибольшим значением эффекта;
• учет фактора времени. При оценке эффективности проекта должны учитываться различные аспекты фактора времени, в том числе динамичность (изменение во времени) параметров проекта и его экономического окружения; разрывы во времени (лаги) между производством продукции или поступлением ресурсов и их оплатой; неравноценность разновременных затрат и/или результатов (предпочтительность более ранних результатов и более поздних затрат);
• учет только предстоящих затрат и поступлений. При расчетах показателей эффективности должны учитываться только предстоящие в ходе осуществления проекта затраты и поступления, включая затраты, связанные с привлечением ранее созданных производственных фондов, а также предстоящие потери, непосредственно вызванные осуществлением проекта (например, от прекращения действующего производства в связи с организацией на его месте нового). Ранее созданные ресурсы, используемые в проекте, оцениваются не затратами на их создание, а альтернативной стоимостью (opportunity cost), отражающей максимальное значение упущенной выгоды, связанной с их наилучшим возможным альтернативным использованием (см п. 11.6 и Приложение 9). Прошлые, уже осуществленные затраты, не обеспечивающие возможности получения альтернативных (т.е. получаемых вне данного проекта) доходов в перспективе (невозвратные затраты, sunk cost), в денежных потоках не учитываются и на значение показателей эффективности не влияют;
• сравнение "с проектом" и "без проекта". Оценка эффективности ИП должна производиться сопоставлением ситуаций не "до проекта" и "после проекта", а "без проекта" и "с проектом";
• учет всех наиболее существенных последствий проекта. При определении эффективности ИП должны учитываться все последствия его реализации, как непосредственно экономические, так и внеэкономические (внешние эффекты, общественные блага — см. Приложение 1). В тех случаях, когда их влияние на эффективность допускает количественную оценку, ее следует произвести. В других случаях учет этого влияния должен осуществляться экспертно;
• учет наличия разных участников проекта, несовпадения их интересов и различных оценок стоимости капитала, выражающихся в индивидуальных значениях нормы дисконта;
• многоэтапность оценки. На различных стадиях разработки и осуществления проекта (обоснование инвестиций, ТЭО, выбор схемы финансирования, экономический мониторинг) его эффективность определяется заново, с различной глубиной проработки;
• учет влияния на эффективность ИП потребности в оборотном капитале, необходимом для функционирования создаваемых в ходе реализации проекта производственных фондов;
• учет влияния инфляции (учет изменения цен на различные виды продукции и ресурсов в период реализации проекта) и возможности использования при реализации проекта нескольких валют;
• учет (в количественной форме) влияния неопределенностей и рисков, сопровождающих реализацию проекта.
3. Общая схема оценки эффективности
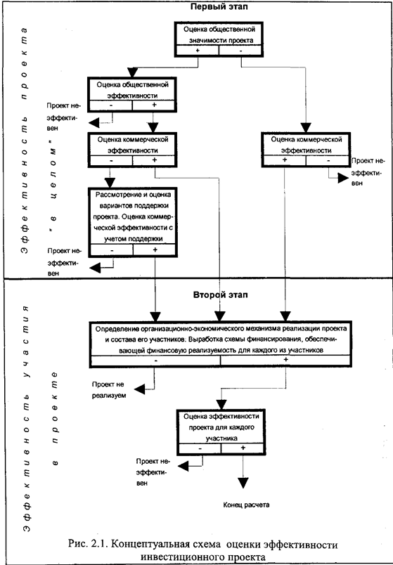
Перед проведением оценки эффективности экспертно определяется общественная значимость проекта. Общественно значимыми считаются крупномасштабные, народнохозяйственные и глобальные проекты (см. Приложение 1).
Далее оценка проводится в два этапа (см. схему на рис. 2.1)9.
На первом этапе рассчитываются показатели эффективности проекта в целом. Цель этого этапа — агрегированная экономическая оценка проектных решений и создание необходимых условий для поиска инвесторов. Для локальных проектов оценивается только их коммерческая эффективность и, если она оказывается приемлемой, рекомендуется непосредственно переходить ко второму этапу оценки. Для общественно значимых проектов оценивается в первую очередь их общественная эффективность в соответствии с разд. 4. При неудовлетворительной общественной эффективности такие проекты не рекомендуются к реализации и не могут претендовать на государственную поддержку. Если же их общественная эффективность оказывается достаточной, оценивается их коммерческая эффективность в соответствии с разд. 5.
При недостаточной коммерческой эффективности общественно значимого ИП рекомендуется рассмотреть возможность применения различных форм его поддержки, которые позволили бы повысить коммерческую эффективность ИП до приемлемого уровня.
Если источники и условия финансирования уже известны, оценку коммерческой эффективности проекта можно не производить.
Второй этап оценки осуществляется после выработки схемы финансирования. На этом этапе уточняется состав участников и определяются финансовая реализуемость и эффективность участия в проекте каждого из них10 (региональная и отраслевая эффективность, эффективность участия в проекте отдельных предприятий и акционеров, бюджетная эффективность и пр.).
Особенности оценки эффективности на разных стадиях разработки и осуществления проекта
Оценка эффективности ИП должна осуществляться на стадиях :
• разработки инвестиционного предложения и декларации о намерениях (экспресс-оценка инвестиционного предложения);
• разработки "Обоснования инвестиций";
• разработки ТЭО (проекта);
• осуществления ИП (экономический мониторинг).
Принципы оценки эффективности ИП одинаковы на всех стадиях. Оценка может различаться по видам рассматриваемой эффективности, а также по набору исходных данных и степени подробности их описания".
На стадии разработки инвестиционного предложения во многих случаях можно ограничиться оценкой эффективности ИП в целом. Схема финансирования проекта может быть намечена в самых общих чертах (в том числе по аналогии, на основании экспертных оценок).
При разработке Обоснования инвестиций и ТЭО (проекта) должны оцениваться все приведенные выше виды эффективности. При этом:
• на стадии разработки обоснования инвестиций схема финансирования может быть ориентировочной;
• на стадии разработки ТЭО (проекта) должны использоваться реальные исходные данные, в том числе и по схеме финансирования.
В процессе экономического мониторинга ИП рекомендуется оценивать и сопоставлять с исходным расчетом только показатели эффективности участия предприятий в проекте. Если при этом обнаруживается, что показатели эффективности, полученные при исходном расчете, не достигаются, рекомендуется на основании расчета эффективности инвестиций для участников ИП с учетом только предстоящих затрат и результатов рассмотреть вопрос о целесообразности продолжения проекта, введения в него изменений и т.д., после чего пересчитать эффективность участия предприятия-проектоустроителя и эффективность инвестирования в акции других участников (в частности, для оценки степени привлекательности проекта для акционеров)12.

4. Методы оценки эффективности инвестиционных проектов
Методами оценки эффективности инвестиционных проектов называют способы определения целесообразности долгосрочного вложения капитала в различные объекты с целью оценки перспектив их прибыльности и окупаемости. Инвестиционные проекты должны подвергаться детальному анализу с точки зрения конечных результатов по критерию эффективности. Критерий эффективности – показатель, выражающий предельную меру экономического эффекта принимаемого решения для сравнительной оценки возможных вариантов и выбора из них лучшего.
Существует три типа оценки эффективности инвестиционных проектов:
- Абсолютная оценка
- Абсолютно-сравнительная оценка
- Сравнительная оценка
Абсолютная оценка дает ответ на вопрос, какой доход в каждую единицу времени будет приносить функционирование нового дела. Причем под доходом понимается разница между результатами и издержками производства как в абсолютном, так и в относительном измерении.
Под относительными показателями понимается уровень рентабельности, доход на единицу продукции, зарплата на одного работающего...
Но, как правило, окончательное решение не принимается только на основе абсолютной оценки доходности проекта, т.к. она не дает возможность ответить на вопрос плох или хорош данный проект по сравнению с другими проектами, т.е. по сравнению с альтернативными возможностями вложения средств.
Поэтому необходимо сравнить полученные при абсолютной оценке показатели с такими же показателями, взятыми в качестве ориентира на основе массового теоретически и практически обоснованного опыта инвестирования, т.е. необходимо сравнить полученную оценку с заранее установленным нормативом. Причем норматив можно установить для себя самостоятельно на основе каких-то критериев и приоритетов, а можно взять общепринятый в практике инвестиционного бизнеса. Такая оценка называется абсолютно-сравнительной.
Такая оценка достаточна, но при условии, что данный проект единственный и не имеет альтернативы вложений.
Как правило всегда существует много различных вариантов инвестирования, но выбрать из всех представляющихся возможностей необходимо наилучший. В этом случае применяется сравнительная оценка. Т.е. сравниваются показатели абсолютной оценки каждого проекта между собой и выбирается проект с наилучшими показателями. В таком сравнении участвуют только проекты, приемлемые по результатам абсолютно-сравнительной оценки.
Каждая из таких оценок решает свою задачу.
Алгоритм выбора инвестиционного проекта можно представить следующим образом:
1. происходит отбор всех альтернативных вариантов вложений средств, которые могут быть осуществлены
2. определяются абсолютные оценки доходности по каждому варианту вложений
3. отбираются те варианты, которые представляют интерес (экономический, социальный, политический и т.п.)
4. остальные варианты отбраковываются и в дальнейшем конкурсном отборе не участвуют
5. если после проведения предшествующей процедуры остается только один проект, то его подвергают абсолютно сравнительной оценке, и если она окажется положительной, то данный вариант принимается к реализации, иначе он отвергается и инвестор ищет новые пути приложения капитала
6. если после абсолютной оценки остается несколько различных вариантов, то каждый из них подвергается абсолютно-сравнительной оценке по системе различных критериев
7. инвестор устанавливает наиболее для него приоритетный критерий, проводит сравнительную оценку доходности альтернативных проектов по избранному критерию и принимает к реализации тот проект, который удовлетворяет его в наибольшей степени.
Изложенная схема прошла многолетнюю апробацию в странах с рыночной экономикой, показала свою высокую надежность при условии, что методически и информационно все расчеты были проведены безошибочно.
5. Критерии оценки инвестиционных проектов.
Критерии, используемые для оценки инвестиционных проектов, должны отражать главные аспекты и условия их применения. При всем их многообразии они объединяются в следующие группы:
- Финансово-экономические. К ним, в свою очередь, относятся простейшие методы экономической оценки проектов и оценка эффективности инвестиций по системе международных показателей.
- Нормативные критерии. К ним относят правовые критерии (нормы национального и международного права), требования стандартов, конвенций и т.п., патентоспособность и иные условия соблюдения прав интеллектуальной собственности. несоблюдение любого из них может сделать любой эффективный проект невыполнимым.
- Ресурсные критерии также определяют потенциальную возможность осуществления проекта. Они подразделяются на группы:
Научно-технические ресурсы (наличие необходимого научно-технического задела, специалистов соответствующего профиля квалификации и др.);
Производственные (наличие производственных мощностей по выпуску данного проекта, материальных ресурсов);
Технологические варианты (оценка конкурирующих технологий);
Объемы и источники финансовых ресурсов и др.
В данном курсе будут рассмотрены финансово-экономические критерии.
К простейшим методам экономической оценки проектов относятся:
Коэффициент сравнительной экономической эффективности капитальных вложений;
Приведенные затраты;
Приведенный эффект.
Критериями эффективности инвестиций по системе международных показателей являются:
Показатель внутренней нормы доходности;
Показатель чистого приведенного дохода;
Показатель рентабельности инвестиций;
Ещё посмотрите лекцию "Основы прогнозирования необходимости и возможности санации" по этой теме.
Показатель срока окупаемости инвестиций;
Экономическое обоснование отбора лучшего варианта инвестиционных вложений;
Бюджетная эффективность инвестиционных вложений.
//Экономическая оценка инвестиций представляет собой сложную и трудоемкую расчетную операцию, для проведения которой требуется весьма значительная по объему информация, однако существуют проблемы с недостаточной ее объективностью и со сложностью получения. При наличии «информационного голода» используют простейшие методы экономической оценки, которые бывают иногда вполне приемлемы или дают некоторую погрешность в расчетах, которой дают некоторую погрешность в расчетах, которой можно пренебречь в реальной действительности.
Кроме того, мировая практика выработала методы оценки инвестиционных проектов, которые учитывают все возможные условия их реализации и поэтому обладают свойством универсальности, что и позволят использовать их для определения эффективности почти любого проекта с достаточной точностью.
Однако не требуется применять все оценочные показатели во всех проектах, поскольку они очень сильно отличаются друг от друга. Для любого из них могут быть годные лишь те показатели, которые будут учитывать его индивидуальные особенности. Другими словами, надо знать область использования конкретного показателя, а также когда и какой показатель применить в каждом конкретном случае





















