Оценка влияния шероховатости на эффективность лопаточных решеток
Оценка влияния шероховатости на эффективность лопаточных решеток
Вопрос о целесообразных требованиях к чистоте поверхности НЛ и РЛ при их изготовлении весьма актуален. Завышенные требования приводят к росту стоимости их производства. Недостаточные могут оказать отрицательное влияние на эффективность и надежность проточной части турбомашины. При этом низкий класс чистоты затрудняет контроль на отсутствие дефектов в материале.
Важным также является вопрос об определении влияния шероховатости (если она превышает величину допустимой шероховатости) на экономичность лопаточного аппарата.
В процессе эксплуатации паровых турбин шероховатость поверхности НЛ и РЛ увеличивается вследствие разрушения поверхностного слоя материала из-за эрозии и коррозии, а также из-за откложений (соли и механических примесей). Более высокая шероховатость бывает в первых ступенях на выходных кромках лопаток НА с выпуклой стороны профиля из-за разрушения от эрозии, а в некоторых турбинах и на входных - из-за отложения солей.
В газовых турбинах – изнашивается входная и выходная кромки на выпуклой поверхности (кромки бывают пробиты окалиной). Чистота основной части лопаток практически не меняется. При работе на жидком топливе – отложения на поверхности лопаток. На поверхностях лопаток компрессоров – наблюдаются отложения (пыль, масло) и следы эрозии на выпуклой поверхности.
Изменение шероховатости зависит от культуры эксплуатации. Необходимы чистка при капитальном ремонте и регулярная промывка проточной части паровых турбин. Также необходимы: организация водоподготовки (ПТУ) и воздушные фильтры (ГТУ).
Поверхность профиля в действительности всегда имеет некоторую шероховатость и волнистость. Например, турбинные лопатки выполняются с чистотой по седьмому классу и имеют максимальную шероховатость (3…6)×10-3 мм. Модели турбомашин в некоторых случаях изготовляются с чистотой поверхности по девятому и даже десятому классу, чему соответствует шероховатость (5…8)×10-3 мм. Во время же эксплуатации шероховатость быстро возрастает. Например, в газовых турбинах при неблагоприятных условиях уже после 60 часов работы шероховатость достигает 0,02 мм; такая же шероховатость получается через несколько недель работы паровых турбин под влиянием коррозии и отложения солей. Столь большая шероховатость может оказывать сильное влияние на характеристики турбомашин.
В зависимости от размеров шероховатости могут возникать различные режимы течения.
Первый предельный режим возникает если бугорки шероховатости погружены в ламинарный подслой; они обтекаются без отрывов и вихреобразований, и поверхность можно считать гладкой. Этот режим наступает приблизительно при соблюдении неравенства
, где b – хорда профиля, k – средняя высота бугорков.
Второй предельный режим наблюдается, если бугорки шероховатости выходят за пределы ламинарного подслоя и как плохо обтекаемые тела повышают коэффициент сопротивления. Последний в этом случае не зависит от числа Рейнольдса, вследствие чего потери можно считать пропорциональными скоростному напору протекающей жидкости и режимы течения автомодельными по числу Re. При этом сопротивление существенно зависит от величины относительной шероховатости
.
Рекомендуемые материалы
Промежуточный режим наступает, если бугорки шероховатости имеют размер того же порядка, что и толщина ламинарного подслоя.
В лекции "Лекция 17" также много полезной информации.
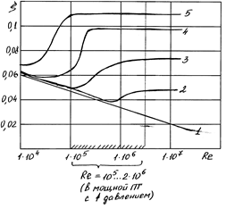
Влияние относительной шероховатости на сопротивление труб было установлено Никурадзе. На рисунке представлена кривая коэффициента сопротивления решетки рабочих профилей по опытам ЛПИ.
z - коэффициент сопротивления решетки РЛ; b = 40 мм;
= 0,618;
= 77°; М = 0,1…0,25.
1 – аэродинамически гладкая поверхность; 2 -
мм;
3 -
мм; 4 -
мм = 0,04 мм; 5 -
мм = 0,1 мм.
![]() | ![]() | ||
Допускаемой высотой шероховатости называют предельную высоту бугорков шероховатости, при которой поверхность еще можно рассматривать как гладкую, т. е. при которой имеет место первый предельный режим. Следует стремиться к тому, чтобы шероховатость была меньше допускаемой во избежание повышения сопротивления решетки профилей.
В приближенных расчетах полный коэффициент сопротивления можно вычислять по полуэмпирическим формулам





















