Разрядные лампы высокого давления
4. Разрядные лампы высокого давления
Ртутные лампы высокого давления
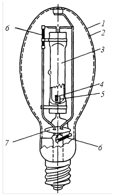
Ртутные лампы высокого давления представляют собой трубку из кварцевого стекла. В торцы трубки впаяны активированные самокалящиеся вольфрамовые электроды (рис. 4.1). Внутрь трубки после тщательного удаления воздуха вводится строго дозированное количество ртути и аргон при давлении 1,5…3,0 кПа. Аргон служит для облегчения зажигания разряда и защиты электродов от распыления в начальной стадии разгорания лампы, так как при комнатной температуре давление паров ртути очень низкое (около 1 Па). В некоторых типах ламп кварцевая трубка помещается в стеклянную колбу.

Рис. 4.1. Лампа типа ДРЛ (в разрезе):
1 – внешняя стеклянная колба; 2 – слой люминофора; 3 – разрядная трубка из прозрачного кварцевого стекла; 4 – рабочий
электрод; 5 – зажигающий электрод; 6 – ограничительные
резисторы в цепи зажигающих электродов; 7– экран
После зажигания дугового разряда происходит нагревание разрядной трубки и испарение ртути. Давление паров ртути повышается, вместе с тем изменяются все характеристики разряда: растут напряжение на лампе, мощность, поток излучения и КПД. Этот процесс продолжается в течение 5…7 минут до тех пор, пока не испарится вся ртуть, после чего все характеристики стабилизируются.
Лампы типа ДРЛ (Д – дуговая, Р – ртутная, Л - люминесцентная). Они представляют собой ртутную горелку в виде трубки из прозрачного кварцевого стекла, смонтированную в колбе из тугоплавкого стекла (рис. 4.1). Внутренняя поверхность стеклянной колбы покрыта тонким слоем порошкообразного люминофора. В качестве люминофора применяют главным образом фосфат-ванадат иттрия, активированный европием.
Колба лампы снабжена резьбовым цоколем.
Рекомендуемые материалы
Лампы типа ДРЛ выпускаются с горелками, имеющими кроме двух основных электродов еще два зажигающих электрода, служащих для облегчения зажигания разряда. Лампы включаются в электрическую сеть через дроссель.
Лампы ДРЛ характеризуется высокой светоотдачей и сроком службы в среднем 10000 ч. Световая отдача ламп ДРЛ составляет примерно для ДРЛ 250 - 54, ДРЛ400 – 60, ДРЛ700 – 58, ДРЛ1000 - 59 лм/Вт.
Спектр видимого излучения смещен в сторону ультрафиолетового излучения и поэтому эти лампы непригодны для освещения тех помещений, где работа связана с высокими требованиями по цветопередаче.
Металлогалогенные лампы
Устройство и принцип действия металлогалогенных ламп основан на том, что галогениды многих металлов испаряются легче, чем сами металлы, и не разрушают кварцевое стекло. Поэтому внутрь колб металлогалогенных ламп кроме ртути и аргона дополнительно вводятся различные химические элементы в виде их галоидных соединений, например, йод, бром, хлор. После зажигания разряда, когда достигается рабочая температура колбы, галогениды металлов частично переходят в парообразное состояние. Попадая в центральную зону разряда с температурой несколько тысяч градусов Кельвина, молекулы галогенидов диссоциируют на галоген и металл. Атомы металла возбуждаются и излучают характерные для них спектры. Диффундируя за пределы разрядного канала и попадая в зону с более низкой температурой вблизи стенок колбы, они воссоединяются в галогениды, которые вновь испаряются. Такой замкнутый цикл обеспечивает некоторые преимущества перед лампами ДРЛ: во-первых в разряде создается концентрация атомов металлов, дающих требуемый спектр излучения , так как при рабочей температуре кварцевой колбы 800…900°С давление паров галогенидов многих металлов значительно выше, чем самих металлов, таких как таллий, индий, скандий, диспрозий и др. и во-вторых появляется возможность вводить в разряд щелочные металлы натрий, литий, цезий и другие агрессивные металы (например, кадмий, цинк), которые в чистом виде вызывают быстрое разрушение кварцевого стекла, а в виде галогенидов не вызывают такого разрушения.
Для общего освещения в настоящее время наиболее широкое распространение получили металлогалогенные лампы со следующими составами металлогалогенных добавок (кроме ртути и зажигающего газа): 1) иодиды натрия, таллия и индия; 2) иодиды натрия, скандия и тория. Лампы имеют спектр, состоящий из отдельных линий ртути и линий добавок, расположенных в различных областях спектра, благодаря чему удается сочетать высокую световую отдачу с приемлемым качеством цветопередачи.

а) б)
Рис. 4.2. Общий вид металлогалогенных ламп общего освещения:
а) – лампа 400 Вт в эллипсоидальной прозрачной колбе;
б) – в цилиндрической прозрачной колбе
Металлогалогенные лампы для общего освещения типа ДРИ:
Д – дуговая, Р – ртутная, И – с излучающими добавками. Лампы типа ДРИ по конструкции подобны лампам типа ДРЛ. В качестве внешней колбы обычно применяется стандартная внешняя колба ламп типа ДРЛ, но без люминофорного покрытия или специальная колба цилиндрической формы (рис. 4.2 а, б).
У ламп ДРИ Световая отдача и цветопередача дугового разряда ртути и световой спектр значительно улучшаются. Светоотдача ламп составляет примерно ДРИ 250 – 76, ДРИ400 – 87, ДРИ700 – 85, ДРИ1000 - 90 лм/Вт.
Световая отдача и более высокий индекс цветопередачи чем ламп ДРЛ, но срок службы ниже.
Натриевые лампы
Принцип действия натриевых ламп основан на использовании резонансного излучения D-линий натрия (589 и 589,6 нм). Эти лампы обладают самой высокой световой отдачей сроком службы среди разрядных ламп. Недостатком натриевых ламп является низкое качество цветопередачи и применяются в основном для освещения площадей, парков, уличного освещения.
В зависимости от рабочего давления паров натрия выделяют два типа ламп – натриевые лампы низкого давления (НЛНД) и натриевые лампы высокого давления (НЛВД).
Натриевые лампы низкого давления представляют собой разрядные трубки диаметром 15…25 мм и изготавливаются из специальных сортов стекла, устойчивых к воздействию разряда в парах натрия.
Применяются натриевые лампы низкого давления для освещения автострад, туннелей, складов, а также как архитектурное и декоративное освещение.
Натриевы лампы ДНаТ – дуговая натриевая трубчатая наиболее эффективные современные источники света. Световая отдача их достигает 100…130 лм/Вт (рекорд среди источников света). Продолжительность работы – до 15000 ч.
Спектр видимого излучения лежит в зоне желто-краного цвета, что делает эти лампы непригодными для освещения помещений, где выполняется зрительная работа. Обладая высоким световым потоком и искривленным спектром излучения освещение натриевыми лампами создает слепящее действие, дискомфорт, а, следовательно, быструю утомляемость и снижение работоспособности.
Натриевые лампы типа ДНаТ для внутреннего освещения применяются редко ввиду больших пульсаций излучаемого светового потока и значительного ультрафиолетового излучения. Их допускается использовать только с разрешения органов санитарного надзора при условии, что освещенность в зоне пребывания людей не превышает 150 лк. Эти лампы широко применяются для освещения улиц, площадей, парков. Натриевые лампы высокого давления типа ДНаТ имеют цилиндрическую разрядную трубку, смонтированную в вакуумированной внешней колбе (рис. 4.3 а) и содержат смесь паров натрия и ртути при высоком давлении и зажигающий газ – ксенон.

Рис. 4.3. Общий вид натриевых ламп высокого давления:
а) – в прозрачной колбе (типа ДНаТ); б) – в светорассеивающей колбе (типа ДНаТМт); в) – в софитном исполнении (типа ДНаТСф); 1 –разрядная трубка; 2 – стеклянная внешняя колба;
3 – теплоотражающий экран; 4 – светорассеивающее покрытие;
5 –бариевый газопоглотитель; 6 – цоколь резьбовой; 7 – кварцевая внешняя колба; 8 – цоколь специальный
Зажигание ламп осуществляется специальным устройством, подающим на лампу высокочастотный импульс с амплитудой 2…4 кВ. Время разгорания лампы 5…7 мин и определяется скоростью нагрева лампы и испарения натрия и ртути. По мере разгорания спектр излучения меняется от монохроматического желтого до нормального уширенного, соответствующего установившимся рабочим параметрам. Время повторного зажигания выключенной лампы определяется временем охлаждения разрядной трубки до температуры, при которой подаваемые импульсы напряжения достаточны для повторного зажигания разряда и составляет 2…3 мин.
На рис. 4.5, 4.6, 4.7 приведены электрические схемы включения разрядных ламп типа ДРЛ, ДРИ, ДНаТ в сеть.

Рис. 4.5. Схема включения лампы ДРЛ в сеть

Рис. 4.6. Схема включения лампы ДРИ в сеть

Рис. 4.7. Схема включения лампы ДНаТ в сеть
Ксеноновые лампы
В ксеноновых лампах используется разряд в газе ксеноне при высоком и свервысоком давлениях и плотности тока, составляющей десятки и сотни
. Разряд в ксеноне непрерывностью спектра излучения в пределах от 200 нм до 2 мкм. В видимой части спектр близок к солнечному и обеспечивает высокую цветопередачу.
Для зажигания как безбалластных, так и балластных ксеноновых ламп применяются специальные зажигающие устройства, дающие высоковольтный (да 50 кВ) импульс высокой частоты.
Применяются ксеноновые лампы для освещения больших открытых пространств, площадей, архитектурных сооружений и т.д.
Пускорегулирующие аппараты для ламп высокого давления
Устройства, содержащие элементы зажигания и стабилизации тока лампы, называют пускорегулирующими аппаратами (ПРА).
В обозначении ПРА для ламп ДРЛ, ДРИ, ДНаТ указывается:
– количество ламп;
Люди также интересуются этой лекцией: 8 Виды экспертизы.
– исполнение балластного сопротивления (И – индуктивное);
– мощность лампы;
– номинальное напряжение;
– исполнение лампы.
Например, 1И–250ДРЛ/220–В.
Для включения ламп высокого давления ДРИ и ДНаТ в комплект ПРА включаются импульсные зажигающие устройства (ИЗУ), работающие в совокупности с ПРА определенного типа ламп.























