Вибрация оборотной частоты
4.2. Вибрация оборотной частоты
4.2.1. Общая причина вибрации
Вибрация оборотной частоты возникает из–за несовпадения центров тяжести отдельных сечений валопровода с линией, вокруг которой происходит его вращение. Такое несовпадение обычно возникает по двум основным причинам:
1) из–за несовпадения линии центров тяжести отдельных сечений с линией геометрических центров этих же сечений;
2) из–за смещения отдельных, даже уравновешенных сечений целиком относительно оси вращения (например, вследствие изгиба вала).
В свою очередь появление каждой из этих причин несовпадения центров тяжести отдельных сечений с осью вращения вызывается конкретными многочисленными обстоятельствами, которые рассматриваются ниже.
4.2.2. Неуравновешенность ротора
Неуравновешенность ротора является одной из основных причин вибрации. Она может возникать на стадиях изготовления, монтажа и сборки, а также в процессе эксплуатации. Небаланс, получаемый на стадии изготовления, обычно связан с недостаточной балансировкой ротора. Аналогичный небаланс возникает и при ремонтах турбины, когда замена отдельных поврежденных лопаток, бандажей и других деталей приводит к нарушению уравновешенности.
Особенно часты случаи появления вибрации при недостаточно внимательной эксплуатации. Обычно причиной появления неуравновешенности на работающей турбине является обрыв рабочих лопаток, бандажей и проволок.
Рекомендуемые материалы
Пример 4.2. Оценим неуравновешенную центробежную силу, возникающую, например, при отрыве рабочей лопатки последней ступени турбины Т–250/300–23,5 ТМЗ. Ее масса составляет 12,8 кг, а центр масс расположен на радиусе примерно 1 м.
Неуравновешенная центробежная сила составит:
,
где ω = 314 рад/с – угловая частота вращения при п = 50 1/с.
Рассмотрим пример вращения простейшего ротора на двух подшипниках с валом идеально кругового сечения (рис. 2.1). Если этот ротор сбалансирован, то при его вращении никакой вибрации не возникает. На первый взгляд это кажется странным, поскольку под действием собственного веса вал ротора прогнется, и центры масс отдельных сечений валопровода сместятся относительно оси, соединяющей центры расточек подшипника. Однако все дело как раз в том, что ротор будет вращаться не вокруг этой воображаемой оси, а вокруг криволинейной оси естественного прогиба вала, возникшего под действием силы тяжести. Поскольку центры масс сечений валопровода будут всегда находиться на оси вращения, то и никаких сил, возбуждающих вибрацию, не возникнет. Таким образом, собственный вес вала вибрации не возбуждает.
Иная картина возникает при появлении небаланса. Если, например, на периферии диска отсутствует масса т (например, вследствие отрыва лопатки), то возникает центробежная сила Р = тωr2, вращающаяся вместе с ротором с угловой скоростью ω. Если зафиксировать изменение этой силы во времени отдельно в вертикальной и горизонтальной плоскостях, то нетрудно увидеть, что они изменяются по следующим законам:
,
.
Под действием вращающейся силы R ротор при своем вращении уже не будет сохранять фиксированное положение по отношению к расточкам подшипника, как это было в случае идеально уравновешенного ротора. Ротор начинает совершать сложное движение: во–первых, он по–прежнему будет вращаться вокруг своего геометрического центра (точка 0) с угловой скоростью ω, во–вторых, валопровод получит стрелу прогиба, а плоскость изгиба валопровода будет вращаться с угловой скоростью Ω, отличной от частоты вращения самого ротора и даже переменной во времени. Последний вид движения ротора называют прецессионным, а его угловую скорость – скоростью прецессии. Именно прецессионное движение является причиной вибрации подшипников, фундаментной плиты и т.д.
Сложное движение, совершаемое ротором, несколько похоже на движение волчка, запущенного с наклонным положением его оси. В этом случае волчок, вращается вокруг собственной оси, а его ось совершает прецессионное движение, описывая круговой конус.
Прецессионное движение приводит к переменному во времени действию шейки вала на масляную пленку, через которую передается усилие на корпус подшипника, возбуждая его вибрацию. В свою очередь колеблющийся корпус подшипника возбуждает вибрацию верхней фундаментной плиты и всего фундамента.
Появляющийся прогиб валопровода зависит, прежде всего, от частоты его вращения: при постепенном и медленном увеличении частоты вращения прогиб медленно увеличивается, затем резко возрастает, достигая максимума, и снова быстро убывает практически до нуля. Частота вращения, при которой наблюдается резкий всплеск динамического прогиба вала, называется критической, или резонансной.
Прогиб вала на критической частоте вращения зависит от двух величин: неуравновешенности ротора и сил сопротивления колебательному движению. Абсолютно уравновешенный ротор даже на критической частоте не вибрирует, прогиб неуравновешенного ротора прямо пропорционален смещению центра масс. Силы сопротивления в основном сосредоточены в масляной пленке, на которой вращается ротор.
Выше рассмотрено движение однодискового симметрического ротора. Картина качественно не изменится, если рассмотреть жесткий ротор (рис. 4.2), получивший неуравновешенность, например, вследствие неправильного изготовления, при котором возникла коленчатость – равномерное смещение центров тяжести всех сечений на величину е (это происходит при смещении оси центрального отверстия при неправильном изготовлении). Возникающая в результате коленчатости неуравновешенная сила R = тpω2е, где тр – масса ротора.

Рис. 4.2. Коленчатость ротора
Легко убедиться, что даже небольшая коленчатость приводит к возникновению очень больших неуравновешенных сил.
Пример 4.3. Определим неуравновешенную силу, действующую на ротор, выполненный с коленчатостью е = 0,1 мм при угловой частоте вращения 314 рад/с. Имеем:
,
т.е. при эксцентриситете, составляющем всего 0,1 мм, возникает неуравновешенная сила, равная силе тяжести ротора.
Поэтому допуски на размеры ротора при его изготовлении являются очень жесткими: радиальное биение не должно превышать 0,02 мм, а смещение центрального отверстия – 0,3 мм.
В общем случае эксцентриситеты в различных сечениях ротора различны, а линия, соединяющая центры масс отдельных сечений, является пространственной кривой.
Вибрация оборотной частоты, вызванная неуравновешенностью вала, имеет характерные особенности, позволяющие отличить ее от вибрации, вызванной другими причинами. Прежде всего, она имеет синусоидальный характер и ее интенсивность растет с увеличением частоты вращения.
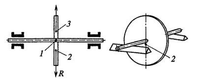
Для ликвидации вибрации, вызванной неуравновешенностью роторов, необходима балансировка. В процессе изготовления ротор обязательно проходит статическую и динамическую балансировку. Статической балансировке подвергают облопаченные диски. Диск (рис. 4.3) надевают на оправку и устанавливают на призматические ножи из закаленной стали. Если диск не уравновешен, то он повернется так, что его центр масс окажется внизу. Тогда с противоположной стороны устанавливают балансировочный груз 3 или в зоне центра масс снимают ее избыток. Затем статически отбалансированные диски сажают на вал с натягом.

Рис. 4.3. Статическая балансировка тонкого диска
1 – геометрический центр диска; 2 – центр масс; 3 – балансировочный груз
Статическая балансировка достаточна только для тонких дисков, насаженных на вал без перекосов. Для многодисковых роторов необходима динамическая балансировка. Действительно, представим себе многодисковый ротор, имеющий неуравновешенность R в одном из дисков, например, в предпоследнем (рис. 4.4, а). Ротор можно уравновесить, установив балансировочный груз в плоскости неуравновешенного диска. Однако на практике установить, в каком из дисков ротора имеется неуравновешенность, невозможно, поэтому для статической балансировки уравновешивающий груз придется установить в плоскости другого диска. Тогда при отсутствии вращения ротор будет вполне уравновешен, хотя неуравновешенность R и груз Ry будут установлены в разных поперечных плоскостях.
Если теперь привести статически уравновешенный ротор во вращение, то силы R и Ry будут изгибать вал ротора (рис 4.4, б). Плоскость изгиба вала будет вращаться, вызывая вибрацию подшипников и, следовательно, всего турбоагрегата. Таким образом, неуравновешенность статически уравновешенного ротора обнаруживается только при вращении и поэтому ее называют динамической неуравновешенностью. Для ее ликвидации необходимо установить в любых двух поперечных плоскостях равные грузы, не нарушающие статической балансировки (рис. 4.4, в), но изгибающие вал в направлении, противоположном изгибу от сил R и Ry . Правильный подбор этих грузов, создающий силы Ry' позволяет ликвидировать динамический прогиб вала. Это и называют динамической балансировкой. Балансировочные грузы обычно устанавливают в плоскостях первого и последнего дисков ротора (а иногда и в промежуточных дисках), которые наиболее доступны и достаточно удалены друг от друга.
Балансировка производится на турбинном заводе на балансировочном станке в специальных вакуумных камерах и обязательно на рабочей частоте вращения. При ремонтах турбины или вследствие аварий может появиться неуравновешенность, которую устраняют в условиях электростанции путем балансировки в собственных подшипниках турбины.

Рис. 4.4. Динамическая неуравновешенность ротора и ее устранение
а – статическая балансировка; б – динамически неуравновешенный ротор; в – уравновешенный ротор
Идеальную балансировку осуществить нельзя, и ротор всегда будет иметь некоторый остаточный небаланс. Поэтому важно представлять себе другие меры, с помощью которых уже при заданном остаточном небалансе можно уменьшить вибрацию валопровода. Уровень вибрации в сильной степени зависит от частоты возмущающих сил, их распределения вдоль оси валопровода и его вибрационных характеристик.
Частота возмущающей силы, вызванная неуравновешенностью ротора известна: она совпадает с частотой вращения ротора и, в частности, для теплофикационных турбин для привода генератора при рабочей частоте вращения составляет 50 Гц. Характер распределения возмущающих сил вдоль оси ротора определяется законом распределения эксцентриситета вала вдоль оси. В общем случае линия эксцентриситетов является пространственной кривой, индивидуальной для каждого ротора. Установить ее характер какими–либо прямыми измерениями невозможно. Однако это можно сделать косвенными методами, например, путем анализа вибрации подшипников и концов вала и проведения соответствующих расчетов.
Под вибрационными характеристиками валопровода принимают критические частоты валопровода и соответствующие им главные формы.
Выше при рассмотрении движения однодискового неуравновешенного ротора (рис. 4.1) выяснилось, что действие неуравновешенной вращающей силы, эквивалентно действию двух невращающихся сил в горизонтальной и вертикальной плоскостях и изменяющихся во времени соответственно по законам косинуса и синуса. Совершенно аналогично движение центра вала по сложной кривой в пространстве можно представить себе как наложение движений в горизонтальной и вертикальной плоскостях. Иными словами, вместо того чтобы рассматривать сложное пространственное движение вала, можно рассматривать относительно простое движение в каждой из плоскостей (так называемые поперечные, или изгибные колебания) с условиями закрепления, совпадающие с закреплением ротора в подшипниках. При такой схематизации опоры ротора можно считать шарнирами (рис. 4.5).

Рис. 4.5. Первые три главные формы колебаний шарнирно опертой балки постоянного сечения
Если некоторую произвольным образом опертую балку в начальный момент времени изогнуть произвольным образом, а затем отпустить, то балка начнет совершать произвольные колебания, каждая ее точка будет перемещаться во времени по произвольному (негармоническому) закону, и поэтому говорить о какой–то частоте колебаний в этом случае нет смысла. Существуют, однако, вполне определенные формы начального изгиба рассматриваемой балки, которые будут давать строго синусоидальные колебания во времени. Эти формы называются главными формами, а соответствующие им частоты – собственными частотами. Совокупность соответствующих собственной частоты и главной формы называются тоном колебаний. Тон колебаний, соответствующий самой низкой частоте, называется основным. Например, для балки, показанной на рис. 4.5, главными формами являются синусоиды, а соответствующие им частоты собственных колебаний пропорциональны квадрату номера тона колебаний.
Важно четко усвоить, что вибрационные характеристики – это характеристики системы (в данном случае валопровода).
Теоретически ротор реального турбоагрегата имеет бесчисленное количество критических частот, с которыми не должна совпадать рабочая частота вращения. Если в процессе выхода на рабочую частоту ротор турбоагрегата не проходит критических частот, то такой ротор называют жестким. Если же рабочая частота вращения больше хотя бы одной из критических скоростей, то такой ротор называют гибким. Эти названия связаны с тем, что чем выше жесткость конструкции ротора (больше диаметр его вала и меньше длина), тем большую критическую частоту вращения он имеет.
Жесткий ротор, конечно, всегда предпочтительнее, но в современных конструкциях длина ротора и его масса (с увеличением и того, и другого критическая частота уменьшается) столь велики, что жесткие роторы мощных турбин встречаются очень редко. При этом необходимо учитывать снижение критической частоты вращения из–за податливости масляной пленки.
Обычно интерес представляют первые несколько критических частот, наибольшие значения которых не превышают удвоенной рабочей частоты вращения. В табл. 4.1 представлены значения критических частот некоторых турбоагрегатов.
Таблица 4.1 – Критические частоты вращения некоторых теплофикационных турбоагрегатов, об/мин
| Турбина | Электрогенератор | Номер критической частоты вращения валопровода | ||||||
| 1 | 2 | 3 | 4 | 5 | 6 | 7 | ||
| Т–250/300–24,5 ТМЗ | ТВВ–320–2 | 950 | 1590 | 1680 | 1690 | 1700 | 2800 | > 6000 |
| Т–180/210–12,8 ЛМЗ | ТГВ–200М | 1462 | 1490 | 2200 | 2545 | 4360 | – | – |
| ТВВ–200–2А | 1605 | 1946 | 2271 | 2562 | 4707 | – | – | |
| Т–185/220–12,8 ТМЗ | ТГВ–200М | 1300 | 1660 | 1700 | 1860 | 3439 | – | – |
| Т–110/120–12,8 ТМЗ | ТВФ–120–2 | 1410 | 1830 | 1980 | 2000 | 3980 | – | – |
| ПТ–135/145–12,8 ТМЗ | ТВВ–160УЗ | 1410 | 1500 | 1820 | 4000 | – | – | – |
| ПТ–80/100–12,8–1,3 ЛМЗ | ТВФ–20–2 | 1580 | 2214 | 2470 | 4650 | – | – | – |
| ПТ–60/75–12,8–1,3 ЛМЗ | ТВФ–63–2 | 1862 | 2340 | 5491 | – | – | – | – |
| Р–100–12,8 ТМЗ | ТВФ–100–2 | 1400 | 1740 | 4060 | – | – | – | – |
| Р–50–12,8/1,3 ЛМЗ | ТВФ–60–2 | 1862 | 2215 | 5491 | – | – | – | – |
Знание вибрационных характеристик валопровода позволяет определить его реакцию на внешнее переменное воздействие, иными словами, выяснить, существуют ли условия для возникновения интенсивной вибрации или нет. Выше отмечалось, что интенсивные колебания возникают при совпадении частоты возмущающихся сил с частотой собственных колебаний (при резонансе). Применительно к роторам турбин резонанс возникает при совпадении частоты вращения с критическими частотами вращения. Естественно возникает вопрос – в чем причина этого явления?

Рис. 4.6. Движение шейки вала в расточке вкладыша
а – иллюстрация эффективности силы, приложенной к тележке, в зависимости от ее направления; б – вала; 1 – центр вкладыша; 2 – центр масс; 3 – траектория движения центра шейки вала
Ответ на этот вопрос можно получить из рис. 4.6, основываясь на следующих рассуждениях. Известно, что мощность силы равна произведению силы, скорости тела и косинуса угла, образованного ими (рис. 4,6, а):
.
Максимальный эффект от действия силы наблюдается в том случае, когда векторы R и υ направлены в одну сторону.
Возвращаясь к ротору (рис. 4.6,б), видим, что действующей на него силой является неуравновешенная сила R, а скорость υ всегда направлена по касательной к траектории движения центра шейки вала. При малых частотах вращения прогиб вала, изображаемый вектором r, будет следовать за возмущающей силой R, т.е. угол γ будет равняться нулю. При увеличении частоты вращения вследствие инерции движения ротора вектор прогиба r начинает отставать от вектора возмущающей силы R, причем с увеличением частоты вращения отставание будет расти. При некоторой частоте вращения векторы R и υ совпадут по направлению, и в этот момент мощность, передаваемая силой валу, будет максимальна. Это и есть момент резонанса. При дальнейшем увеличении частоты вращения между векторами R и υ опять появится угол и эффект возмущающей силы R уменьшится.
Таким образом, причиной повышенной вибрации ротора при резонансе является совпадение направлений действия неуравновешенной силы и скорости прецессионного движения ротора. Рабочая частота вращения турбоагрегата, безусловно, должна отличаться от критической с достаточным запасом. Однако неправильный монтаж, при котором недостаточно учитывается изменение условий работы при переходе от монтажных к рабочим, может изменить критическую частоту и приблизить ее к рабочей. Такое положение, например, возникает при неравномерном тепловом расширении корпусов подшипников. В этом случае какая–либо из опор валопровода окажется разгруженной, и критическая частота соответственно уменьшится. Аналогичным образом может повлиять податливость масляной пленки, на которой вращаются шейки вала. Изменение формы и размеров расточки при ремонте и температуры масла также может приблизить критические скорости к опасному пределу.
На уровень вибрации существенное влияние оказывает распределение эксцентриситета вдоль оси валопровода. Выше отмечалось, что линия эксцентриситета представляет собой пространственную кривую. В курсе математики показывается, что эту кривую можно рассматривать как сумму плоских кривых, совпадающих с главными формами, масштаб которых зависит от конкретного вида линии эксцентриситета. Наиболее опасной составляющей возмущающей силы является та, которая соответствует тону колебаний, ближе всего находящемуся к рабочей частоте вращения. Рассмотренный выше процесс балансировки по существу является процессом уменьшения составляющих кривой эксцентриситетов, отвечающих нескольким первым тонам колебаний.
4.2.3. Нарушение посадки деталей
При нарушении контакта сопрягаемых поверхностей вала и насадной детали (рабочего диска, втулки уплотнения и т.д.) происходит смещение центра масс насаженной детали относительно оси вращения, что приводит к разбалансировке ротора. Нарушение посадки может происходить по разным причинам.
Натяг посадки рабочих дисков (разность размеров вала и отверстия диска до посадки) составляет десятые доли миллиметра и при изготовлении должен выдерживаться с очень большой точностью, так как при увеличении натяга увеличивается напряженность диска и появляется опасность его разрыва, а при его уменьшении возникает опасность освобождения диска при частоте вращения, меньшей номинальной.
Характерными признаками вибрации, связанной с появлением зазора и смещением диска, являются ее возникновение на строго определенной частоте вращения (частоте освобождения), увеличение ее интенсивности при дальнейшем повышении частоты вращения и исчезновении вибрации при снижении частоты вращения из–за восстановления посадки.
При работе насаженной детали при высокой температуре происходит постепенное ослабление посадки, вызывающее постепенное снижение освобождающей частоты вращения и постепенное нарастание вибрации. Поэтому в области высоких температур стремятся избегать соединения деталей ротора путем насадки.
Ослабление посадки может быть временным, когда, например, из–за подачи пара с быстро повышающейся температурой деталь расширяется значительно быстрее, чем вал. Такая ситуация, в частности, может возникнуть при подаче горячего пара на уплотнения, выполненные на насадных втулках. Характерными признаками возникновения вибрации по этой причине является ее постепенное ослабление по мере разогрева вала и восстановлении натяга.
4.2.4. Прогибы вала и задевания
Все рассмотренные выше причины вибрации оборотной частоты относились к случаю появления небаланса. Другой причиной вибрации является деформация вала, вследствие которой центры масс отдельных сечений, несмотря на то, что они могут совпадать с геометрическими центрами, начинают вращаться вокруг некоторой оси, отличной от оси вала (прецессировать).

Рис. 4.7. Расцентровки роторов
а – радиальная; б – угловая; в – смешанная
4.2.4.1. Дефекты соединения и центровки роторов. Если два вала соединены полумуфтами с радиальной расцентровкой δ (рис. 4.7, а), или с изломом у (рис. 4.7, б), или с тем и другим одновременно (рис. 4.7, в), то это приводит к тому, что весь валопровод будет вращаться вокруг некоторой кривой, а отдельные его участки окажутся смещенными относительно нее, что и вызовет при чрезмерных расцентровках интенсивную вибрацию.
Не касаясь технологии прицентровки отдельных роторов валопровода друг к другу, подчеркнем, что центровка должна быть обеспечена в рабочих условиях с учетом возможных тепловых расширений корпусов подшипников у разных цилиндров, их возможного проседания (например, встроенных подшипников ЦНД) от сил атмосферного давления и веса охлаждающей воды в конденсаторе, тепловых деформаций колонн фундамента из–за расположенных рядом горячих паропроводов, подогревателей и т.д. С учетом этих обстоятельств при монтаже ротор сознательно устанавливают с рассчитанными расцентровками, для того чтобы обеспечить центровку при переходе к рабочим условиям.
Особенностью вибрации, вызванной расцентровками, является ее местный характер: обычно наблюдается интенсивная вибрация того корпуса подшипника, в котором валы соединены с расцентровкой. При этом наиболее сильно изнашиваются баббитовые заливки вкладышей этих же подшипников.
4.2.4.2. Прогибы вала. Прогиб вала ротора по любым причинам, кроме собственного веса, вызывает вибрацию оборотной частоты. Иногда вибрация оборотной частоты вызывается тепловой анизотропией ротора. Как известно, роторы и валы турбин изготовляют из поковок, которые в свою очередь получают ковкой отливок. Неравномерное затвердевание отливки в изложнице приводит к неравномерности по сечению отливки свойств материала, имеющий, однако, примерно осевую симметрию. Если при ковке вала окажется, что его ось сильно отклонится от оси отливки, то может появиться анизотропия (разные свойства по разным направлениям) коэффициента линейного расширения: часть волокон, например, с одной стороны вала будет при нагревании расширяться больше остальных. Поэтому при пуске турбины даже с абсолютно уравновешенным ротором появится изгиб вала и вибрация, зависящая от степени прогиба вала. Для исключения тепловой анизотропии каждая заготовка ротора проходит тепловую пробу: заготовка помещается в печь, нагревается очень медленно при медленном вращении до температуры, на 50 ºC превосходящей рабочую, и после выдержки в течение 72 ч проверяется биение ротора. Если последнее превышает 0,05 мм, то такой ротор бракуется.
Поскольку причиной проявления тепловой анизотропии является нагрев ротора, то вибрация, связанная с ней, зависит от уровня температур ротора и, следовательно, от нагрузки турбоагрегата. Вместе с тем важно подчеркнуть, что никакими методами исправить ротор, имеющий тепловую анизотропию, невозможно.
Неравномерность температуры вала по сечению в процессе термообработки поковки может привести к появлению в ее сечениях кольцевой зоны (рис. 4.8, б) с пониженным сопротивлением ползучести, смещенной относительно оси.

Рис. 4.8. Появление вибрации ротора вследствие асимметрии сопротивления его материала ползучести
а – зона максимального прогиба; б – зона пониженного сопротивления ползучести; в – нарастание остаточного прогиба в процессе эксплуатации на двух японских турбинах
Пример 4.4. Такая картина возникла в роторах ЦВД и ЦСД ряда японских турбин с температурой пара, поступающего в цилиндры, 566 ºС. В результате в области регулирующей ступени (рис. 4.8, а) происходил односторонний изгиб ротора, совпадающий со смещением зоны пониженного сопротивления ползучести и достигающий через 2–4 года 0,3 мм (рис. 4.8, в). В результате эксплуатация турбины становилась невозможной из–за сильной вибрации ротора.
Для исключения возможности нарушения симметрии требуется, чтобы в процессе термообработки разность температур по сечению не превышала 6 ºС.
Неправильная сборка ротора, в частности, недостаточные тепловые зазоры между дисками (рис. 4.9), также может быть причиной вибрации оборотной частоты. Торцы соседних дисков не могут быть выполнены строго параллельными. Поэтому при недостаточном зазоре между дисками при их тепловом расширении возникает односторонний контакт, ведущий к изгибу вала и появлению вибрации.

Рис. 4.9. Изгиб вала из–за непараллельности торцов дисков при недостаточных осевых зазорах
Наиболее частыми причинами прогиба вала являются его неравномерные по сечению прогрев или остывание. В этом случае волокна вала, имеющие большую температуру, расширяются сильнее, меньшую – слабее. Вследствие этого ротор прогибается в сторону, где температура выше.
Оценить прогиб можно по приближенной формуле:
, (4.2)
где fмакс – максимальный прогиб ротора (рис. 4.10); dв – средний диаметр вала ротора; l – расстояние между подшипниками; Δt – разность температур по сечению вала; αт – коэффициент линейного расширения.
Пример 4.5. Оценить прогиб ротора при разности температур Δt = 1 ºС, если его длина l = 5 м, диаметр вала dв = 0,4 м, а коэффициент линейного расширения материала вала αт = 12·10–5 1/К.
Используя последнюю формулу, получаем:
.
Обратим внимание на то, что при Δt = 5 ºС стрела прогиба уже достигает 0,5 мм и, если учесть всплывание ротора на масляном слое в подшипниках, возникает реальная опасность задеваний в уплотнениях, расположенных вблизи середины пролета вала.

Рис. 4.10. Измерение прогиба вала
При легких задеваниях, особенно на малой частоте вращения, происходит слабый износ уплотнений без особых последствий. Однако сильные задевания, даже если они, благодаря бдительности персонала, не приведут к тяжелым последствиям, крайне нежелательны. В таком, даже недлительном, режиме работы происходит очень сильный износ уплотнений, и в дальнейшем весь межремонтный период турбина работает с повышенной утечкой пара в диафрагменных и концевых уплотнениях, что снижает ее экономичность.
При неудачной конструкции уплотнений или при очень значительной разности температур ротор может получить остаточный прогиб (см. гл. 2) и потребуется его правка в заводских условиях. Важно подчеркнуть, что при сильных задеваниях вследствие все увеличивающегося прогиба вала вибрация будет непрерывно возрастать.
Для исключения возможности неравномерного нагрева ротора турбина снабжена валоповоротным устройством, которое работает непрерывно вплоть до полного остывания турбины при остановке, а также при пуске турбины.
Лекция "24 Расчёт электромагнитного экрана" также может быть Вам полезна.
Для контроля теплового изгиба ротора турбину снабжают специальным электромагнитным устройством, позволяющим по перемещению 8 консоли вала, расположенной в корпусе переднего подшипника, оценить стелу прогиба вала (рис. 4.10) по приближенной формуле:
.
Характерной особенностью вибрации оборотной частоты, вызванной тепловым изгибом вала, является ее исчезновение по мере прогрева ротора. Поэтому часто при ее появлении при пуске турбины путем снижения частоты вращения (уменьшения подачи пара) удается лучше прогреть ротор на сниженных оборотах с последующим увеличением частоты вращения уже без повышения уровня вибрации.
Тепловой прогиб ротора турбины, таким образом, носит временный характер. Но в роторе электрического генератора при несовершенной системе охлаждения могут возникнуть неравномерное стационарное температурное поле и стационарный прогиб, вызывающий вибрацию.
4.2.4.3. Задевания вращающихся деталей о неподвижные. Следует помнить, что любые задевания деталей ротора о статор неизбежно приводят к сильной вибрации. При задеваниях вследствие трения в короткое время выделяется большое количество тепла, которое неизбежно вызывает коробление деталей в зоне задеваний и, следовательно, нарушение балансировки или расцентровку.
Внезапное появление сильной вибрации всегда свидетельствует о серьезных нарушениях в проточной части турбины, и поэтому все инструкции предусматривают в этом случае необходимость быстрой остановки турбины.





















