Поверхности нагрева паровых котлов
2. Поверхности нагрева паровых котлов
2.1. Тепловосприятие поверхностей нагрева
Эффективная и надежная работа котельного агрегата возможна только при рациональной компоновке и схеме расположения отдельных элементов газового тракта, в котором происходит охлаждение продуктов сгорания топлива путем теплопередачи к нагреваемой рабочей среде в водопаровом тракте и к предназначенному для сжигания топлива воздуху в воздухоподогревателе. Для решения этой задачи необходимо знать все варианты конструктивного исполнения элементов поверхностей нагрева и достигаемых при их работе показателях – изменении температуры и давления теплоносителей.
Парообразующие поверхности паровых котлов различных систем заметно отличаются друг от друга, но всегда располагаются в основном в топочной камере и воспринимают теплоту радиацией. В зависимости от вида сжигаемого топлива топочные экраны воспринимают 40…50% полного количества теплоты, отдаваемой рабочей среде в котле в целом. В поверхностях нагрева горизонтального газохода это тепловосприятие составляет 20…25%, а на поверхности конвективной шахты приходится 30…40% теплоты.
На рис. 2.1 а, б показаны доли тепловосприятия в поверхностях котла, приходящиеся на нагрев воды, парообразование и перегрев пара при разных давлениях в котле с учетом температур перегретого пара и питательной воды.
Так, при среднем давлении (4 МПа) теплоты, получаемой экранами радиационным теплообменом в топке, недостаточно для покрытия полной его потребности на парообразование (62%), в связи с чем часть теплоты, затрачиваемой на испарение воды, передается в экономайзере и в конвективных котельных пучках труб на выходе из топки. Поэтому в барабанных котлах среднего давления обычно экономайзер становится кипящим, в нем питательная вода не только подогревается до температуры насыщения, но и частично превращается в пар. Для этих котлов характерны конвективные испарительные поверхности, образованные из трех-четырех рядов труб на выходе из топки с собственным нижним коллектором, питаемым водой из барабана, а также разводка труб заднего экрана в два-три ряда в зоне пересечения ими горизонтального газохода (фестон).
|
| Рис. 2.1. Распределение доли теплоты на подогрев, испарение и перегрев в котлах при разных давлениях и температуре пара на выходе: а - h - p - диаграмма нагрева воды (ΔhВ), ее испарения (ΔhИСП) и перегрева пара (ΔhПЕ); б - доли тепловосприятия поверхностей котла; Б - барабан; ЭКР - топочные экраны и доля испарения воды в экранах топки; ЭК - экономайзер и доля подогрева воды до насыщения в поверхности экономайзера; ПЕ - пароперегреватель и доля перегрева пара в поверхности пароперегревателя; hНАС, hН.П. - соответственно энтальпии насыщения воды и насыщенного пара в барабане; hП.В, hПЕ - энтальпии питательной воды на входе в котел и перегретого пара. |
|
|
Рекомендуемые материалы
В барабанных котлах высокого давления (10 МПа и выше) доля теплоты, используемая на парообразование, в значительной мере снижается (рис. 2.1 а, б), и тепловосприятие экранов в топочной камере становится достаточным для получения требуемого количества пара, в связи с чем экономайзер выполняет только свою основную функцию: подогревает поступающую питательную воду.
При сверхвысоком (18,5 МПа) и особенно при сверхкритическом давлении расширяется область подогрева воды, поэтому не только в конвективных пакетах экономайзера, но и в нижней части топочных экранов происходит нагрев воды до зоны фазового перехода (радиационный экономайзер), а далее расположены поверхности, в которых происходит фазовый переход от состояния воды к состоянию пара и начальный перегрев пара (средняя и верхняя радиационные части экранов топки).
При высоком и сверхкритическом давлениях пароперегревательные поверхности потребляют значительную долю тепловосприятия и не могут разместиться только в горизонтальном газоходе котла (тепловосприятие поверхностей здесь не превышает 20-22 %), поэтому часть поверхности пароперегревателя занимает верх топки (потолок, настенные панели), а выходной конвективный пакет часто находится в верхней части конвективной шахты (см. рис. 2.11, в).
|
| Рис. 2.11а. Компоновка пароперегревателей в барабанном котле высокого давления: 1 - топочная камера; 2 - конвективная шахта. |
В паровых котлах СКД заметно увеличивается доля тепловосприятия пароперегревательных поверхностей, при этом значительная часть этих поверхностей располагается на стенах топки, в зоне высоких тепловых потоков, что ставит специальные задачи по защите металла труб от перегрева.
На тепловосприятие конвективного экономайзера и воздухоподогревателя в конвективной шахте приходится около 30…35% общего тепловосприятия поверхностей котла. Воздухоподогреватель получает в конвективной шахте необходимое количество теплоты для доведения воздуха до заданной температуры, а на долю экономайзера отводят оставшуюся часть.
2.2. Конструкции топочных экранов
Как указано выше, топочные экраны получают до 50% всего тепловосприятия рабочей среды в котле и находятся в зоне наиболее высоких температур газов, требуют тщательного конструктивного выполнения для обеспечения надежной работы металла труб.
По конструкции различают экраны гладкотрубные, в которых трубы расположены вдоль стены топки с небольшим зазором 4…6 мм (рис. 2.2, а),
|
| Рис. 2.2a. Топка с гладкотрубными экранами: 1 - труба; 2 - огнеупорный бетон; 3 - тепловая изоляция; 4 - уплотнительный слой (обмазка, металлический лист); |
и газоплотные, которые могут быть выполнены двух типов: либо из таких же гладких труб, но с вваренными между ними проставками шириной 6…12 мм (рис. 2.2, б),
|
| Рис. 2.2б. Топочный гладкотрубный экран экран с вварными проставками (мембранный): 1 - труба; 3 - тепловая изоляция; 4 - уплотнительный слой (обмазка, металлический лист); 5 - металлическая проставка; |
либо с применением плавниковых труб, сваренных между собой (рис. 2.2, в).
|
| Рис. 2.2в. Газоплотный экран из плавниковых труб: 1' - плавниковая труба |
Экраны из таких сваренных между собой панелей образуют монолитную цельносварную газоплотную конструкцию, их называют мембранными. Для создания в топке зоны устойчивого воспламенения малореакционных топлив, требующих высокой температуры для их интенсивного горения, экраны всех типов на соответствующих участках покрывают огнеупорной массой с закреплением ее на приваренных к трубам шипах. Такие экраны называются футерованными экранами (рис. 2.2, г, д).

Рис. 2.2г, д. Типы экранирования топки:
г - футерованный гладкотрубный экран; д - футерованный мембранный экран; 2 – огнеупорный бетон; 3 - тепловая изоляция; 4 - уплотнительный слой (обмазка, металлический лист); 5 - металлическая проставка; 6 - приварные шипы; 7 - огнеупорная масса
Гладкотрубные экраны применяются в паровых котлах всех систем, работающих под разрежением газового тракта. При естественной циркуляции в целях повышения надежности движения рабочей среды в трубах топочные экраны располагаются почти исключительно вертикально и в отдельных случаях круто наклонно. Парообразующие поверхности нагрева прямоточных котлов и котлов с многократной принудительной циркуляцией можно ориентировать в пространстве любым способом, выполняя топочные экраны вертикальными, горизонтальными и подъемно-опускными, поскольку здесь есть возможность организации движения пароводяной смеси со скоростью, предотвращающей нарушение гидравлических режимов.
2.2.1. Вертикальные топочные экраны котлов с естественной циркуляцией
Обычно топочные экраны выполняются в виде нескольких вертикальных панелей (секций) шириной bC, которые полностью закрывают все стены топки и имеют только подъемное движение рабочей среды (рис. 2.3, а).

Рис. 2.3. Схемы экранов пылеугольного котла с естественной циркуляцией: а - секция фронтового экрана; б - циркуляция в экранных секциях топки; в - выполнение нижнего выступа из экранных труб; 1 - барабан; 2 - необогреваемые опускные трубы; 3 - фронтовой экран; 4 - отводящие трубы; 5 - задний экран; 6 - секции бокового экрана; 7 - разреженные отводящие трубы заднего экрана; 8 - развилка труб (тройник); 9 - дроссельная шайба в трубе (показана условно); 10 - скоба (гребенка) для крепления труб секции
Трубы имеют наружный диаметр 83-76-60 мм с толщиной стенки 3,5…5 мм, причем для котлов высокого давления (10 и 14 МПа) используются трубы меньшего диаметра, но с увеличенной толщиной стенки (до 5 мм). Экранные трубы секции, как правило, объединяются нижним и верхним коллекторами и отводящими трубами большего диаметра, чем экранные (рис. 2.3, б). Сечение опускных и отводящих труб составляет 30…50 % сечения подъемных труб каждой секции.
Экранные трубы заднего экрана в отличие от других экранов должны пересечь газовое окно на выходе из топки в горизонтальный газоход. Для обеспечения достаточного прохода газов между трубами в зоне газового окна расположены разреженные отводящие трубы, либо трубы заднего экрана разведённые в 3…4 ряда (эта конструкция получила название фестон).
Для обеспечения необходимой аэродинамики газов в топочном объеме в ряде конструкций экранов топки выполняются выступы экранных секций внутрь объема топки: нижние симметричные выступы на 1/4 глубины топки с каждой стороны для выделения зоны горения и создания области жидкого шлакообразования и верхний выступ заднего экрана на 1/3 глубины топки для создания равномерного расхода газов по высоте выходного газового окна (рис. 2.3, в).
Плотность экранирования стен характеризуется отношением шага труб к диаметру sЭ = sЭ/d и составляет sЭ = 1,07…1,1.
Экранные секции закрепляются вверху, верхний коллектор опирается на горизонтальные балки потолочного перекрытия каркаса котла. Компенсация теплового расширения экранной секции предусмотрено в нижнем направлении. Нижние коллекторы имеют свободу вертикальных перемещений в пределах расчетного теплового расширения экрана (60…100 мм).
Для повышения прочности экрана (за счет разности давления в топке и снаружи стена топки воспринимает давление 5…10 т) и исключения вибрации при пульсирующем давлении в топке экраны укрепляют установленными по горизонтали двутаврами - поясами жесткости (рис. 2.4).
|
| Рис. 2.4. Установка пояса жесткости экранных труб: 1 - труба экрана; 2 - опускная труба; 3 - двутавр пояса жесткости; 4 - соединение пояса жесткости с секцией труб; 5 - крепежная профильная лента секции труб; 6 - соединительная скоба; 7 - обмуровка и тепловая изоляция Двутавры связаны с трубами экрана и охватывают по периметру всю топку через 3-4 м высоты, перемещаются вместе с трубами при тепловом расширении. В котлах большой мощности в отдельных случаях по середине топки установлен двухсветный экран (рис. 2.5, а), разделяющий топку на две полутопки. |
|
| Рис. 2.5. Выполнение двусветного экрана: а - установка экрана в топке; б - общий вид экрана; в - узел сварки труб экрана; 1 - барабан; 2 - двусветный экран; 3 - горелки; 4 - пояс жесткости; 5 - летка для выхода жидкого шлака; 6 - шлаковая ванна; 7 - ширмы пароперегревателя; |
Такой экран увеличивает тепловоспринимающую поверхность без изменения сечения топки, интенсивно охлаждает топочные газы, благодаря чему можно уменьшить высоту топки. Трубы этого экрана по высоте нельзя закрепить к каким-либо неподвижным внешним конструкциям, между собой они скрепляются в нескольких местах путем сварки через пруток (рис. 2.5, в). Для выравнивания давления в обеих полутопках в двусветном экране выполнены окна.
В последние годы применяются конструкции экранов с натрубной обмуровкой. Такая обмуровка стен топки оказалась достаточно легкой и может быть прикреплена непосредственно к трубам экрана на котлостроительном заводе после сборки секции экрана. Таким образом, на монтажно-сборочную площадку строящейся ТЭС поступают готовые секции топки. После их монтажа необходимо только уплотнить швы между секциями.
2.2.2. Топочные экраны прямоточных котлов
В прямоточных котлах кратность циркуляции рабочей среды в экранах равна 1, в то время как при естественной циркуляции она составляет 10…30. Кроме того, скорость рабочей среды при прямоточном принудительном движении примерно в 2 раза выше, чем при естественной циркуляции. Поэтому необходимое сечение для пропуска рабочей среды прямоточного котла в 20…40 раз меньше, чем при естественной циркуляции и той же паропроизводительности. Здесь весь поток рабочей среды проходит только через 2…4 параллельных секции, называемые лентами (панелями), состоящими из 40…60 труб и имеющими каждая ширину 2…3 м.
Поскольку движение рабочей среды в этих экранах принудительное, то уменьшение диаметра труб за счет роста сопротивления не вызовет снижение скорости движения, как это имеет место при естественной циркуляции, где дальнейшее уменьшение диаметра труб менее 60 мм нежелательно. Топочные экраны прямоточных котлов выполняются из труб диаметром 32…42 мм с толщиной стенки 4…6 мм. Уменьшение диаметра труб по сравнению с естественной циркуляцией дает экономию металла при экранировании стен топки до 30%. Однако уменьшение диаметра труб при сохранении массовой скорости потока требует увеличения числа параллельных труб. Увеличение тепловой мощности котла и уменьшение диаметра труб приводят к заметному увеличению ширины ленты, а чем шире лента, тем больше влияние неравномерности обогрева параллельных труб, образующих ленту. Поэтому при малом диаметре труб, в мощных паровых котлах выполняется параллельно несколько лент (заходов), при этом ширина каждой ленты остается небольшой. Получается два - четыре параллельных потока рабочей среды с независимым регулированием расхода и температуры по каждому потоку.
При экранировании стен топки применяются различные схемы панелей и их расположение. В нижней радиационной части топки (НРЧ), где характерны высокие тепловые потоки, падающие на экраны, предпочитают применять вертикальные экранные панели с подъемным движением рабочей среды, обеспечивающие равномерное распределение среды по всем трубам и надежный отвод теплоты от металла (рис. 2.6, а).
Полная экранизация стен НРЧ достигается при большом числе параллельных панелей, включенных по рабочей среде последовательно, но тогда конструкция экрана усложняется. Средняя и верхняя радиационная части топки (СРЧ и ВРЧ) экранированы плоскими горизонтально - подъемными панелями, закрывающими по высоте часть стены топки или ее половину (рис. 2.6, б). Для выравнивания давления и температуры среды по панелям после получения определенного тепловосприятия установлен узел смешения рабочей среды.
Горизонтально - наклонная навивка трубных лент по стенам топки, предложенная проф. Л.К. Рамзиным (рис. 2.6, в), отличается наименьшей тепловой разверкой между трубами в секции (ленте).

Рис.2.6a. Вертикальные панели экранирования НРЧ в прямоточных котлах: 1 - подвод воды; 2 - раздающий коллектор; 3, 4, 5 - фронтовые, боковые и задние настенные панели; 6 - опускной смесительный коллектор; 7 - перепускные трубы.

Рис.2.6б. Панели с горизонтальноподъемным движением в СРЧ прямоточного котла: 1 - коллектор; 2, 3 - нижняя и верхняя секции панели.

Рис.2.6в. Развертка топочного экрана котла с навивкой Рамзина: 1 - входной кол
лктор; 2 - выходной коллектор
Рабочая среда движется от нижнего коллектора ленты до верхнего, многократно опоясывая топочную камеру. Такая навивка имеет минимальное количество коллекторов и гидравлически устойчивые характеристики движения при любом рабочем давлении. Основным недостатком навивки Л.К. Рамзина является невозможность конструктивного выполнения в виде готовых плоских настенных панелей, необходимость выполнения большого числа сварных стыков труб при монтаже. Эти обстоятельства ограничивают применение данной схемы навивки на мощных паровых котлах.
2.2.3. Специальные конструкции экранов
Газоплотные сварные экраны находят широкое применение в современных конструкциях котлов, имеют на 10…15% меньшую массу металла на единицу лучевоспринимающей поверхности по сравнению с гладкотрубными. Шаг труб увеличен до s1 = (1,4…1,45)d, так как между трубами ввариваются проставки шириной до 14…16 мм, соответственно сокращается число труб, а суммарное сечение их подбирается по условиям обеспечения необходимой массовой скорости рабочей среды. Эти экраны находятся в лучших условиях работы, так как часть поглощенной плавниками (проставками) теплоты передается тыльной стороне труб благодаря растечке теплового потока, что превращает эту часть труб в активную поверхность нагрева. В таком экране исключены выход отдельных труб из плоскости экрана и ухудшение по этой причине их температурного режима.
Для уменьшения периметра топки газоплотные топочные экраны проектируются на повышенную удельную паропроизводительность фронта 22…35 кг/с пара на 1 м ширины топки (при мощности котла 300…800 МВт). При этом глубину топочной камеры несколько увеличивают, приближая ее к квадратному сечению, имеющему при одинаковых теплонапряжениях сечения минимальный периметр. В негазоплотных топках удельная паропроизводительность фронта на 12…15% меньше, а отношение ширины к глубине топки около 2:1.
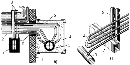
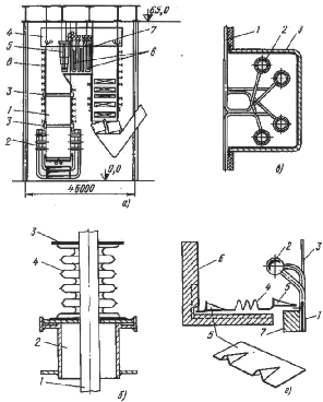
Особенно высоко требование плотности в котлах, работающих под наддувом, в которых значительно избыточное давление продуктов сгорания в топочной камере. Обеспечение плотности в потолочном экране таких котлов представляет наибольшие трудности в связи с тем, что через него проходят к вышерасположенным коллекторам трубы поверхностей нагрева. Поэтому над потолочным экраном помещают вторую ограждающую стенку, так называемый шатер (рис. 2.7, а).
Все пароперебросные трубы между отдельными пакетами перегревателя расположены внутри шатра. Шатер находится под давлением воздуха после дутьевого вентилятора, поэтому неплотность в проходе труб поверхностей нагрева через потолок не приводит к загазованности объема шатра. Более совершенные уплотнения должны иметь отводящие трубы на выходе из шатра, но их число незначительно, и они выводятся через специальные сильфонные уплотнения, показанные на рис. 2.7, б.
Наиболее ответственным узлом при выполнении газоплотного экрана является уплотнение мест вывода труб из топки. На стыке НРЧ, СРЧ и ВРЧ при смешении рабочей среды, поступающей из отдельных панелей, выполняются закрытые стальные короба, внутри которых помещены смесительные коллекторы (рис. 2.7, в). Кроме того, щели между трубами в зоне сопряжения панелей дополнительно закрываются приварными гребенчатыми проставками.
Потолочный экран выполняется из отдельных блоков газоплотных панелей. Для прохода труб ширм, подвесных труб конвективных пакетов в потолочных панелях специальной разводкой труб выполнены отверстия, а места прохода уплотнены.
Камеры интенсивного горения твердого топлива (при жидком шлакоудалении), циклонные топки ограждены футерованными экранами (рис. 2.2, г, д).
|
| Рис.2.7. Газоплотный паровой котел и его узлы уплотнения: а - общий вид котла: 1 - топка; 2 - горелки; 3 - узел разъема экранных панелей; 4 - уплотнительный верхний короб (шатер); 5 - ширмовая поверхность пароперегревателя; 6 - конвективная поверхность пароперегревателя; 7 - потолочный экран; 8 - пояс жесткости экранов; б - узел уплотнения прохода труб через стенку: 1 - отводящая труба; 2 - выводная камера; 3 - герметизирующая пластина; 4 - сильфон; в - узел разъема экранных панелей: 1 - газоплотный экран; 2 - смесительный коллектор; 3 - уплотняющий металлический короб с тепловой изоляцией; г - соединение шатра со стеной топки: 1 - газоплотный экран; 2 - коллектор; 3 - подвеска экрана; 4 - сильфонный компенсатор; 5 - гофрированная пластина; 6 - стенка шатра топки; 7 - обмуровка топки. |
Для создания футерованного экрана к трубам контактной или угловой сваркой приваривают шипы (прутки) диаметром 10 мм и высотой 15…25 мм. Шипы являются каркасом для крепления набивной массы из огнеупорного материала, отводящим от нее теплоту к экранным трубам. Набивная масса в несколько раз уменьшает тепловосприятие экранов. Вместе с тем ее теплопроводность должна быть достаточной для отвода воспринимаемого излучения и исключения перегрева футеровки, когда последняя начинает быстро разрушаться.
В качестве новых типов ошиповки применяется оребрение накаткой ребер по наружной поверхности труб. Накатанные трубы чрезвычайно стойки, технологичны, хорошо удерживают набивную массу и удобнее при ремонте экранов.
2.3.1. Виды пароперегревателей
Пароперегреватель предназначен для перегрева поступающего в него насыщенного пара до заданной температуры перегрева и является одним из наиболее ответственных элементов котла. При высокой температуре пара металл перегревателя работает в условиях, близких к предельно допустимым.
По тепловосприятию и конструкции различают пароперегреватели:
конвективные, располагаемые в конвективных газоходах котла и получающие теплоту, главным образом, конвекцией;
радиационные, размещаемые на стенах и потолке топочной камеры и горизонтального газохода и получающие теплоту, в основном радиацией от высоконагретых газов;
полурадиационные, находящиеся в верхней части топки на входе в горизонтальный газоход и выполняемые в виде плоских ширм или лент, собранных из пароперегревательных труб, находящихся друг за другом в одной плоскости.
По назначению пароперегреватели делятся на основные, в которых перегревается пар высокого и сверхкритического давления, и промежуточные - для повторного (вторичного) перегрева пара, частично отработавшего в турбине.
Конвективные пароперегреватели выполняются из стальных труб наружным диаметром 32…42 мм для высокого и сверхкритического давления и толщиной стенки 5…7 мм. В промежуточных пароперегревателях при более низком давлении пара используют диаметр труб 42…50 мм при толщине стенки 4…5 мм.
Обычно для пароперегревателей применяются гладкие трубы, так как они технологичны в производстве, мало подвержены наружным отложениям и легче от них освобождаются. Недостатком гладкотрубных поверхностей нагрева - невысокое тепловосприятие при умеренных скоростях газового потока. Из труб пароперегревателя образуются змеевики с радиусами гибов труб не менее 1,9d. Концы змеевиков приварены к коллекторам круглого сечения. Так образуются змеевиковые пакеты перегревателя. Расстояние между рядами змеевиков составляет s1 = (2…5)d. Змеевики выполняются одно- двух- и многорядные (рис. 2.8) и отличаются числом параллельных труб, образующих змеевик. При большой мощности котла пароперегреватели выполнены обычно в 3…4 ряда труб. При этом затрудняются условия для приварки концов труб к коллектору, увеличивается число сверлений в нем и снижается его прочность. Поэтому при увеличенном числе труб в ряду используются два коллектора для образования змеевика.

Рис. 2.8. Типы конвективных змеевиков пароперегревателя: а - однорядный; б - двухрядный; в - четырехрядный; г - многорядный (ленточный).
|
| Рис.2.9 Расположение и конструкции ширмового пароперегревателя: а - расположение ширм на выходе из топки; б - обвязка труб ширмы; в - вид цельносварной ширмы; |
Ширмовые конструкции пароперегревателя представляют собой, как правило, систему из большого числа вертикальных труб (14…50 шт.), образующих широкую плоскую ленту, которая имеет один гиб на 180° и состоит из опускного и подъемного участков (рис. 2.9). Ширмы размещаются на выходе из топочной камеры на заметном удалении друг от друга, шаг ширм s1= 550…700 мм, т.е. (17…22)d, для исключения возможности зашлаковывания газовых коридоров между ними. Газовый поток движется вдоль плоских ширм и передает теплоту трубам ширм радиационным и конвективным путем.
Для исключения выхода отдельных труб из плоскости ширмы выполняется перевязка труб ширм в двух уровнях по высоте за счет вывода из ряда двух крайних (лобовых) труб и пропуска их с двух сторон снаружи ленты горизонтально за последний подъемный ряд труб (рис. 2.9, б). На горизонтальном участке эти трубы связаны между собой проставками и строго фиксируют остальные трубы в одной плоскости.
Ширмовые пароперегреватели являются радиационно - конвективными поверхностями, их тепловосприятие складывается из значительной доли радиационного излучения от ядра факела и раскаленных газов в объеме между ширмами и доли конвективного теплообмена, так как газы омывают ширмы продольно - поперечным потоком со скоростью 5…8 м/с. Ширмовые пароперегреватели воспринимают 30…40% всего тепловосприятия пароперегревателя. В последнее время ширмы стали выполняться не из гладких, а из плавниковых труб либо из гладких труб с вваренными между ними поставками;
получаются так называемые цельносварные ширмы (рис. 2.9, в). Такие ширмы меньше шлакуются, легче очищаются от наружных загрязнений, трубы ширм не выходят из ранжира, горизонтальные цельносварные ширмы могут выполняться с опорой по краям без промежуточных опор и подвесок, так как представляют собой жесткую плоскую систему.
Радиационные пароперегреватели выполняются настенными и их обычно размещают в верхней части топки, где ниже тепловые потоки. Радиационный пароперегреватель барабанного парового котла обычно занимает потолок топки, а если этого недостаточно, то его размещают и на вертикальных ее стенах (см. рис. 2.10).
Настенные перегреватели, выполненные в виде панели на всю высоту топки (вместо экранных испарительных труб), оказываются менее надежными, так как отвод теплоты от металла к пару во много раз слабее, чем в кипящей воде. Особенно тяжелый режим имеет металл труб настенного перегревателя при сниженных нагрузках, когда расход пара в трубах заметно снижается. Поэтому радиационные панели перегревателя при необходимости располагаются поверх экранных труб в верхней части топки.
В прямоточных паровых котлах радиационные поверхности пароперегревателя обычно полностью занимают верхнюю часть топки (ВРЧ), потолок и стены горизонтального газохода.
|
| Рис. 2.10. Схема движения пара в котле высокого давления с естественной циркуляцией: 1 - барабан; 2 - настенная радиационная панель перегревателя; 3 - разводка труб для горелки; 4 - потолочный пароперегреватель; 5 - ширмовый пароперегреватель; 6 - необогреваемые перепускные трубы; 7, 8 - змеевики вертикального и горизонтального пакетов перегревателя; 9 - подвесные трубы; 10 - камера перегретого пара |
На мощных энергетических блоках применяется промежуточный перегрев пара. Учитывая относительно низкое давление пара, поступающего из цилиндра паровой турбины (3…4 МПа), гидравлическое сопротивление пакетов промежуточного пароперегревателя должно быть небольшим (0,2…0,3 МПа). Это ограничивает массовую скорость пара и при большом удельном объеме его требует применения труб большого диаметра, (44…54 мм) что снижает коэффициент теплоотдачи от стенки к пару. Низкие значения внутреннего коэффициента теплоотдачи, особенно в выходной его части, вызывают в ряде случаев недопустимое повышение температуры перлитной стали, из которой выполняется пароперегреватель. Для обеспечения надежности такой пароперегреватель расположен в зоне умеренного обогрева (температура газов на входе не выше 850°С). Интенсифицировать внутренний теплообмен можно применением труб с внутренним продольным винтовым оребрением. Такая конструкция заметно увеличивает поверхность внутреннего теплообмена и повышает турбулентность потока.
2.3.2. Компоновка пароперегревателей
Поскольку тепловосприятие пароперегревателей при высоком и сверхкритическом давлении пара достаточно большое (35% и более общего тепловосприятия поверхностей котла), его выполняют комбинированным, включающим все три вида (радиационный настенный, полурадиационный ширмовый или ленточный и змеевиковый конвективный). На рис. 2.10 показан один из первоначальных вариантов такого комбинированного пароперегревателя на котлах высокого давления.
Для обеспечения надежности работы металла поверхностей следует учитывать, что радиационный пароперегреватель размещается в области топки, где высокие тепловые потоки и их неравномерность определяют заметное превышение температуры наружной поверхности трубы по отношению к температуре проходящего по ней пара и разверку температур в отдельных (более сильно обогреваемых) трубах по сравнению со средней расчетной.
Поэтому обычно радиационная часть пароперегревателя используется на начальном этапе перегрева пара, когда его температура невелика, что облегчает условия работы металла. Также с достаточно высокими средними тепловыми напряжениями и в условиях заметной неравномерности температур газового потока работают полурадиационные поверхности, которые обычно располагают в средней зоне перегрева пара. Завершающий этап перегрева осуществляется в змеевиковых конвективных пакетах, расположенных в зоне более низких температур газов и тепловых потоков, но так, чтобы температурный напор в выходном (горячем) пакете был не ниже 200…250 °С, иначе поверхность пакета, выполненного из наиболее качественной легированной стали, будет чрезмерно большой.
Первый конвективный (холодный) пакет часто устанавливают также в зоне умеренных температур газов. Это позволяет использовать для выполнения пакета более дешевую углеродистую сталь (при температуре стенки tСТ < 450°С).
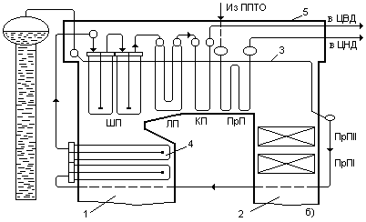
На рис. 2.11a, б, в, г приведены характерные типы компоновок пароперегревательных поверхностей для барабанных котлов высокого давления пара (ВД) и прямоточных котлов сверхкритического давления (СКД).
Вариант (рис. 2.11, а) характерен для котлов относительно небольшой паропроизводительности (D < 116,6 кг/с) при давлении пара рП < 13,8 МПа. Такие паровые котлы часто не имеют промежуточного пароперегревателя, а пароперегреватель ВД располагается на потолке и в горизонтальном газоходе.

Рис. 2.11a. Компоновка пароперегревателей в барабанном котле высокого давления: 1 - топочная камера; 2 - конвективная шахта; 3 - радиационный потолочный и настенный пароперегреватель. Виды пароперегревателей: ШП - полурадиационный ширмовый; ПрП - промежуточный.
Вариант компоновки (рис. 2.11, б, в) применяется на барабанных и прямоточных котлах электрической мощностью 200-300 МВт (D = 186 ё 278 кг/с) с промежуточным перегревом пара. При этом на прямоточных котлах перегрев пара начинается в экранах средней (СРЧ) и верхней (ВРЧ) радиационных частей топки, как показано на рис. 2.11, в. Здесь выходная (горячая) ступень пароперегревателя ВД или СКД вынесена в верхнюю часть опускной конвективной шахты, где исключается интенсивное прямое тепловое излучение из ядра факела в топке и ниже температура греющих газов.
|
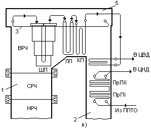
| Рис. 2.11в. Компоновка пароперегревателей в прямоточном котле при сверхкритическом давлении и сжигании твердого топлива: 1 - топочная камера; 2 - конвективная шахта; 3 - радиационный потолочный и настенный пароперегреватель; 4 - радиационные топочные панели; 5 - уплотнительный короб потолка котла (шатер). Виды пароперегревателей: ШП - полурадиационный ширмовый; ЛП - ленточный; КП - змеевиковый конвективный; ПрП - промежуточный. Другие обозначения: НРЧ - нижняя радиационная часть; СРЧ - средняя радиационная часть; |
ВРЧ - верхняя радиационная часть; ЦВД - цилиндр высокого давления турбины; ЦНД - цилиндр низкого давления турбины; ППТО - паропаровой теплообменник.

Рис. 2.11б. Компоновка пароперегревателей в барабанных котлах большой мощности: 1 - топочная камера; 2 - конвективная шахта; 3 - радиационный потолочный и настенный пароперегреватель; 4 - радиационные топочные панели; 5 - уплотнительный короб потолка котла (шатер). Виды пароперегревателей: ШП - полурадиационный ширмовый; ЛП - ленточный; КП - змеевиковый конвективный; ПрП - промежуточный. Другие обозначения: НРЧ - нижняя радиационная часть; СРЧ - средняя радиационная часть; ВРЧ - верхняя радиационная часть; ЦВД - цилиндр высокого давления турбины; ЦНД - цилиндр низкого давления турбины; ППТО - паропаровой теплообменник.
На газомазутных (барабанных и прямоточных) котлах горизонтальный газоход может быть развит в глубину (по ходу газов), тогда в основном поверхности пароперегревателя (высокого давления и промежуточного перегрева) размещаются
в нем (рис. 2.11, б, г), трубные змеевики, образующие поверхность, выполняются вертикальными и подвешены за коллекторы, находящиеся сверху в уплотнительном коробе. Такое расположение облегчает систему крепления тяжелых змеевиковых пакетов и обеспечивает наименьшее загрязнение труб снаружи золовыми частицами.
На рис. 2.11, г показан вариант компоновки поверхностей пароперегревателя газомазутного котла СКД большой мощности, отличающийся байпасированием по пару части поверхности промежуточного пароперегревателя в целях регулирования температуры пара. В этом случае общая поверхность такого пароперегревателя увеличивается и пароперегреватель занимает значительную часть конвективной шахты, а выходная его ступень размещается в конце горизонтального газохода.
Во всех случаях пароперегреватель ВД или СКД размещен по тракту газов раньше промежуточного пароперегревателя (в зоне более высоких температур газов), так как плотность пара в промежуточном пароперегревателе и интенсивность теплоотвода от стенки к пару здесь заметно ниже, чем при высоком давлении.

Рис. 2.11г. Компоновка пароперегревателей в прямоточном котле при сверхкритическом давлении при сжигании газа и мазута: 1 - топочная камера; 2 - конвективная шахта; 3 - радиационный потолочный и настенный пароперегреватель; 4 - радиационные топочные панели; 5 - уплотнительный короб потолка котла (шатер). Виды пароперегревателей: ШП - полурадиационный ширмовый; ЛП - ленточный; КП - змеевиковый конвективный; ПрП - промежуточный. Другие обозначения: СРЧ - средняя радиационная часть; ВРЧ - верхняя радиационная часть; ЦВД- цилиндр высокого давления турбины; ЦНД- цилиндр низкого давления турбины; ППТО - паропаровой теплообменник.
2.4.1. Водяные экономайзеры
Экономайзеры выполняются подобно пароперегревателям с горизонтальными змеевиками в конвективной шахте, их применяют при любом рабочем давлении.
Для интенсификации теплообмена и уменьшения загрязнения змеевики экономайзера выполняются из стальных труб уменьшенного диаметра: наружный 28…32 мм при толщине стенки 2,5…3,5 мм. Концы змеевиков, как и в других поверхностях нагрева, объединены входным и выходным коллекторами (рис. 2.12, а). В паровых котлах, работающих под разрежением, для обеспечения газовой плотности (исключения присоса воздуха в газоход через зазоры между трубами и обмуровкой) и уменьшения потерь теплоты входные и выходные коллекторы помещены в теплоизолирующие камеры (рис. 2.12, б), а заданный шаг труб в пакете обеспечивается опорными стойками, которые крепятся к специальным воздухоохлаждаемым балкам, находящимся внутри газохода, и передают на них нагрузку от змеевиков экономайзера (рис. 2.12, б, в).
В газоплотных котлах почти всегда внутри газохода помещены и коллекторы, служащие одновременно опорой для змеевиков экономайзера (рис. 2.12, г). Расположение труб экономайзера обычно шахматное, коридорное расположение по условиям теплообмена нецелесообразно.
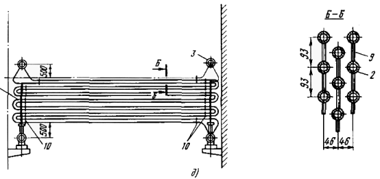
Движение воды в экономайзере - восходящее, что обеспечивает свободный выход с водой выделяющихся при нагреве газов и образующегося в случае кипения воды в экономайзере пара. Для удобства ремонта и эксплуатации поверхность экономайзера по ходу продуктов сгорания разделена на пакеты высотой до 1 м. Разрывы между пакетами 650…800 мм.

Рис. 2.12а Общий вид пакета экономайзера: 2 - трубные змеевики; 3 - коллектор; 7 - опорная балка; 8 - опорные стойки.

Рис. 2.12 б, в: 1 - обмуровка конвективной шахты; 2 - трубные змеевики; 3 - коллектор; 4 - теплоизоляционная засыпка камеры; 5 - металлическая обшивка; 6 - огнеупорная обмазка; 7 - опорная балка; 8 - опорные стойки.
На электростанциях питательная вода до поступления в котел подогревается в регенеративных подогревателях за счет отбора пара из турбины до 215…270°С, что уменьшает поверхность экономайзера.
Коллекторы экономайзеров обычно размещены вдоль малой (боковой) стороны конвективной шахты. Массовая скорость воды в трубах экономайзера должна быть не менее 500…600 кг/(м2 · с), в кипящих частях экономайзера 800…1000 кг/(м2с). Для обеспечения необходимой скорости движения определяется общее число

Рис. 2.12 г: 2 - трубные змеевики; 3 - коллектор; 8 - опорные стойки.
параллельно включенных труб и по условиям их приварки к коллекторам и создания необходимого шага между трубами устанавливается число параллельных потоков воды в пакетах экономайзера (обычно имеет место 2…4 потока).

Рис. 2.12 д: 1 - обмуровка конвективной шахты; 2 - трубные змеевики; 3 - коллектор; 9 - мембранная проставка; 10 - граница установки мембран.
Для интенсификации теплопередачи с газовой стороны и повышения компактности пакетов увеличивают поверхность нагрева путем сварки гладких труб на прямых участках с помощью проставок из листовой стали толщиной 3…4 мм. Получаются пакеты так называемых мембранных экономайзеров (рис. 2.12, д). Мембранный экономайзер занимает меньший объем газохода, и за счет тепловоспринимающей поверхности проставок расход гладких труб уменьшается на 25…30% при одинаковом тепловосприятии обычного и мембранного экономайзеров. Такой экономайзер к тому же не требует установки дистанционирующих опор, оказывается жестким по конструкции и опирается на собственные раздающие коллекторы.
В паровых котлах большой мощности (200 МВт и выше) сильно возрастает число параллельных змеевиков экономайзера в одном ходе, при этом трубы должны выходить из коллектора по его периметру в количестве 6…8 шт, что невозможно выполнить. Поэтому обычно удваивают число входных и выходных коллекторов для обеспечения надежности (прочности) стенки коллектора за счет уменьшения числа отверстий. Кроме того, в целях исключения присосов воздуха при выводе труб через наружную стенку газохода (невозможность герметизации мест прохода труб при разном тепловом расширении металла и обмуровки) размещают коллекторы внутри газохода и одновременно используют их как опорные балки для крепления горизонтальных трубных змеевиков.
Конструкцию экономайзера характеризуют следующие показатели:
удельный объем, занимаемый экономайзером в конвективной шахте, VЭК/QП.К, м3/МВт - габаритная характеристика экономайзера;
удельный расход металла на экономайзер - GЭК/QП.К, кг/МВт - массовая (весовая) характеристика экономайзера.
С уменьшением диаметра трубок указанные характеристики улучшаются, но предельный диаметр труб определяется технологией производства и ростом внутреннего гидравлического сопротивления при сохранении необходимой массовой скорости воды. В настоящее время минимальный технологически осуществимый наружный диаметр труб составляет 28 мм при толщине стенки 3 мм.
2.4.2. Воздухоподогреватели
Воздухоподогреватели по конструкции выполняются трубчатыми (рекуперативные) и пластинчатыми (регенеративные).
Рекуперативные воздухоподогреватели имеют неподвижную трубчатую поверхность нагрева, через которую непрерывно передается теплота от продуктов сгорания к нагреваемому воздуху.
В регенеративных воздухоподогревателях пластинчатая поверхность нагрева вращается и омывается попеременно продуктами сгорания и воздухом, вначале нагреваясь и затем охлаждаясь, отдавая теплоту нагреваемому воздуху.
Воздухоподогреватель работает с наименьшим температурным напором между греющими продуктами сгорания и нагреваемым воздухом и имеет низкий коэффициент теплопередачи по сравнению с другими поверхностями котла. Поэтому поверхность нагрева воздухоподогревателя превышает суммарную поверхность нагрева всех элементов водопарового тракта и для котла мощного блока достигает десятков и сотен тысяч квадратных метров.
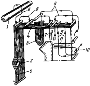
Трубчатый воздухоподогреватель (ТВП) имеет вертикально расположенную трубную систему (рис. 2.13), выполненную из стальных труб наружным диаметром 30…40 мм при толщине стенки 1,2…1,5 мм. Трубы прямые вертикальные, концами приварены к трубным доскам и расположены в шахматном порядке.
Внутри труб движутся продукты сгорания (продольное омывание), теплота которых передается воздуху, движущемуся между трубами (поперечное смывание). Для образования перекрестного тока воздуха трубная система по высоте делится на несколько ходов промежуточными перегородками - досками; в местах поворота

Рис. 2.13. Конструкция трубчатого воздухоподогревателя: 1 - стальные трубы; 2, 6 - верхняя и нижняя трубные доски; 3 - компенсатор тепловых расширений; 4 - воздухоперепускной короб; 5 - промежуточная трубная доска; 7 - опорные колонны; 8 - горизонтальные балки.
установлены воздушные перепускные короба. Воздухоподогреватель с боков имеет наружные стальные плотные стенки. Нижняя трубная доска опирается на металлическую раму, связанную с каркасом котла.
Трубы расширяются при нагревании, при этом верхняя трубная доска имеет возможность перемещений и в то же время обеспечивается плотность газохода за счет установки линзового компенсатора по всему ее периметру (рис. 2.13).
Трубчатый воздухоподогреватель выполняется в виде отдельных кубов (секций), удобных для монтажа и транспорта, которые заполняют все сечение газохода. Трубные доски секций между собой уплотняются линзовыми компенсаторами.
Воздух в воздухоподогреватель обычно подается одним потоком по его широкой стороне (см. рис. 2.13). Такая схема называется однопоточной.
Двухпоточная по воздуху схема (рис. 2.14, а) позволяет уменьшить высоту хода, увеличить число ходов и соответственно повысить температурный напор. При большой мощности котла переходят к многопоточной схеме движения воздуха (рис. 2.14, б). Из-за невысокого коэффициента теплопередачи 15…20 Вт/(м2 К) и низкого температурного напора между газами и нагреваемым воздухом (50…80°С) трубчатый воздухоподогреватель имеет большую теплообменную поверхность и габариты, особенно при большой тепловой мощности котла.
При последовательном размещении вдоль газового тракта экономайзера и воздухоподогревателя - одноступенчатой компоновке поверхностей в конвективной шахте, возникает ограничение температуры подогрева воздуха.

Рис. 2.14. Компоновки трубчатых воздухоподогревателей с различным подводом воздуха: а - двухпоточная; б - четырехпоточная; в - двухпоточная и двухступенчатая; 1 - вход холодного воздуха; 2 - выход горячего воздуха; 3, 4 - первая и вторая ступени экономайзера.
Поскольку масса и теплоемкость воздуха меньше, чем эти показатели в газовом потоке, повышение температуры воздуха происходит в большей мере, чем снижение температуры газов, и перепад температур между газами и воздухом по мере нагрева воздуха снижается. Предельная температура подогрева воздуха в воздухоподогревателе соответствует достижению минимального перепада температур газ-воздух Δt = 30°С и составляет 250…320 °С (значения 300…320°С относятся к газоплотным котлам и топливам, имеющим ΔtВХ = θУХ - t'В.П≈ 100°С).
Для подогрева воздуха до более высокой температуры (350…450°С) трубчатые воздухоподогреватели выполняются двухступенчатыми, с расположением второй ступени воздухоподогревателя выше поверхности экономайзера в зоне более высоких температур газов (рис. 2.14, в). Этим достигается значительное увеличение начального перепада температур газ - воздух, что обеспечивает дальнейший нагрев воздуха и способствует снижению габаритов второй ступени воздухоподогревателя.
Трубчатые воздухоподогреватели выполняются из углеродистой стали, для которой максимально допустимая температура металла не превышает 500°С, что при температуре подогрева воздуха до 400°С соответствует температуре продуктов сгорания не более 600°С. Обычно температура продуктов сгорания за пароперегревателем высокого давления выше, а поэтому для защиты металла второй ступени воздухоподогревателя, если в схеме котла нет промежуточного перегревателя, располагают вторую ступень экономайзера.
Трубчатые воздухоподогреватели просты по конструкции, надежны в работе, значительно более плотны в сравнении с воздухоподогревателями других систем. Однако в большей мере подвергаются коррозии при конденсации влаги и паров H2SO4, в результате чего в трубках образуются сквозные отверстия и воздух перетекает на газовую сторону, увеличивая потери теплоты с уходящими газами и затраты на перекачку увеличенного объема продуктов сгорания.
Защита труб от коррозии достигается подогревом поступающего холодного воздуха в паровых калориферах (при подогреве воздуха свыше 50°С) либо путем рециркуляции части горячего воздуха на вход в трубчатый воздухоподогреватель (при нагреве до 50°С). Однако при этом снижается экономичность работы котла, так как одновременно происходит повышение температуры уходящих газов и рост потери теплоты.
В последнем случае ограничиваются частичными мерами снижения скорости коррозии (обеспечение так называемой допустимой скорости коррозии), а первый ход воздуха отделяют от других, чтобы в случаях коррозии нижнего трубного пакета иметь минимальную замену металла трубчатого воздухоподогревателя.
Пластинчатый воздухоподогреватель - регенеративный вращающийся воздухоподогреватель (РВП), в котором поверхность теплообмена во вращающемся корпусе (роторе) попеременно находится в газовом потоке, нагреваясь от высокотемпературных газов, а затем поступает в холодный воздушный поток и греет воздух, отдавая избыточную теплоту. Поверхностью теплообмена служат тонкие гофрированные и плоские стальные листы (пластины) образующие каналы малого эквивалентного диаметра (dЭ = 8…9 мм) для прохода продуктов сгорания и воздуха (рис. 2.15).

Рис. 2.15. Конструктивное выполнение РВП: а - общий вид аппарата; б - вид сверху на секцию холодной части; в - листы набивки горячей и холодной частей; 1 - вал; 2, 3 - нижняя и верхняя опоры; 4 - секции горячей части ротора, 5 - то же холодной части; 6 - электропривод; 7 - наружная металлическая обшивка (кожух); 8 - периферийное уплотнение ротора РВП
Пластины объединяются в секции и заполняют цилиндрический пустотелый ротор, который по сечению разделен глухими радиальными перегородками на изолированные друг от друга сектора. Ротор воздухоподогревателя медленно вращается с частотой 1,5 …2,2 об/мин, его вал имеет привод от электродвигателя через шестеренчатую передачу. Диаметр ротора РВП в зависимости от типоразмера составляет от 5,4 до 9,8 м, а высота от 1,4 до 2,4 м.
Применение волнистых (гофрированных) листов-пластин обеспечивает интенсификацию конвективного теплообмена и тем самым более быстрый нагрев пластин и затем более глубокое их охлаждение, хотя удельное аэродинамическое сопротивление такой поверхности увеличивается. Поверхность нагрева пластин, располагаемая в 1 м3 объема, составляет 300…340 м2/м3, в то время как в трубчатых воздухоподогревателях этот показатель составляет около 50 м2/м3.
Регенеративные воздухоподогреватели конструктивно сложнее, но они компактны, требуют меньшего расхода металла, имеют невысокое общее аэродинамическое сопротивление.
При значительном перепаде давлений между воздушным и газовым потоками и невозможности полной их герметизации в условиях вращающегося ротора имеют место перетоки воздуха по радиусу ротора на газовую сторону, а также потери воздуха по периферии воздушной части ротора и одновременно присосы окружающего воздуха в газовый поток по периферии ротора в газовой его части (в условиях, когда газовый поток находится под разрежением). Утечки воздуха и присосы его в газовый поток примерно равны и их можно условно также рассматривать как перетоки.
Суммарные нормированные перетоки воздуха в регенеративных воздухоподогревателях составляют до 20% при номинальной нагрузке и заметно возрастают при снижении ее. Перетоки воздуха приводят к перегрузке дымососов и дутьевых вентиляторов (на входе в РВП расход воздуха больше, чем необходимо для котла), снижается тепловая эффективность работы и несколько увеличивается температура газов на выходе.
Защита от перетоков достигается уплотнениями, устанавливаемыми в верхней и нижней частях ротора. Уплотнения различают: периферийное кольцевое на внешней поверхности ротора, внутреннее кольцевое вокруг вала РВП и радиальное, разделяющее воздушный и газовый потоки.
Для уменьшения отрицательного эффекта присосов и утечки воздуха на крупных РВП применяется отсос воздуха из общего корпуса РВП. При этом в корпусе устанавливается пониженное давление и доля присоса воздуха в продукты сгорания может быть сведена к минимуму. Для исключения перегрузки дутьевого вентилятора отсос из корпуса направляется в короб воздуха после РВП.
В лекции "24 Патофизиология обмена веществ" также много полезной информации.
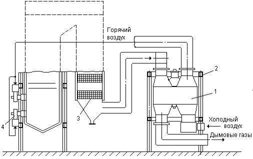
В отличие от трубчатого регенеративный воздухоподогреватель располагается вне пределов конвективной шахты (рис. 2.16).

Рис. 2.16. Установка регенеративного вращающегося воздухоподогревателя на котле: 1 - регенеративный вращающийся воздухоподогреватель; 2 - каркас корпуса воздухоподогревателя; 3 - экономайзер парового котла; 4 - горелка топки котла
Предварительный подогрев воздуха до 70…100°С перед его поступленим в воздухоподогреватель котла (трубчатый или регенеративный) обеспечивается в паровом калорифере, который выполняется в виде трубчатого теплообменника. Внутри вертикальных труб движется слабоперегретый пар с температурой около 120°С. Пар конденсируется на стенках труб и отдает теплоту конденсации потоку холодного воздуха, омывающему трубы снаружи перекрестным потоком.
Для усиления теплообмена трубы с воздушной стороны имеют оребрение (кольцевое или прутковое). По принципу работы паровой калорифер близок к трубчатому воздухоподогревателю, в котором газовая теплоотдающая среда заменена конденсирующимся паром.
Предварительный подогрев воздуха необходим при сжигании в котле сернистых твердых топлив и мазута для снижения низкотемпературной коррозии металла воздухоподогревателя (см. §7.6). Подогрев воздуха в паровых калориферах осуществляется также в зимнее время при использовании малосернистых или бессернистых топлив (природный газ), чтобы обеспечить температуру металла воздухоподогревателя не ниже 50°С для исключения конденсации водяных паров из газового потока.






























