Устройство асинхронной машины
Устройство асинхронной машины.
В асинхронной машине принято выделять неподвижную часть – статор, вращающуюся часть ротор.

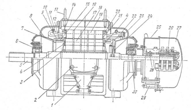
1 — кабельная муфта; 2 — выводная коробка концов обмотки статора; 3 — кольцевые шпонки крепления сердечника ротора; 4 — нажимные шайбы сердечника ротора; 5 — вал ротора; 6 и 30 — шариковый и роликовый подшипники; 7 — медные соединительные хомутики стержней обмотки ротора: 8 —диффузоры для направления поступающего через подшипниковые щиты охлаждающего воздуха; 9 — стержни обмотки ротора; 10 — бандажные кольца; 11 — обмотка статора; 12 — проволочные бандажи ротора; 13 — подъемные кольца; 14 — дуговые шпонки; 15 — кольцевые изоляционные прокладки; 16 — радиальные вентиляционные каналы; 17 — сердечник ротора; 18 — литой корпус статора; 19 — сердечник статора; 20 и 21 — нажимные пальцы и кольца сердечника статора; 22 — кольцо для соединения концов обмотки ротора в звезду; 23 — междукатушечные и междугрупповые соединения обмотки статора; 24 — выводы концов обмотки ротора к контактным кольцам; 25 и 27 — коробка и колпак контактных колец; 26 — контактные кольца; 28 — подвижная втулка с контактами для замыкания выводов обмотки ротора накоротко; 29 — муфта для вывода концов обмотки ротора к внешней цепи
Вместе с этой лекцией читают "Религия".
Неподвижная часть машины переменного тока называется статором, а подвижная часть - ротором. Сердечники статора и ротора асинхронных машин собираются из листов электротехнической стали, которые до сборки обычно покрываются с обеих сторон масляно-канифольным изоляционным лаком. Сердечники машин малой мощности иногда собираются из листов без лакового покрытия, так как в этом случае достаточной изоляцией является естественный или искусственно созданный слой окислов на поверхности листов стали.
Сердечник статора закрепляется в корпусе, а сердечник ротора — на валу (машины малой и средней мощности) или на ободе с крестовиной и втулкой, надетой на вал (машины большой мощности). Вал ротора вращается в подшипниках, которые помещаются в подшипниковых щитах, прикрепляемых к корпусу статора (машины малой и средней мощности), или на отдельно стоящих подшипниковых стояках.
На внутренней цилиндрической поверхности статора и на внешней цилиндрической же поверхности ротора имеются пазы, в которых размещаются проводники обмоток статора и ротора. Обмотка статора выполняется обычно трехфазной, присоединяется к сети трехфазного тока и называется поэтому также первичной обмоткой. Обмотка ротора тоже может быть выполнена трехфазной аналогично обмотке статора. Концы фаз такой обмотки ротора соединяются обычно в звезду, а начала с помощью контактных колец и металлографитных щеток выводятся наружу. Такая асинхронная машина называется машиной с фазным ротором. К контактным кольцам обычно присоединяется трехфазный пусковой или регулировочный реостат. Фазная обмотка ротора выполняется с тем же числом полюсов магнитного поля, как и статор.
Другая разновидность обмотки ротора—обмотка в виде беличьей клетки. При этом в каждом пазу находится медный или алюминиевый стержень и концы всех стержней с обоих торцов ротора соединены с медными или алюминиевыми же кольцами, которые замыкают стержни накоротко. Стержни от сердечника обычно не изолируются. В машинах мощностью до 100 кВт стержни и кольца вместе с крылышками для вентиляции обычно изготовляются путем заливки ротора алюминием. Такая асинхронная машина называется машиной с короткозамкнутым ротором. Большинство асинхронных машин, в особенности машины малой и средней мощности, выпускается с короткозамкнутым ротором.
Воздушный зазор между статором и ротором в асинхронных машинах выполняется минимально возможным по условиям производства и надежности работы и тем больше, чем крупнее машины. В машинах мощностью в несколько киловатт величина зазора составляет 0,4—0,5 мм, а в машинах большой мощности — несколько миллиметров.
Асинхронные машины, как правило, охлаждаются воздухом. Системы вентиляции в принципе являются такими же, как и у машин постоянного тока.























