Огнеупорная футеровка дуговых электросталеплавильных печей
4 Огнеупорная футеровка дуговых электросталеплавильных печей
Дуговые электропечи являются сложными и крупными металлургическими агрегатами, включающими большое число частей и механизмов, электрические, воздушные, газо-кислородные коммуникации, водо- и газоочистительные сооружения, сложные приборы контроля и автоматического регулирования [[i]].
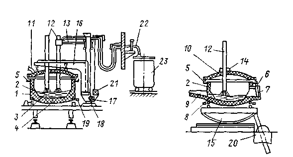
Основное различие в устройстве дуговых печей состоит в способе завалки в печь шихтовых материалов. В устаревших электросталеплавильных цехах с печами вместимостью до 40 т шихтовые материалы заваливают через рабочие окна при помощи мульд. На современных дуговых печах средней и большой вместимости завалка шихтовых материалов осуществляется сверху специальными загрузочными приспособлениями при отведенном своде. Несмотря на существующие различия, дуговые электропечи имеют много общих узлов и механизмов. На рис. 5.1 показана схема дуговой электропечи.
На протяжении кампании футеровка дуговых печей работает в очень тяжелых условиях, так как длительное время контактирует с расплавленными металлом и шлаком. Футеровку подины, откосов и стен выполняют различными способами из магнезитохромитовых, магнезитовых, хромомагнезитовых огне упоров при работе дуговых печей основным процессом и динасовым огнеупором при работе печей кислым процессом. В качестве теплоизоляционных материалов используют шамотные огнеупоры, асбест и другие материалы.
Стойкость подин основных дуговых электропечей колеблется от 1500 до 5000 плавок. Подины основных печей обычно изготавливают в следующей последовательности (рис. 5.2). На металлическое днище 100-т электропечи укладывают слой молотого или листового асбеста 7 толщиной 10 - 25 мм, затем для выравнивания засыпают шамотный порошок 4. Первый слой кладки выполняется шамотным кирпичом 3 толщиной 65 мм, затем несколько слоев выполняются из магнезитового кирпича, который укладывается на плашку и на ребро. Толщина магнезитовой кладки зависит от размеров печей и находится в пределах 300 - 360 мм для печей вместимостью 10 - 20 т и 550 - 580 мм для 100-т печей. Направление кладки каждого слоя футеровки подины изменяется на 45 или 90° так, чтобы швы нижнего ряда перекрывались кирпичом следующего ряда. Швы каждого ряда засыпают мелким магнезитовым порошком 5.

Рис. 5.1 - Схема дуговой электропечи:
1 — корпус печей; 2 — огнеупорная футеровка стен; 3 — огнеупорная футеровка откосов; 4 — огнеупорная футеровка пода печи; 5 — песочный затвор,; 6 — рабочее окно; 7 — заслонка рабочего окна; 8 — ста-левыпускное отверстие; 9 — желоб электропечи; 10 — съемный купольный свод печи; Я — патрубок дымо- и газоочистки; 12 — электроды; 13 — электрододержатели с рукавами; 14 — уплотнители электродных отверстий; 15 — люлька,; 16—полупортал; 17 — механизм подъема печей; 18 — механизм поворота свода; 19 — механизм поворота корпуса; SO — механизм наклона печи; 21 — механизм перемещения электрода; 22 - силовая электрическая цепь; 23 — печной трансформатор
Верхний рабочий слой подины выполняется набивным из магнезитового порошка «Экстра» крупностью 1—4 мм. Перед набивкой кирпичную кладку пода нагревают до 60—80 °С, затем промазывают горячей смолой, после чего набивают подогретым до 100 °С магнезитовым порошком, смешанным с каменноугольным пеком.
Рекомендуемые материалы

"7.2 Разработка первых проектов внутрихозяйственного землеустройства" - тут тоже много полезного для Вас.
Рис. 5.3 - Футеровка подины и стен 100 т электропечи-/ — кирпич магнезитовый, 2 — корпус магнезитохромитовый, 3 — кирпич шамотный, 4 — порошок шамотный, 5 — порошок магнезитовый, 6 — асбест молотый, 7 — асбест листовой
Изготовление подин кислых дуговых печей, для которых применяется динасовый кирпич, характеризуется следующими особенностями. При нагревании динасовый кирпич увеличивается в объеме Для компенсации расширения оставляются зазоры между кирпичами, в которых устанавливаются деревянные прокладки Швы между кирпичами смежных рядов не должны совпадать Поверхностный ряд динасового кирпича смачивается жидким стеклом, затем на него насыпается слой смеси, состоящий из кварцевого песка и молотой огнеупорной глины, после чего материал утрамбовывается пневматическими трамбовками
Стены основных электропечей выкладываются преимущественно из магнезитового, а также из периклазошпинелидного, магнезитохромитового и безобжигового кирпича в кассетах Столбики и арки рабочего окна и выпускного отверстия выкладываются из термостойкого хромомагнезитового или магнезитового кирпича
Главным материалом для изготовления сводов основных и кислых дуговых печей ранее был динасовый кирпич. Уже продолжительное время своды основных дуговых печей изготавливаются из магнизитохромитовых огнеупоров. В последние годы опробованы и начали внедряться водоохлаждаемые своды плоской формы. Стойкость таких сводов значительно увеличивается и достигает 400 плавок и более.
В последние десятилетия с целью уменьшения простоев электропечей на ремонтах и снижения расходов огнеупоров начали применять различные конструкции водоохлаждаемых элементов стен и сводов печей (так называемые панели) Такие водоохлаждаемые элементы работают в электросталеплавильных цехах ряда металлургических предприятий, в том числе на Донецком металлургическом заводе Панели выполняются из стальных труб, которые в процессе эксплуатации покрываются гарнисажем толщиной 8 - 12 мм, образующимся из шихтовых материалов и шлака.
[i] Гасик М.И., Емлин Б.И. Электрометаллургия ферросплавов.- Киев-Донецк, Вища школа,.- 1983.-376с.























