Аппараты для очистки газа
Аппараты для очистки газа.
Очистка газов от пыли.
По наличии взвешенных частиц в газовой фазе все газы можно разделить на 3 основных типа:
- Пылевоздушная смесь. Диаметр взвешенных частиц от 3-50мкм.
- Дымы. Диаметр взвешенных частиц от 0,01-1мкм.
- Туман. Это жидкие взвешенные частицы. Диаметр взвешенных частиц приблизительно такой же как у первых 2-ух.
Классификация аппаратов для очистки от взвешенных частиц.
- Гравитационный аппарат. Осаждение частиц осуществляется под действием сил тяжести.
- Аппараты мокрой очистки:
- Центробежные
- Пенные
- статические
- Фильтры. В зависимости от конструкции имеют несколько типов:
· тканевые
· пластинчатые
· электрические
- Аппараты электрической очистки:
· Трубчатые
· Пластинчатые
- Гиперочистка или гиперфильтры. (очень тонкая очистка).
Рекомендуемые материалы
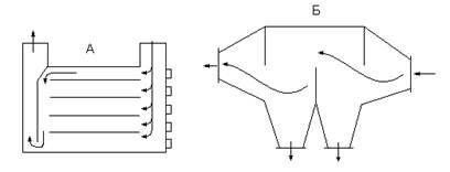
Гравитационная очистка газов.
Основные аппараты:
1) пылеосадительная камера;
2) жалюзийные фильтры;
3) циклоны.
Пылеосадительная камера бывает:
А) полочная
Б) решетчатая.

Скорость осаждения частиц определяется:
V= √(Ft/Sr*ρr*ζr)
Ft- сила тяжести частиц
Sr- площадь поперечного сечения частиц.
ζr - сила сопротивления среды осаждения частиц, зависит от режима движения газа и от формы частиц.
ρr - плотность частиц .
v /vr = l/n
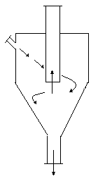
Жалюзийные фильтры.

Циклоны.

В последовательно работающих увеличивается степень очистки. В параллельно работающих при той же степени очистки увеличивается пропускная способность газа.
Запыленный газ поступает в циклон.
Диаметр циклона определяется по формуле:
Vr =d2ч*(ρч - ρг)*Vокр/(18*μr*rц)
rц - радиус циклона.
dч- диаметр частиц.
Vокр - окружная скорость вращения газа в циклоне, зависит от линейной скорости газа и диаметра циклона.
μ- вязкость.
18 – указывает на то, что режим движения газа в циклоне ламинарный.
Скорость осаждения частиц зависит:
- от диаметра частиц
- от плотности частиц
- от режима движения
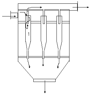
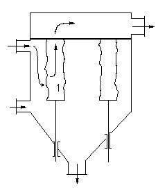
А. Батарея циклона.

1 – завихритель. Циклоны называются батарейными т.к имеют один вход.
Для фильтрации используют:
- эластичные фильтровальные перегородки.
- Жесткие.
Чаще используются эластичные: ткань, войлок, полипропиленовые. Из них изготавливают рукавные фильтры:

1- фильтрующий элемент (перегородка), через которую проходят запыленный газ. Если диаметр частиц маленький, то газ вводится сверху, если крупный снизу.
Основной движущей силой процесса фильтрации является разность давлений с разных сторон фильтрующей перегородки. Эффективность фильтрации определяется: диаметром волокон фильтра, расстоянием между волокнами и толщиной фильтровальной перегородки. Расчет сводится к определению площади фильтрации.
Очистка газов при участии жидкой фазы.
Существует 2 способа:
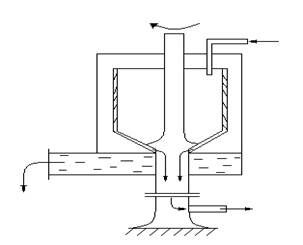
- пенная очистка.

1-штуцер для ввода ПАВ и жидкости.
2-для вывода очищенного газа.
3-для вывода загрязненной пены.
4-для вывода шлама.
5- для ввода запыленного газа.
Степень очистки 95-99%.
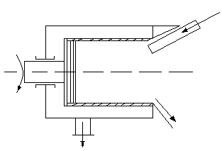
- мокрый скубер.
Принцип действия тот же. Распыляет жидкость в газовой среде.
Степень очистки редко достигает 80% .

1- штуцер для вывода шлама.
2- Для ввода запыленного газа
3- Для ввода воды
4- Для вывода очищенного газа.
Это аппараты поверхностного типа.
Электрофильтрация.
Условно можно разделить:
- Фильтрация в трубах.
- Фильтрация на полках.
- Фильтрация на стержнях..
Если частица заряжается отрицательно, то это фильтрация на стержнях, если положительно – то на трубах.
Эффективность фильтрации зависит от:
· Электростатических свойств частиц.
· Скорости движения заряженных частиц.
· Длины участка фильтрования и площади поперечного сечения.
Эффективность фильтрования:
α= 1 – e-w*f
w- скорость движения заряженных частиц на участке фильтрования.
f – величина зависящая от типа фильтрации.
Для трубчатой фильтрации:
f= 2*l / z*v
Для пластинчатой фильтрации:
f= l / n*w
l – длинна фильтрующего участка.
n – число пластин.
z – эффективный диаметр фильтрующей зоны.
v – скорость движения газового потока.
w – средняя скорость движения газового потока между пластинами.
Сравнительная характеристика и выбор типа фильтрации
| аппарат | макс. содерж. пыли в газе, кг/м3 | размер отделяем. частиц, мкм | α, % | гидравлическ. сопротивление, н/м2 |
| пылеосадительная камера | не ограничено | больше 100 | не больше 50 | близкое к 0 |
| жалюзийные пылеуловители | 0,02 | 2,5 | 60 | 500-600 |
| циклоны | 0,4 | больше 10 | от 75 до 90 | 400-700 |
| батарейный циклон | 0,1 | больше 10 | 85-95 | 500-800 |
| рукавные фильтры | 0,02 | больше 1 | 95-99 | 500-2500 |
| мокрый скубер | 0,05 | больше 2 | до 95 | 400-800 |
| пенные пылеуловители | 0,3 | больше 0,5 | практически полное | 300-900 |
| электрофильтры | 0,01-0,05 | больше 0,005 | почти 100 | 100-200 |
Центрифугирование.
Это процесс разделения суспензий под действием центробежных сил.
Сц=G*r*n2 / 900
r- радиус вращения.
n- число оборотов в минуту.
G- вес вращающегося тела.
Коэффициент разделения вычисляется:
Kp= w2 *r / g ; Kp= r * n2 / 900 (G=1)
w- угловая скорость вращения.
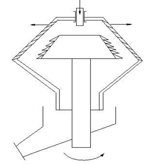
Основные конструкции центрифуг.
1. По конструктивным признакам:
- вертикальное и горизонтальное расположение.
2. По способу выгрузки:
- автоматически;
- выгрузка вручную.

1- вращающаяся часть;
2- питатель центрифуги.
δ ~ Дц
С ~ Дц
Кр~ Дц
Все центрифуги по величине коэффициента разделения делят:
- нормальная центрифуга – Кр< = 3500
- сверхцентрифуга – Кр >= 3500
- ультрацентрифуга – Кр ~7000
С коническим барабаном.
Применяется для разделений грубых суспензий. Такие относятся к разряду тихоходных центрифуг. Скорость вращения ротора приблизительно 4000.

Центрифуги с горизонтальным расположением ротора.

Степень фильтрации больше предыдущих.
Недостаток: устанавливается сетчатый барабан и из-за этого в осветвленной жидкости будет больше взвешенных частиц, и влажность осадка будет еще больше.

Относится к типу осадительных. Тип выгрузки - шнек.
Применяется для разделения суспензий с высоким содержанием взвешенных частиц. Используется как предварительная стадия для последующей очистки из-за низкого коэффициента разделения. Производительность большая. Большой расход энергии для перемещения осадка.
Ультрацентрифуги.
Бесплатная лекция: "Содержание " также доступна.

Применяются в фармацевтической промышленности.
Скорость вращения вала достигает 45000 об/мин.
Характеризуется малым диаметром ротора.























