Путевые оптические каналы и устройства
Тема лекции 2
Путевые оптические каналы и устройства
Для обеспечения безопасности, организации движения поездов и маневровой работы на железнодорожном транспорте применяется определенная система передачи информации по оптическим каналам с помощью специальных сигнальных устройств, которые должны обеспечивать простоту восприятия, быстроту опознавания и достаточную дальность видимости оптической информации. Сигнальные показания, назначение и места расположения сигнальных устройств регламентируются Инструкцией по сигнализации на железных дорогах Казахстана.
Сигнальные приборы ограждают определенные участки пути, раздельные пункты или железнодорожные сооружения и передают машинистам приближающихся поездов информацию о допустимой скорости движения, состоянии впереди лежащих блок-участков, маршруте следования на станцию и т. д. В качестве постоянных сигналов применяются светофоры. Светофоры служат для регулирования движения поездов посредством световых сигналов.
Сигналы светофоров должны восприниматься на достаточном расстоянии, как днем, так и ночью при самых неблагоприятных атмосферных условиях. В связи с наметившейся тенденцией роста скорости и массы поездов повышаются требования к надежности передаваемой сигналами информации и появляется необходимость в увеличении ее объема.
В современных системах оптической сигнализации для кодирования передаваемой информации применяется несколько отличительных физических признаков: цвет, режим горения, число и взаимное расположение огней светофоров. В железнодорожной сигнализации используются три основных (красный, желтый, зеленый) и два дополнительных (белый и синий) цвета.
Для увеличения объема передаваемой информации используется два режима горения светофорных огней: непрерывный и мигающий. Число одновременно горящих огней, как правило, не более двух. Однако в последнее время на транспорте применяются сигналы, содержащие три огня, а также дополнительные сигналы в виде одной или двух зеленых светящихся полос. Признак взаимного расположения огней в сигнализации представлен использованием дополнительной зеленой полосы, собранной из трех горизонтально расположенных, оптических линзовых комплектов карликовых светофоров, укрепленных на расстоянии 0,8—1 м ниже основных огней входного светофора.
Рекомендуемые материалы
На базе светофорной сигнализации строится «Единая скоростная система сигнализации». В этой системе каждому сигнальному показанию светофора соответствует максимально допустимая скорость, с которой можно проехать ось данного и следующего светофора. Для реализации разрешающих показаний в многоступенчатой сигнализации применяются не только желтый и зеленый цвета с непрерывным режимом горения, но и введены мигающие огни этих цветов с частотой мигания в пределах 40—60 и 100—120 в 1 мин.
Максимальная скорость для пассажирских поездов установлена в пределах 120—160 км/ч, для грузовых—90—100 км/ч. У желтого сигнала на перегоне и при приеме на боковой путь станции по стрелкам с крестовинами марок 1/9 и 1/11 требуется снижение скорости до 40—50 км/ч. При движении с отклонением по стрелочным переводам с крестовинами пологих марок 1/18 и 1/22 скорость снижается соответственно до 80 и 120 км/ч.
Основные показания оптической сигнализации, их условное обозначение, передаваемая информация и место применения представлены в Инструкции по сигнализации на железных дорогах Казахстана.
Показания светофора являются приказом и подлежат беспрекословному выполнению. Нормальным показанием проходных светофоров АБ является разрешающее, всех остальных постоянных сигналов – запрещающее.
Для создания надежных и экономичных световых сигналов необходимо использовать оптические системы, концентрирующие часть светового потока, т. е. увеличивающие силу света в определенном направлении.
Способность увеличивать силу света характеризуется коэффициентом усиления оптики
Ку =I2 / I1 ,
где I2 — сила света пучка, вышедшего из оптики; I1 — сила света, падающего от источника света.
Если перед линзой поместить источник света, дающий силу света I1, то от него на линзу упадет световой поток
Проходя через линзу, лучи преломляются и выходят в виде более узкого пучка с силой света I2 в телесном углу , представленном линейным углом рассеяния .
Коэффициент усиления повышается с возрастанием угла охвата и уменьшением угла рассеяния оптики.
Коэффициент усиления можно также выразить через диаметры линзы D и источника света d:
Ку = Кл = D2/ d2
Отсюда видно, что для получения большего усиления необходимо увеличивать диаметр линзы и уменьшать размеры источника света. Именно поэтому в световых сигналах применяют точечные лампы, у которых нить накала укорочена и приближается к размерам точки.
В оптических каналах железнодорожной сигнализации, добиваясь большого коэффициента усиления оптики, необходимо также исключить возможность ложного восприятия сигнала вследствие отражения внешних световых потоков. Эти два обстоятельства и являются определяющими при выборе оптических систем.
В инженерной оптике применяются три разновидности оптических систем: преломляющая (линзовая), отражательная (рефлекторная) и смешанная (линзово-рефлекторная).
Линзовая оптика содержит источник света и линзу. Она не может дать большого коэффициента усиления, так как имеет небольшой угол охвата. Однако линзовая оптика практически исключает ложное восприятие сигнала. Единственным источником ложного отраженного сигнала может служить только стеклянная поверхность баллона электрической лампочки, от которого возможно отражение солнечных лучей, попавших внутрь головки светофора извне. Так как головка светофора окрашивается внутри черным цветом, сила света отраженных лучей будет мала. Из-за высокой безопасности в отношении появления ложного сигнала линзовая оптика получила преимущественное распространение на железнодорожном транспорте.
Отражательная оптика содержит источник света и зеркальный рефлектор, позволяющие получить большие углы охвата и, следовательно, высокий коэффициент усиления. Однако высокая отражательная способность рефлектора приводит к возможности возникновения ложных сигналов вследствие отражения солнечных или других лучей. Поэтому данный вид оптики в железнодорожных сигналах не применяется.
Смешанная оптика сочетает преимущества линзовой и отражательной систем. Кроме источника света, светофильтра и преломляющих линз, она содержит зеркальный рефлектор, наличие которого позволяет повысить использование светового потока лампы. Светофильтр в смешанной оптической системе может быть гораздо меньших размеров, чем в линзовой оптике. Это позволяет осуществить автоматическую смену положения светофильтров для изменения сигнальных показаний светофора. Появление ложного сигнала исключено тем, что при отражении рефлектором лучей от внешних источников света показание светофора будет определяться цветом установленного в данный момент светофильтра. Смешанная оптика применяется в прожекторных светофорах.
По оптической системе светофоры подразделяются на линзовые и прожекторные. Линзовый светофор для каждого сигнального показания имеет отдельную оптическую систему—линзовый комплект. Прожекторный светофор имеет оптическую систему, совмещенную со специальным механизмом, который позволяет при одной оптической системе получить три различных по цвету сигнальных показания. Ввиду сложности конструкции и меньшей надежности по сравнению с линзовыми светофорами принято решение не применять прожекторные светофоры при новом строительстве и заменять их при реконструкции устройств СЦБ на станциях и перегонах.
В зависимости от местных условий светофоры могут быть мачтовые (рис. 2.12,а), карликовые (рис. 2.12,б) и консольные (рис. 2.12,в). Мачтовые светофоры устанавливаются на перегонах, главных путях станций и на боковых путях, по которым осуществляется безостановочный пропуск поездов со скоростью более 40 км/ч. Учитывая, что мачтовые светофоры ограничивают полезную длину приемо-отправочных путей и увеличивают стоимость строительства, их применение ограничивается. Карликовые светофоры используют на станциях в качестве выходных (см. рис. 2.12, б) с путей, по которым не предусматривается безостановочный пропуск поездов, и маневровых. Консольные светофоры применяют там, где (см. рис. 2.12, б) по условиям габарита нельзя установить светофор в междупутье.

Рис. 2.12. Светофоры
Все светофоры располагают, как правило, с правой стороны по направлению движения или над осью ограждаемого пути. С левой стороны могут быть расположены входные карликовые светофоры для приема поездов по неправильному пути и недостаточной ширине междупутья, двусторонние групповые светофоры, установка которых с правой стороны невозможна.
Мачтовый линзовый светофор (см. рис. 2.12, а) состоит из мачты 1 (железобетонной или металлической), на которой укрепляют одну или несколько светофорных головок со щитами 3 и козырьками 4. Железобетонные мачты, представляющие собой полые конические бесстыковые стойки длиной 8 или 10 м, устанавливают в грунт на глубину 1800—2200 мм. Металлические мачты используют тогда, когда светофоры с железобетонными мачтами нельзя применить по условиям габарита или длина их недостаточна для установки требуемого количества светофорных головок и указателей. Металлические мачты закрепляют в стяжных стаканах, размещаемых на бетонных фундаментах.
На станциях с пологими марками стрелочных крестовин 1/18, 1/22 на входных светофорах устанавливают световую полосу зеленого цвета 2, которая состоит из чугунного корпуса, на передней стороне которого имеются три линзовых комплекта с зелеными светофильтрами. Такая световая полоса размещается на специальных кронштейнах под нижней двузначной головкой светофора.
Светофорные головки по числу сигнальных показаний бывают однозначными, двузначными или трехзначными. Для получения более трех сигнальных показаний на мачте устанавливают несколько светофорных головок.
Трехзначная светофорная головка (рис. 2.13) состоит из чугунного корпуса 1 с дверцей 2, трех линзовых комплектов, разделенных внутри корпуса перегородками 3, исключающими возможность проникновения света от горящей лампы соседнего комплекта, козырьков 8, предотвращающих попадание в линзовые комплекты солнечных лучей и появление ложной сигнализации светофора, колодок 9 для подключения проводов.

Рис. 2.13. Головка светофора с линзовыми комплектами
Для улучшения видимости сигнальных огней на корпусе светофорной головки устанавливается черного цвета фоновый щит 3 (см. рис. 2.12, а) овальной формы или круглой у однозначной светофорной головки.
Основной частью светофорной головки является линзовый комплект, который состоит из корпуса 6, наружной бесцветной ступенчатой линзы 10, линзы светофильтра 5 красного, зеленого, желтого, синего или белого цвета, ламподержателя 4 с лампой накаливания мощностью 15, 25 или 35 Вт на напряжение 12 В.
Нить светофорной лампы находится в фокусе линз комплекта. За счет ступенчатых линз концентрируется световой поток электрической, лампы. Световой поток, проходящий через линзу-светофильтр, окрашивается, а проходя через бесцветную линзу, преобразуется в сигнальный луч с малым углом рассеивания.
При установке светофоров на кривых участках пути видимость светофора обеспечивается установкой в линзовый комплект перед наружной линзой рассеивающего стекла 7 с углом рассеивания 10 или 20°.
На стекло наносится стрелка, показывающая направление отклонения светового луча. Стекло устанавливают так, чтобы стрелка была направлена в сторону кривой. В линзовых комплектах с рассеивающими стеклами используют лампы мощностью 25 Вт.
Карликовый линзовый светофор (см. рис. 2.12,б) не имеет мачты и состоит из светофорной головки с линзовыми комплектами без фонового щита, устанавливаемой непосредственно на бетонный фундамент. В линзовых комплектах карликовых светофоров используют линзы меньшего диаметра, а отклоняющую вставку устанавливают между линзами. В остальном линзовые комплекты карликовых светофоров имеют такое же устройство, что и мачтовые.
Разработана новая линзовая светофорная головка из силумина с ламподержателем для установки двухспиральных светофорных ламп.
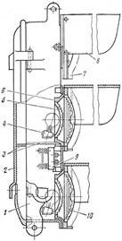
Прожекторная светофорная головка представляет собой чугунный корпус, с одной стороны которого укреплены плоско-выпуклая линза, круглый фоновый щит и козырек, а с другой — дверца.
Внутри корпуса устанавливается сигнальный механизм (рис. 2.14), имеющий магнитоэлектрическую систему с постоянными магнитами 8, 9, 10 и 11 и оптическую систему. Оптическая система состоит из плоско-выпуклой бесцветной линзы и зеркального рефлектора 5. Электрическая лампа располагается в первом фокусе рефлектора, а во втором фокусе — светофильтры подвижной рамки 4. Лучи светового потока лампы отражаются от стенок рефлектора и концентрируются во втором его фокусе, где проходят через цветной светофильтр и попадают сначала на внутреннюю 3, а затем на наружную 1 линзу и направляются вдоль пути с небольшим углом рассеивания — 2—3°. Часть лучей отклоняется отклоняющей вставкой 2 под углом 40° вниз для лучшей видимости сигнала на близком расстоянии.

Рис. 2.14. Устройство прожекторного светофора
На круглом якоре поляризованного реле, который связан с контактной системой (на чертеже не показано), укреплены катушка 7 и секторы 6 и 12. На секторе 6 находится рамка с тремя светофильтрами — круглыми стеклами красного, желтого и зеленого цветов.
В прожекторном светофоре используются лампы малой мощности 5 или 10 Вт при напряжении 10 В.
Так как в прожекторном светофоре не исключено заедание якоря со светофильтрами (например, при попадании молнии в светофор) эти светофоры нашли ограниченное применение.
Красные, желтые и зеленые сигнальные огни светофоров на прямых участках пути должны быть днем и ночью отчетливо различимы из кабины управления локомотива на расстоянии не менее 1000 м.
На кривых участках эти сигналы должны быть отчетливо различимы на расстоянии не менее 400 м. В сильно пересеченной местности (горы, глубокие выемки) допускается видимость этих сигналов на расстоянии не менее 200 м; Показания выходных и маршрутных светофоров главных путей должны быть отчетливо различимы на расстоянии не менее 400 м, выходных и маршрутных светофоров боковых путей, а также пригласительных сигналов и маневровых светофоров — на расстоянии не менее 200 м.
Основными цветами, принятыми для сигнализации светофоров, являются красный, желтый и зеленый.
Зеленый цвет разрешает движение с установленной скоростью; желтый разрешает движение и требует уменьшения скорости; красный требует остановки.
Для организации маневровой работы применяют следующие сигнальные цвета: белый разрешает маневровое движение, синий запрещает производить маневры.
В связи с повышением скоростей движения поездов сигнализация приобретает скоростной характер: сигнальные показания не только разрешают или запрещают движение поездов, но и указывают их скорость.
Для получения необходимого числа сигнальных показаний используются цвет, количество огней, характер их горения и взаимное расположение.
Светофоры по назначению подразделяются на входные, выходные, маршрутные, проходные, прикрытия, заградительные, предупредительные, повторительные, маневровые, локомотивные и горочные.
На качество работы оптических каналов большое значение оказывает технология изготовления линз. Следует иметь в виду, что в плоскосферических линзах имеет место явление сферической аберрации, которое заключается в наличии нескольких фокусов концентрации преломленного луча, попадающего на отдельные участки линзы. В результате проявления сферической аберрации резко ухудшается работа светооптической системы, в частности, уменьшается сила света сигнального прибора и дальность его видимости.
Сферическую аберрацию, можно свести к минимуму, если использовать линзы специальной асферической формы, обеспечить однородность материала, из которого они изготовляются, и качественную шлифовку их поверхности. Однако такие линзы получаются громоздкими и дорогими и потому не нашли применения на железнодорожном транспорте.
Бесплатная лекция: "8 Создание Web-страниц с помощью Word" также доступна.
Необходимость уменьшения аберрации вызвала появление ступенчатых линз. Профиль ступенчатых линз строят путем параллельного переноса элементов поверхности асферической линзы, чем достигается сохранение оптических свойств линзы и уменьшается ее масса. Отдельные элементы такой линзы не повторяют в точности проектируемую поверхность, а заменяются элементами сферических поверхностей с усредненными радиусами кривизны. Ступенчатые линзы имеют значительно меньшие потери светового потока в стекле и могут быть изготовлены прессованием, что снижает их стоимость.
Для получения высокой прозрачности применяется специальный химический состав стекла для изготовления бесцветных линз, в который, кроме песка SiO2, добавляются примеси окиси железа, натрия, калия и свинца. Оптимальный химический состав и высокотёмпературный режим варки стекла обеспечивает однородность линз. Бесцветные ступенчатые линзы изготовляют в металлических прессформах, которые обеспечивают им необходимые геометрические формы и заданную чистоту рабочей поверхности. Стекло линзы должно иметь коэффициент преломления не ниже 1,5.
В линзовых светофорах для увеличения угла охвата используются оптические системы из двух сфокусированных линз, образующих линзовый комплект, в котором наружная линза бесцветная, а внутренняя цветная.
Если применять одну линзу, то из всего светового потока, излучаемого лампой, используется только его часть в пределах угла, а остальная часть пропадает. При установке вблизи лампы второй внутренней линзы будет использоваться световой поток в пределах большего угла., Линзы подбирают и располагают так, чтобы преломленные внутренней цветной линзой лучи по возможности полностью попадали на наружную линзу и выходили из последней слаборасходящимся световым пучком. При фокусировке линзового комплекта нить лампы помещают в фокус линзы, а ось светового пучка направляют перпендикулярно задней плоскости корпуса комплекта. Сила света в линзовом комплекте в большой степени зависит от точности фокусировки. Например, при смещении нити накала лампы на 1—2 мм от нормального положения сила света снижается на 20—40 %.
Сила света также существенно зависит от угла рассеивания.
На кривых участках пути с малым радиусом закругления угол рассеивания светового пучка необходимо увеличивать, чтобы обеспечить машинисту непрерывную видимость сигналов светофора. Для этой цели применяют рассеивающие линзы (рассеиватели) с гладкой выпуклой наружной поверхностью и рифленой внутренней. На транспорте применяют рассеиватели следующих типов: односторонние (Pl-30, P1-20, Р1-30), обеспечивающие в горизонтальной плоскости рассеивание светового потока на угол соответственно 10, 20 и 30° от оптической оси линзы, а также двусторонние Р2 с углами рассеивания в горизонтальной плоскости в одну сторону — 5° и в другую — 25°.























