Сооружение хранилищ рао
Сооружение хранилищ РАО
Подземные хранилища могут сооружаться двумя способами.
Традиционный способ, применяемый в национальных программах США, Канады, Швеции, Швейцарии и России, когда камеры хранилищ проходятся при помощи "щадящей" технологии: щитами или тоннелепроходческими машинами для обеспечения минимальных нарушений естественного состояния вмещающих горных массивов, чтобы использовать их в качестве природных защитных барьеров на пути возможной миграции радионуклидов или попадания воды в хранилище извне. Примером хранилища, сооруженного таким способом, может служить действующее в Швеции хранилище "Форсмарк".
Второй способ предусматривает полную изоляцию горного массива, вмещающего хранилище РАО, и даже в некоторой степени изменение первоначальных его свойств. Само хранилище выполняется в виде сферической или камерной выработки-капсулы, а вокруг него проходится защитная экранирующая щель, заполняемая водонепроницаемым материалом, которая ограждает внутренний объем вмещающего хранилище массива и создает в нем постоянную гидравлическую обстановку, препятствуя миграции радионуклидов из хранилища и проникновению в него воды извне. Примером хранилища, запроектированного по второму способу, может служить шведский проект WP-CAWA.
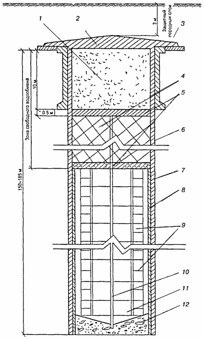
На рис. 26 показан общий вид первого этапа строительства (1983–1988 гг.) подземного комплекса хранилища РАО "Форсмарк" в Швеции, расположенного в кристаллических породах (в основном в гранитах) под дном Балтийского моря. В хранилище размещен весь объем НАО и САО от 12 реакторов. Глубина шелыги от уровня моря – 65 м. Плотность трещиноватости в своде колеблется от 3 до 12 %. Скорость фильтрации подземных вод – 10-7–10-10 м/сут. Основные подземные сооружения возведены в наиболее водонепроницаемых массивах. Подходный "грязный" тоннель имеет длину 1 км и поперечное сечение 60 м2. Габарит приближения 5,2 × 5 м (высота × ширина). В двух вертикальных цилиндрических выработках-хранилищах диаметром 30 м и высотой 70 м хранятся ЖРО средней удельной активности в канистрах. ЖРО замоноличены с ионообменными смолами в бетон. Загрузка РАО выполняется дистанционно управляемым манипулятором. Выработки камерного типа имеют ширину 14,8; 15 и 19,5 м, высоту – 9,5; 12,5 и 16,5 м. Длина у всех камер одинаковая – 160 м. Камеры закреплены анкерами и дисперсно-армированным набрызгбетоном. Длина анкеров – 3,85 м, диаметр–25мм. Анкеры установлены по всей поверхности стен и кровли камер по сетке 2 × 2 м.

Рисунок 26. - Общий вид подземного комплекса хранилища радиоактивных отходов "Форсмарк"
В вертикальных цилиндрических выработках от днища на подушке из смеси кварцевого песка с бентонитом сооружен с помощью скользящей опалубки бетонный бункер высотой 50 м. Пространство между стенками бункера и камеры заполнено бентонитом. Объем бетона бункеров – 8000 м3. Канистры РАО в бункере размещаются в 35 ячейках размерами 2,5 × 2,5 м и 12 ячейках–1,25 × 2,5 м.
Основным защитным барьером от распространения радионуклидов в камерных выработках служит массив скальных пород, вмещающий хранилище. Расчетная нагрузка на окружающую среду составит около 3·10 Зв/год, что намного ниже фоновой.

Рекомендуемые материалы
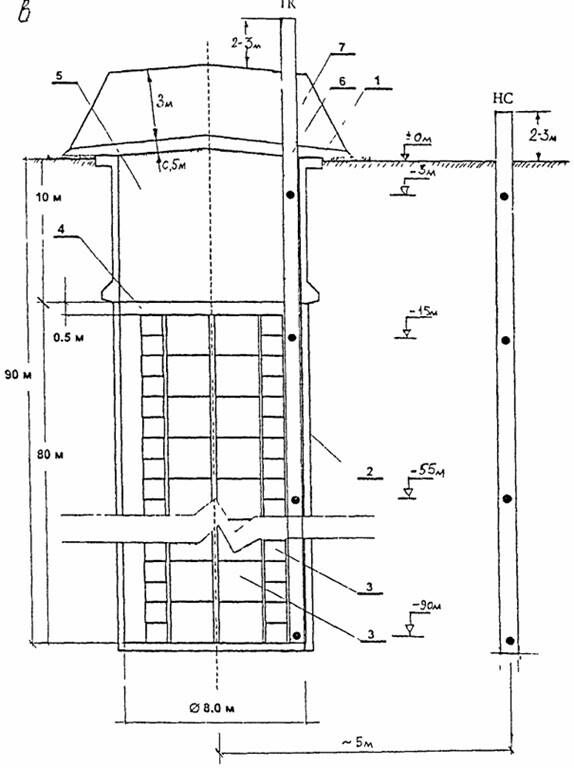
Рисунок 27. - Общий вид подземной емкости для хранения отработавшего ядерного топлива по шведскому проекту WP-CAWE
1 - спиральный транспортный тоннель-съезд, 2 - подходная выработка к барьеру, 3 - целик скальных пород, оставленный внутри бентонито-кварцевого барьера; 4 - вертикальный ствол; 5 - подходная выработка к трем одинаковым емкостям; 6 - изоляция подходной выработки; 7 - изоляция ствола; 8 - выемка для хранения упаковок с топливом, 9 - бентонито-кварцевый барьер
Для хранения облученного топлива в Швеции создан проект WP-CAWE сухого подземного хранилища, состоящего из трех емкостей [2]. На рис. 27 показана одна из трех секций хранилища. Каждая емкость представляет собой шарообразную выработку диаметром 40 м, в которой размещаются канистры с ВАО. Канистры устанавливаются в цилиндрические выемки бетонных шаров
диаметром 3,6 м, имеющих коническое захватное устройство. Шары с топливом располагаются в центральной части шарообразной выработки-хранилища, свободная часть полости заполняется бетонными шарами без ВАО. По расчетам проектантов в полости между бетонными шарами с канистрами ВАО и пустыми шарами образуется конвективный перенос тепла, выделяемого ВАО, и равномерное его распределение в течение около 200 лет. Температура стенок хранилища может достигать 200° С. Поэтому во избежание отслаивания тонких пластин породы выемки ее стенки крепятся анкерами и вся полость заполняется шарами. При необходимости размещения в полости других видов ВАО предполагается применять бетонные шары диаметром 4,8 м. Доставка шаров в полость и выдача их нагора, если облученное топливо потребуется регенерировать на радиохимическом заводе, производится по вертикальному стволу. Ствол шахты изолируется в нижней части, в месте примыкания к хранилищу, бетонной пробкой, весь объем которой заполняется бентонитом.
В одной полости хранилища можно разместить годовой объем отработавшего топлива 12 реакторов мощностью 1000 МВт.
Хранилище-шар диаметром 40 м располагается внутри колбообразного объема массива скальных горных пород диаметром 120 м и высотой 168 м. Этот объем отделен от остального, окружающего его массива выработкой щелью шириной 5 м, заполненной защитной смесью чистого кварцевого песка с сухой хорошо уплотняемой бентонитовой глиной. При проникновении воды в бентонит он расширяется, набухает, создает внутреннее давление в защитной выработке и обеспечивает надежный барьер из естественного материала, препятствуя проникновению воды к ВАО. Расположенный внутри колбы массив, отделенный от вмещающего глиняным барьером, является к тому же демпфером, повышающим устойчивость хранилища от вероятностных землетрясений и тектонических подвижек.
Большим преимуществом шведского проекта является понижение требования к проницаемости вмещающего массива, что позволяет создавать ХОЯТ не только в изверженных породах магматического (граниты, гнейсограниты и т.п.) или метаморфического (гнейсы, лептиты) происхождения, но даже в осадочных, например, в песчанике, известняках хорошего качества, в меловых отложениях с незначительной водопроницаемостью и низкой пористостью. Вскрытие колбообразной оболочки-щели предусматривается спиралевидным подходным тоннелем. Размеры блока для сооружения одной емкости ХОЯТ 200 х 200 х 200 м. Стоимость сооружения ХОЯТ с тремя емкостями с учетом инженерно-геологических изысканий – 55 млн долл. США.
Скважинные могильники для локализации ВАО в скальных породах, соляных формациях и глинистых мощных пластах получили распространение в Швейцарии, Италии, Великобритании, Нидерландах, Индии. Сторонником такого способа захоронения ВАО в России является действительный член АГН, профессор, доктор техн. наук, О. Л. Кедровский.
Принципиальная схема скважины-могильника глубиной 4000 м показана на рис. 28. Зависимости максимальной температуры на стенке пенала с ВАО от диаметра скважины при различных плотностях теплового потока после охлаждения ВАО в течение 10, 15 и 25 лет даны на рис. 29. Усредненные характеристики горных пород при бурении скважины даны в табл. 31.
Скважины бурятся с поверхности, а также из подземных выработок. Скважины, пробуренные с земной поверхности или со дна морей, могут иметь глубину от 600-700 м до 2-4 км. Диаметр таких глубоких скважин доходит до 720 мм. В них захоранивают долгоживущие ВАО-радионуклиды трансурановой группы и йод-129. В скважины опускают контейнеры с остеклованными ВАО или другие виды РАО
Таблица 31 - Усредненные характеристики горных пород при бурении скважины
| Интервал глубины, м | До 1500 | 1500-4500 |
| Удельная трещиноватость, трещин на 1 м | 20–50 | 5–12 |
| Мощность минерального заполнения трещин, см/м | 1–2 | 1–3 |
| Минерализация воды, г/л | 0,05–0,5 | До 150 |
| Водопроводимость пород, м2/сут | 0,2– 6 | – |
| Коэффициент фильтрации, м/сут | 1–0,001 | 3·10-4– 6 ·105 |
| Геотермальный градиент увеличения на 100 м глубины, °С | До 1
| 1,2– 2
|
| Общая пористость, % | 0,75–0,99 | 1,2– 1,27 |

Рисунок 28.- Принципиальная схема скважины-могильника глубокого залегания:
1 – бетон; 2 – асфальт (битум); 3 – обсадная колонна (технологическая); 4 – блок из прессованного бентонита (γ – 2,1 г/см3); 5 – бентонитовая паста (γ – 1,6 г/см3); 6 – колонна-хвостовик (эксплуатационная); 7 – контейнер с высокоактивными отходами; 8 – цемент, 9 – зона герметизации L – 2000 м; 10 – интервал ликвидации обсадной колонны ("окно"); L – подлежит уточнению; 11 – зона размещения контейнеров (рабочая зона), L – 2000м

Рисунок 29 - Зависимость максимальной температуры на стенке "пенала" от его диаметра при пространственной плотности теплового потока 1,5, 1, 0,5 кВт/м3 после охлаждения отходов в течение 10,15,25 лет
В ряде стран рассматриваются проблемы захоронения ВАО в вертикальных шахтных стволах. Так, например, в США осуществляется программа размещения ВАО в стволах диаметром 3 м, пройденных буровым способом.
Проф. О. Л. Кедровский предлагают захоранивать различные по активности РАО, образующиеся при снятии с эксплуатации энергоблоков АЭС, в вертикальных водонепроницаемых шахтных стволах диаметром 4–6 м, глубиной до 150–200 м, пройденных бурением в осадочных породах и закрепленных трехслойной крепью (стальной лист – бетон МБ-01 – стальной лист). Использование "модификатора бетона МБ-01" в 500 кг/м3 портландцемента М-400 можно получить бетон сверхвысокой (80 МПа) прочности, низкой (W-20) проницаемости, высокой (свыше 800 циклов) морозостойкости, повышенной стойкости к агрессивным водам.
Стволы-могильники предлагается размещать прямо на промплощадках АЭС, геологические условия которых позволяют применить способ захоронения в шахтных стволах. Бурить стволы можно реактивно-турбинной установкой "Уралмаш-4Э" или установкой немецкой фирмы "Вирт" (роторный способ бурения с обратной промывкой). Сталебетонная крепь возводится способом "на плаву", который описан в [ ]. Могильник РАО шахтного типа показан на рис. 30.
Доктор техн. наук И.Ю. Шищиц предлагает захоранивать контейнеры с пеналами высокоактивных РАО в могильниках шахтного типа с воздушным охлаждением при естественной тяге (депрессии). Глубина ствола – 800 м; диаметр – 8 м; объем вынутых пород – 60 тыс. м3; высота рабочей зоны – 600 м; количество пеналов в контейнере – 36 шт.; общее количество пеналов – 5760 шт.; срок эксплуатации могильника–25 лет (рис. 31). Обычно ВАО предварительно выдерживают в наземных сооружениях не менее 10 лет для снижения тепловыделения при распаде нуклидов Sr-90 и Cs-137.

Рисунок 30 - Могильник радиоактивных отходов в шахтном стволе:
1 – засыпка из породы; 2 – защитный слой из литого бетона; 3 – крепь устья ствола; 4 – слаборадиоактивные отходы; 5 – бетонная подушка; 6 – однослойная стальная крепь в зоне свободного водообмена; 7 – бетон закрепного пространства; 8 – трехслойная сталебетонная крепь; 9 – контейнеры с радиоактивными отходами; 10 – буровой став; 11 – коническое днище; 12 – бетонная пробка
Для охлаждения ВАО размещают во временных хранилищах, сооружение которых сложно и дорого. Кроме того, они обладают повышенным риском возникновения различных опасных ситуаций (тайфун, смерч, террористический акт и др.). Предлагаемый способ хранения и последующего захоронения ВАО в шахтном стволе отличается от вышерассмотренного тем, что контейнеры с ВАО помещают в стволе без предварительной выдержки. Тепло отводится за счет естественного проветривания. Таким образом, ствол совмещает функцию временного хранилища на период снижения тепловыделения до необходимых уровней и, затем, функцию подземного могильника.

Рисунок 31 - Могильник шахтного типа для ВАО с предварительным их охлаждением в стволе атмосферным воздухом
1 – надшахтное здание, 2 – шлюзовое устройство, 3 – здание подъемной машины, 4 – контейнер с пеналами, 5 – расстрелы, 6 – теплоизоляция δ = 300 мм, воздушный промежуток δ = 500 мм, чугунные тюбинги δ = 275 мм, силовой бетон δ = 425 мм, гидроизоляционный экран, передовой бетон δ = 300 мм, скальная порода, 7 – суглинок с дресвой и щебнем водонасыщенный, 8 – порфириты трещиноватые обводненные, 9 – порфирит монолитный с трещиновато-жильными горизонтами, 10–зона захоронения пеналов–рабочая зона
В стволе устанавливается теплоизолирующая обечайка, между ней и крепью ствола имеется кольцевой зазор. Контейнеры с ВАО размещают внутри обечайки. В стволе между крепью и обечайкой возникает естественная тяга. Наружный воздух поступает по кольцевому зазору в нижнюю часть ствола и через проходные окна у основания обечайки проходит в зону источников тепла, где и происходит его отбор. Нагретый воздух попадает в фильтр-теплообменник, где очищается и поступает в систему отопления. Отводимое тепло используется для обогрева помещений на поверхности [ ].
В связи с программой демилитаризации России и снятия с эксплуатации около 100 атомных подводных лодок. Северного и Тихоокеанского Военно-морских флотов возникла важнейшая и сложнейшая проблема изоляции от среды обитания высокоактивных зон ядерных реакторов, облученного топлива, реакторных отсеков и оборудования. По данным на август 1993 г. с 34 АЛЛ активные зоны реакторов были выгружены, на плаву остались 60 подлодок с невыгруженным ядерным топливом, что представляет экологическую опасность для окружающей среды не только прибрежных регионов России, но и приграничных стран. Проблема усугубляется тем, что находящиеся ныне в строю АЛЛ постепенно, по мере использования ресурса, будут выводиться из эксплуатации и объемы ВАО будут неумолимо возрастать.
В настоящее время корпуса снятых с эксплуатации подводных лодок разделываются, облученное ядерное топливо выгружается, жидкие РАО перерабатываются. Для хранения и захоронения крупногабаритных неразборных радиационно опасных элементов отечественными учеными и проектантами разработаны предложения по созданию специальных подземных сооружений.
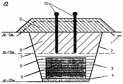
В НИПИ промтехнологии выполнил проект могильника РАО в многолетнемерзлых породах острова Новая Земля. Контейнеры с ВАО предусматривается хранить в шахтных стволах диаметром 8 м глубиной 90 м (рис. 32), а крупногабаритное оборудование (КНРО) – в хранилище-траншее глубиной 20 м (рис. 33).

Рисунок 32. Могильник ВАО шахтного типа в многолетнемерзлых породах:
а – вертикальный разрез ствола шахты; 5 – расположение контейнеров в сечении ствола в зависимости от типоразмеров (1 – контейнеры НЗК 220/1,0, НЗК 400/0,3, 1520×1400 мм; 2 – контейнеры УНЗК 150/1,5П, 1620×1620×1250 мм; 3 – контейнеры металлические 1340×1340×3400 мм; 4 – контейнеры НЗК/0,5 СД = 1400, Н = 1600; 5 – контейнеры металлические 1000x1000x1000 мм); в–схема расположения датчиков температур в трубном канале и наблюдательной скважине могильника шахтного типа (1 – крепь устья ствола; 2 – крепь ствола; 3 – контейнеры с РАО; 4 – бетонная отдушка; 5 – засыпки породой устьевой части ствола; 6–защитный слой из литого бетона; 7 – защитный породный слой; ТК – трубный канал; НС–наблюдательная скважина; • – места установки датчиков температур)
Профессор О.Л. Кедровский и канд.техн.наук С.А. Чесноков разработали научно-техническое предложение (Hill) и рассматривают его как альтернативу другим решениям проблемы захоронения ВАО в виде крупногабаритных элементов АЛЛ ВМФ.
По этому Hill в прибрежных массивах скальных горных пород тоннелепроходческими буровыми машинами роторного типа (ТБМ) проходятся вскрывающие выработки и основные, предназначенные для захоронения ВАО, тоннели (рис. 34) [59]. Хранилище на глубине до 500 м выполняется в виде трех прямолинейных параллельнопройденных круглого сечения слабонаклонных тоннелей (1:7–1:15) диаметром 12 м. Вскрывающий пионерный тоннель и вспомогательный многофункциональный тоннель проходят диаметром 4 м.
Подземный комплекс вскрывается также двумя вертикальными стволами. Основной ствол диаметром 9 м проходится бурением сверху вниз, второй (вспомогательный) диаметром 6 м может быть пройден бурением снизу вверх, если будет подход к его основанию из поперечной камеры. Кроме тоннелей круглого сечения, проходят две поперечные технологически необходимые камеры. Длина трех тоннелей для захоронения ВАО равна примерно 5 км. Объем извлекаемой породы при сооружении долговременного хранилища 1100 тыс. м .
Крупногабаритные элементы разделанных подводных лодок упаковываются в транспортные контейнеры и спускаются в основные тоннели для захоронения.
Горные породы, вмещающие выработки хранилища, для упрочнения и повышения их непроницаемости подвергаются предварительной цементации, а в местах повышенной трещиноватости – цементации совместно с глинизацией.


Рисунок 33 - Схемы хранилища-траншеи КНРО в многолетнемерзльгх горных породах (а) и расположения трубных каналов для размещения датчиков (б):
1 – граница сезонного оттаивания; 2 – борта траншеи; 3 – рабочий объем могильника; 4 – бетонная подушка; 5 – крупногабаритное неразборное радиационноопасное оборудование (КНРО); 6–инженерный барьер; 7 – верхняя граница пород с нулевыми амплитудами колебаний отрицательных температур; 8 – засыпка траншеи грунтом; 9 – технологический навал пород над засыпанной грунтом траншеей; 10 – сезонно-охлаждающие установки (СОУ); 11 – противофильтрационный экран из бентонитового цемента; 12 – рабочий объем могильника; 13 – засыпка траншеи грунтом; 14 – водоизолирующий экран из литого бетона; 15 – защитный экран из уплотненной породы; 16–изолирующая стенка; 17– траншея; ТК–трубные каналы

Риcунок 34 - Принципиальное конструктивно-компоновочное решение долговременного хранилища РАО в прибрежном массиве:
1 –морская акватория; 2 – вскрывающий слабонаклонный прямолинейный тоннель; 3 – основной вертикальный ствол диаметром 9 м; 4 – вспомогательный ствол диаметром 6 м; 5 – поперечные камеры для перемещения буровых машин и подачи крупногабаритных элементов РАО, б–основные предназначаемые для захоронения РАО тоннели диаметром до 12 м; 7– пионерные тоннели диаметром до 4 м; 8–направление проходки буровыми машинами, 9 – вспомогательный многофункциональный тоннель диаметром до 4 м; 10 – бентонитовая гидротермоизоляция; 11 – крупногабаритный элемент захоронения РАО
После расположения в тоннеле контейнеров с ВАО выполняется герметизация: между крепью выработки и наружной оболочкой контейнера размещается бентонитовая закладка, которая служит надежным гидротермоизоляционным барьером.
После полной загрузки хранилища и выполнения гидротермоизоляции контейнеров с ВАО авторы предлагают осуществлять в основных тоннелях полувековой мониторинг из вспомогательного многофункционального тоннеля, расположенного ниже основных тоннелей. Авторы утверждают, что использование их предложения создаст экологически равновесную систему: хранилище ВАО в пройденных бурением слабонаклонных тоннелях, изолированных от вмещающих горных пород бентонитовой
гидротермоизоляцией. Полная, изоляция хранилища от биосферы обеспечивается "заливкой бетоном всех проходов". Авторы считают, что их НТП "является альтернативным техническим решением проблемы захоронения ВАО и может занять достойное место среди высоких технологий XXI века" [ ].
Институтом ВНИПИЭТ (Санкт-Петербург) разработаны концептуальные положения создания регионального центра по обращению с радиоактивными отходами Ленинградской области и Санкт-Петербурга. В основу разработки положен принцип поэтапной реализации пяти технологических стадий:
сбор и сортировка РАО;
кондиционирование отходов (переработка и упаковка);
временное хранение кондиционированных РАО;
транспортировку РАО от мест их образования и кондиционированных отходов;
окончательное удаление (захоронение) РАО.
При сборе и сортировке жидких (ЖРО) и твердых (ТРО) отходов их разделяют по различным категориям и группам. Каждая категория и группа отличается от других параметрами, пригодностью для переработки по определенным принятым технологиям и способом подготовки для последующего хранения и захоронения.
При кондиционировании объем РАО минимизируется, форма стабилизируется и они размещаются в радиационно защитной упаковке, пригодной для последующего безопасного хранения. Кондиционированные РАО помещаются во временные хранилища, обеспечивающие их безопасную изоляцию до перемещения для захоронения. Временные хранилища имеют постоянный радиационный контроль, наблюдение и обслуживание.
Транспортировка РАО производится в специальных радиационных упаковках с надежным контролем.
Окончательная изоляция кондиционированных отходов-обеспечивается размещением их в инженерных сооружениях приповерхностного и подземного типов. Захоронение не предусматривает последующего извлечения РАО, постоянного радиационного контроля, наблюдения и обслуживания. Однако в могильниках
на определенный срок сохраняются контрольно-наблюдательные и информационно-предупредительные системы, особенно на период заполнения.
В Санкт-Петербурге и Ленинградской области находится большое количество поставщиков РАО: Ленинградская АЭС (г. Сосновый Бор) с четырьмя энергоблоками РБМК-1000 (образует до 80 % всех твердых отходов в регионе); спецкомбинат "Радон" (накопил более 50 тыс. м3 РАО, в основном это ТРО ЛАЭС); исследовательские ядерные реакторы, сотни промышленных предприятий, НИИ и медицинских учреждений, использующих изотопы.
Усредненный годовой объем отвержденных и твердых РАО предприятий региона составляет в настоящее время более 3,5 тыс. м3/год, а в ближайшем будущем прогнозируется увеличение объема более чем в 2 раза.
Самый большой объем РАО, образующихся в процессе эксплуатации ЛАЭС, составляют жидкие отходы (ЖРО). На ЛАЭС более 15 лет кубовые остатки от упаковки ЖРО битумируются. Битумный компаунд объемом более 1000 м3 временно хранится в железобетонных отсеках на поверхности земли при станции.
Твердые отходы ЛАЭС и других поставщиков региона временно хранятся в железобетонных хранилищах на площадке ЛСК "Радон".
"Радон" после усреднения и выдержки ЖРО упаривает и битумирует, битумный компаунд хранится в наземном бетонном хранилище. Горючие ЖРО и ТРО сжигаются, золу фиксируют жидким стеклом и направляют в хранилище ТРО. Негорючие ТРО сваливают в хранилище траншейного типа (наземные или полузаглубленные) в зависимости от уровня активности (I группа + II группа; III группа). Хранилища закрывают бетонными плитами. Эти хранилища, построенные, в основном, по проектам 60-х годов, расположены в неблагополучных геолого-гидрогеологических условиях.
Учитывая сложившуюся обстановку, ВНИПИЭТ предложил создать на базе ЛСК "Радон" Северо-Западный региональный центр по обращению с РАО, состоящий из двух комплексов:
инженерно-технологического комплекса по сбору и кондиционированию (переработка и упаковка всех РАО региона, за исключением ЖРО ЛАЭС и новой АЭС НП-500, перерабатываемых на месте их образования) и временному хранению РАО;
региональной площадки захоронения и (или) долговременного хранения РАО, образующихся на предприятиях региона
Основные объемы РАО Северо-Западного региона составляют отходы низкого и среднего уровней активности, которые можно захоранивать в приповерхностные или подземные сооружения в соответствии с действующими нормативами. Высокоактивные и другие долгоживущие РАО предлагается временно хранить в комплексе подземных сооружений, где захораниваются долгоживущие НАО и САО.
Для сооружения подземного хранилища кондиционированных РАО выбрана толща синих глин нижнего кембрия в месте их выхода на дневную поверхность вблизи Балтийско-Ладожского уступа (глинта). Мощность глин 100 и более метров. Рельеф района позволяет осуществить строительство подземного хранилища проходкой в центре залегания синих глин вертикального основного технологического ствола и размещением камер хранения и захоронения непосредственно в глине. Необычна конструкция подземных выработок. Рекомендуется строительство сооружения спирального типа, выполняющего функции и могильника и хранилища. Часть камер используется для захоронения короткоживущих отходов, а другая часть – для временного хранения долгоживущих РАО. Над технологическим стволом размещается производственный корпус, где осуществляются основные подготовительные операции с поступающими упаковками (прием, паспортный и радиационный контроль, буферное хранение, классификационная сортировка их на коротко- и долгоживущие, формирование 2-х транспортно-технологических потоков (упаковок, требующих дистанционного обслуживания, и не требующих), доставка их в могильник или в долговременное хранилище и другие операции.
Подземный комплекс представляет собой горную выработку с герметичной тоннельной обделкой диаметром 5,63 м, расположенную в горизонтальной плоскости в виде спирали с начальным радиусом 200 м и прямыми вставками длиной 90 м (рис. 35). Расстояние между витками спирали составляет по оси 15 м. С наземным производственным корпусом подземный комплекс соединен технологическим шахтным стволом диаметром 6 м в чугунной обделке, оборудованным подъемной установкой.

Рисунок 35. Подземное хранилище радиоактивных отходов (спиральный вариант):
1 – распределительный тоннель; 2 – технологический ствол; 3 – транспортный технологический тоннель; 4 – хранилище источников ионизирующих излучений; 5 – лаборатория; 6–участок возможного продолжения строительства; 7 – отсеки для захоронения РАО
Кроме технологического, предусматривается строительство шахтных стволов диаметром около 6 м; одного вентиляционного и двух рабочих (строительных), все в чугунной обделке (на рисунке не показаны).
Первый виток спирали замкнут и является транспортным тоннелем, обслуживающим подземное сооружение полностью в течение всего периода его эксплуатации. Все остальные витки используются для размещения РАО.
Каждый технологический виток разделен на части поперечными распределительными тоннелями из монолитного железобетона и по радиусу под определенным углом дополнительно заглушен герметичными пробками, разделяющими тоннель на отсеки под соответствующие виды захораниваемых (хранящихся) отходов. Распределительный тоннель используется как транспортный, а также для целей вентиляции подземного сооружения. Подземный комплекс имеет 3 таких тоннеля. Заглушки делят подземное сооружение на 2 части: сегмент, функционирующий как хранилище, и основную часть – могильник РАО.
Пусковой комплекс, рассчитанный на 5-летнее поступление РАО, состоит из первого транспортного витка, 6-ти последующих технологических витков спирали и 3-х распределительных тоннелей. Общая длина тоннеля первой очереди (пускового комплекса) составляет 10,7 км, а суммарная – около 55 км. Сооружение тоннеля (всех 7 витков спирали) в сборной железобетонной обделке диаметром 5,63 м, обжимаемой на породу, производится с использованием одного механизированного щита.
В качестве основных несущих конструкций максимально используются сборные типовые прогрессивные железобетонные тоннельные и станционные обделки, имеющие широкое применение при строительстве Санкт-Петербургского метрополитена, элементы которых освоены в производстве.
Другим вариантом подземного хранилища/могильника РАО в синих глинах является концептуальный проект, разработанный в 1997 г. в рамках проекта Tacis финской фирмой IVО РЕ LTD в консорциуме с французской фирмой SGH и английской фирмой АЕА Tecnology при участии ВНИПИЭТ и Ленметрогипротранс.

Рисунок 36 - Могильник радиоактивных отходов специализированного комбината "Радон"
Отличительной особенностью данной конструкции подземного сооружения является использование в качестве помещений для захоронения РАО горных выработок по типу односводчатой станции Санкт-Петербургского метрополитена длиной 101,2 м, шириной 25,03 м и высотой 13,26 м.
Обделка свода и других элементов подземных сооружений выполнена из серийных конструкций, изготавливаемых на специализированном предприятии.
Подземный комплекс выполняется в виде двух петель горной выработки диаметром 8,5 м, являющихся центральным транспортным тоннелем, и параллельно расположенных по обе стороны от внешнего контура станционных выработок, предназначенных для размещения РАО (рис. 36)
Подземное сооружение связано с поверхностью земли горизонтальным транспортным тоннелем диаметром 5,6 м, протяженностью 300 м (с отметки +70 м до отметки +40) и двумя вертикальными шахтными стволами (строительным и вентиляционным) диаметром 6 м.
Отвержденные РАО подразделяют по активности на 3 типа: ТРО I типа – до 10-5 Ku/л; ТРО II типа – от 10-5 Ku/л до 1 Ки/л; ТРО III типа – от 1 Ku/л и выше.
Один из вариантов размещения отходов РАО Ш типа в подземной камере станционного типа представлен на рис. 37 [36–39].
Рекомендация для Вас - Логическая структуризация сети с помощью мостов.
В региональном хранилище-могильнике низко и среднеактивные РАО будут храниться в контейнерах 300 лет – время, в течение которого они опасны для среды обитания человека (биосферы). Могильник будет иметь минимальный обслуживающий персонал, он должен функционировать и без присутствия персонала
ТРО I и II типов захораниваются окончательно, ТРО III типа размещается на длительное хранение. Камеры могильника герметичные, сухие. Возможные протечки воды контролируются специальными системами. Все внутренние конструкции камер для РАО выполняются из монолитного или сборного железобетона. Стальные ящики с РАО перемещаются в могильнике аккумуляторными тележками, контейнеры с битумированными и ящики с цементированными отходами – мостовыми кранами грузоподъемностью 6,3 т с дистанционным управлением; бетонные ящики типа "100" –мобильным краном 20 т; бетонные ящики типов "200" и "300" - козловым или мобильным краном 20 т.

Рисунок - 37 Размещение высокоактивных отходов:
1 – хранилище (типа силосной ямы) контейнеров с тепловьщеляющими сборками, 2 – кран 20 т, 3 – бетонные контейнеры типов "200" и "300" для РАО 3 группы, 4–контейнеры α - излучающих источников





















