Лекция 14
Лекция 14.
План:
1. Принцип работы лазерного гироскопа;
2. Волоконно-оптические гироскопы.
§5.14.1. Принцип работы лазерного гироскопа.

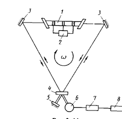
Подробнее принцип работы поясним на примере простейшей схемы лазерного ДУС, оптический контур которого - треугольный. На рис. 6 показаны КОКГ, содержащий трубку 1 с активным веществом газовой рабочей смесью, которая возбуждается от генератора накачки 2 высокочастотным (частотой несколько десятков мегагерц) или постоянным (напряжением тысячи вольт) током, и собственно кольцевой резонатор, включающий два непрозрачных зеркала 3 и одно полупрозрачное зеркало 4. Активная смесь порождает в резонаторе индуцированное излучение вследствие перехода атомов неона (Ne) с высоких (возбужденных генератором накачки) на низкие энергетические уровни. Это становится возможным, если коэффициент усиления в активной среде превышает коэффициент потерь, а длина волны когерентного излучения целое число раз укладывается по периметру резонатора. Возникающие при этом электромагнитные колебания (обычно с длиной волны, примерно равной 0,63 мкм) выходят из торцев трубки 1 и распространяются в противоположных направлениях к непрозрачным зеркалам 3. Отраженные лучи с помощью полупрозрачного зеркала 4 выводятся за пределы контура, и с помощью дополнительного непрозрачного зеркала 5 направления их распространения совмещаются. Лучи попадают на фотокатод фотоэлектронного умножителя 6, где интерферируют друг с другом, создавая интерференционные полосы.
Вращение корпуса лазерного гироскопа с угловой скоростью
, вектор которой перпендикулярен к плоскости контура, приводит к тому, что интерференционные полосы начинают перемещаться относительно фотокатода со скоростью вращения корпуса. Это обстоятельство связано с тем, что при вращении вследствие появления разности времен хода лучей, распространяющихся по оптическому замкнутому контуру в противоположных направлениях, появляется и разность их хода, т.е. как бы разность длин периметра резонатора, по которому они распространяются. При генерации в КОКГ длины волн должны уложиться в теперь уже разных периметрах одинаковое целое число раз, поэтому эти длины, а следовательно, и частоты электромагнитных колебаний при наличии
становятся разными; появляется разность частот
(частота биений), что приводит к смещению интерференционных полос. Перемещение на один шаг между интерференционными полосами соответствует изменению фазы биений на
радиан. На выходе фотоэлектронного умножителя 6 появляется электрический сигнал с разностной частотой
. После усиления этот сигнал поступает на частотомер 7 и регистрируется устройством 8.
Возможна иная физическая интерпретация принципа работы лазерного ДУС. В КОКГ при наложении бегущих волн, направленных встречно, образуются стоячие волны. Местоположение их узлов и пучностей относительно резонатора является неопределенным и не зависит от его углового положения. При вращении резонатора относительно инерциального пространства стоячие волны остаются неподвижными, что следует из постулата постоянства скорости света и принципа относительности. Смещение интерференционных полос по фотокатоду с частотой
можно интерпретировать как результат поворота резонатора относительно неподвижной картины стоячих волн.
Рекомендуемые материалы
Аналитическая зависимость между измеряемой угловой скоростью и разностью частот
излучений, распространяющихся встречно по контуру, для заданных конструктивных параметров устройства (частоты излучений
при
, периметра контура
и ограниченной им площади
) может быть получена из анализа принципа работы идеализированного лазерного ДУС с круговым контуром. Поскольку по длине периметра
резонатора должно укладываться целое число длин волн, то общее число стоячих волн образующихся в контуре,
. Таким образом, повороту контура на угол
радиан соответствует число стоячих волн
. Тогда повороту контура на элементарный угол
будет соответствовать число стоячих волн

Заметим, что величина
(5.10)
представляет собой, по существу, частоту следования стоячих волн относительно некоторой фиксированной точки замкнутого контура и связана с разностью частот
встречных лучей соотношением
(5.11)
Используя зависимости (5.10) и (5.11) и учитывая, что для кругового контура
, после преобразований получим
(5.12)
Формула (5.12) справедлива не только для кругового контура, но и для плоского замкнутого контура любой конфигурации.
Если вектор угловой скорости
направлен под некоторым углом
к перпендикуляру, опущенному на плоскость контура, то формула (5.12) принимает вид
(5.13)
Следовательно, измерительной осью прибора является ось, нормальная к плоскости контура. Комбинация трех плоских лазерных ДУС в один блок с ортогональной ориентацией измерительных осей позволяет получить трехкомпонентный измеритель угловой скорости. Целесообразно отметить, что ЛГ можно использовать и в интегрирующем режиме, т.е. в режиме измерителя углов поворота основания. Перепишем формулу (5.12) в виде
,
где
- фаза биений;
- угол поворота прибора вокруг измерительной оси.
Очевидно, что

Таким образом, о приращении угла поворота можно судить по числу периодов (полупериодов) биений (периодов колебаний электрического сигнала с разностной частотой
).
Лазерные гироскопы обладают рядом существенных преимуществ по сравнению с традиционными. Это, прежде всего: отсутствие каких-либо механических вращающихся элементов, а, следовательно, они свободны от погрешностей, обусловленных моментами сил трения, неуравновешенности; высокая надежность и способность устойчиво работать в условиях значительных перегрузок; относительно малая потребляемая мощность (единицы ватт); их практически мгновенная (доли секунды) готовность к работе. Весьма важным преимуществом ЛГ является дискретность выходного сигнала измерительной информации, что позволяет использовать этот сигнал без дополнительных преобразований в ЭВМ. Кроме того, ЛГ могут работать в широком динамическом диапазоне, что делает возможным их применение в бесплатформенных навигационных системах.
Наряду с преимуществами ЛГ необходимо указать ряд их недостатков и специфических проблем, с которыми пришлось столкнуться при разработке. Одна из наиболее сложных проблем связана с так называемым эффектом "захвата" или синхронизации частот колебаний, распространяющихся в рабочем контуре в противоположных направлениях. "Захват" частот при малой их расстройке обусловлен взаимным рассеиванием каждой волны в направлении распространения встречной при отражении от зеркал и других оптических элементов. В результате этого явления при малых измеряемых скоростях вращения частоты обоих лучей оказываются одинаковыми, и разностная частота
равна нулю, что предопределяет наличие порога чувствительности прибора.
В основе другой проблемы - нестабильность масштабного коэффициента
ЛГ, допустимое значение которого составляет
. Причиной нестабильности масштабного коэффициента является изменение периметра резонатора, например из-за температурных колебаний, но главным образом эта нестабильность порождается нестабильностью коэффициента преломления оптической среды. Активная среда уменьшает расстройку частот
по сравнению с той, которая была бы в "пустом" резонаторе (эффект затягивания частот). Учет влияния аномальной дисперсии активной среды показывает, что ее относительное влияние наиболее существенно при малой частоте биений
. Решение указанных проблем обеспечивается различными путями. Так, например уменьшения зоны "захвата" добиваются доведением до минимума рассеяния на зеркалах, глубоким вакуумированием тракта, по которому распространяются лучи. Кроме того, зона "захвата" уменьшается при увеличении периметра, охватываемого лучами, а также при уменьшении длины волны используемого излучения. Сужение зоны "захвата" путем увеличения периметра резонатора ограничивается конструктивными требованиями массогабаритных характеристик. Выбор длины
рабочей волны ограничивается значениями, при которых возможна генерация.
Постоянство оптического пути резонатора обеспечивается использованием монолитной конструкции из материалов с малым температурным коэффициентом линейного расширения, таких как ситал и др. Принципиальным решением проблемы "захвата", одновременно способствующим уменьшению влияния эффекта затягивания частот, является смещение рабочей точки ЛГ из зоны захвата, например введением дополнительного вращения (равномерного или реверсивного) резонатора вокруг измерительной оси, либо другими методами, в которых реализуется невзаимность показателя преломления для противоположно направленных лучей (на основе магнитооптических эффектов Фарадея, Керра и др.).
Повышение стабильности масштабного коэффициента достигается главным образом регулированием длины оптического пути (периметра резонатора) обычно на основе схем экстремального регулирования таким образом, чтобы обеспечивалось получение максимальной мощности излучения.
Лазерный гироскоп, как уже отмечалось, обладает относительно широким диапазоном измерения. Теоретическое значение верхнего предела этого диапазона определяется шириной полосы пропускания кольцевого резонатора, а нижнего - нестабильностью частоты генерируемых колебаний. Смещение и дрейф нулевого сигнала обусловлены различием коэффициентов преломления среды для встречных лучей вследствие движения среды внутри резонатора (эффект Френеля - Физо), движения атомов в активной среде (эффект Лэнгмюра), эффекта Фарадея и др. Кроме того, смещение нуля может быть вызвано анизотропным рассеянием, невзаимными эффектами насыщения в активной среде, рассеянием на неоднородностях резонатора и др. Случайный дрейф ЛГ составляет
. В настоящее время работы по совершенствованию ЛГ продолжаются.
§5.14.2. Волоконно-оптические гироскопы
В 1975 г. в США были начаты исследования в области волоконно-оптических гироскопов (ВОГ), которые по оценке специалистов будут в 5 - 10 раз дешевле и в несколько раз меньше по объёму в массе, чем существующие механические и лазерные гироскопы сравнимой точности. Уже в 1982 т. в лабораторных условиях получена приемлемая для ряда приложений чувствительность ВОГ к угловой скорости – 0.1 - 1 град/ч.
Принцип действия оптического гироскопа основан на "вихревом” эффекте Саньяка, который он экспериментально продемонстрировал в 1913 г. Сущность "вихревого" эффекта заключается в следующем. Если в замкнутом оптическом контуре в противоположных направлениях распространяются два световых луча, то при вращении контура вокруг оси, перпендикулярной к плоскости контура, с угловой
скоростью
разность фаз
двух встречных световых лучей, прошедших весь контур, пропорциональна угловой скорости
контура:
(5.14)
где
- площадь замкнутого контура;
- длина волны светового луча;
- скорость света.
В ВОГ замкнутый контур образован многовитковой катушкой оптического волокна. При этом
(5.15)
|
|
где
- число витков;
- площадь витка контура.
Принципиальная схема ВОГ:
1 - лазерный диод;
2 - светоделитель;
Если Вам понравилась эта лекция, то понравится и эта - Особенности психологической подготовки спасателей.
3 - волоконный контур;
4 - фотодетектор;
5 - электронное устройство обработки
Принципиальная схема ВОГ показана на рис.7. В качестве источника излучения применен лазерный диод. Излучение подаётся на светоделитель и разделяется на два луча. Эти лучи, обойдя замкнутый контур из оптического волокна, объединяются на светоделителе и подаются на фотодетектор и далее на электронное устройство обработки, с которого можно получить электрический сигнал, пропорциональный угловой скорости со
, а если этот сигнал проинтегрировать, то и сигнал, пропорциональный углу поворота замкнутого контура,
(5.16)
В типичных экспериментальных конструкциях ВОГ используется катушка оптического волокна радиусом 10 см при длине волокна 500 м. Вращение такого контура со скоростью 1 град/ч приводит к появлению, разности фаз порядка
рад.























