Для студентов МГТУ им. Н.Э.Баумана по предмету Теория механизмов и машин (ТММ)Проектирование и исследование механизмов четырехтактного двигателя внутреннего сгоранияПроектирование и исследование механизмов четырехтактного двигателя внутреннего сгорания
4,44591
2013-08-212025-04-07СтудИзба
Курсовая работа 14: Проектирование и исследование механизмов четырехтактного двигателя внутреннего сгорания вариант Г
-50%
Описание
Проектирование и исследование механизмов четырехтактного двигателя внутреннего сгорания
Реферат
Расчетно-пояснительная записка к курсовому проекту «Проектирование и исследование механизмов четырехтактного двигателя внутреннего сгорания» содержит 32 листа машинописного текста включающие 3 рисунка и 7 таблиц, так же имеется 5 листов приложения. К записке прилагается 4 листа формата А1 на которых произведены графические построения с соответствии с данными указанными в записке.В записке описаны следующие этапы проектирования:
- Проектирование основного механизма двигателя и определение его закона движения.
- Силовой расчет основного механизма двигателя с учетом динамических нагрузок.
- Проектирование зубчатой передачи и планетарного механизма.
- Проектирование кулачкового механизма впускного клапана.
Содержание
- Техническое задание. 5
- Краткое описание работы механизмов двигателя 5
- Исходные данные. 7
- Проектирование основного механизма двигателя и определение его закона движения. 8
- Определение основных размеров механизма по заданным условиям. 8
- Выбор масштаба и построение механизма. 8
- Построение индикаторной диаграммы графика сил. 8
- Определение кинематических параметров механизма. 8
- Построение графика приведенных моментов инерции второй группы звеньев. 9
- Построение графика приведенных моментов движущих сил. 11
- Построение графика работы. 11
- Построение графика кинетической энергии первой группы звеньев. 12
- Силовой расчет механизма. 15
- Исходные данные для силового расчета. 15
- Определение скоростей точек и угловых скоростей звеньев механизма. 15
- Определение ускорений точек и угловых ускорений звеньев механизма. 16
- Определение главных векторов и главных моментов сил инерции 16
- Определение сил в кинематических парах механизма 17
- Проектирование зубчатой передачи и планетарного механизма. 19
- Проектирование зубчатой передачи. 19
- Исходные данные. 19
- Выбора коэффициентов смещения. 19
- Геометрический расчет эвольвентной зубчатой передачи. 20
- Построение станочного зацепления. 21
- Построение зубчатой передачи. 22
- Проектирование двухрядного планетарного редуктора внутреннего зацепления. 23
- Исходные данные. 23
- Выбор числа зубьев колес планетарного редуктора. 23
- Проектирование зубчатой передачи. 19
- Проектирование кулачкового механизма впускного клапана. 26
- Исходные данные. 26
- Построение кинематических диаграмм. 26
- Определение начального радиуса кулачка с учетом допустимого угла давления. 27
- Построение профиля кулачка. 27
- Построение диаграммы угла давления. 28
- Приложение 29
- Приложение 1: Программа расчета кинематических параметров механизма и приведенных моментов инерции звеньев механизма. 29
- Приложение 2: Таблица идентификаторов программы ZUB.EXE и результаты расчета. 31
- Заключение 34
- Список литературы 35
Техническое задание
Краткое описание работы механизмов двигателя
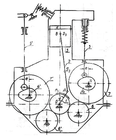
Четырехтактный двигатель внутреннего сгорания служит в качестве привода электрогенератора. Основной механизм двигателя - кривошипно-ползунный, состоящий из трех подвижных звеньев: 1—коленчатый вал, 2—шатун, 3 - поршень. Вал электрогенератора связан с коленчатым валом. Цикл работы четырехтактного двигателя совершается за два оборота коленчатого вала.

Фазы индикаторной диаграммы
1-6 Всасывание
6-12 Сжатие
12-18 Расширение
18-24 Выхлоп
Значения давления в цилиндре двигателя в долях максимального давления в зависимости от положения поршня
Путь поршня (в долях хода) | 0 | 0.05 | 0.0665 | 0.1 | 0.2 | 0.3 | 0.4 | 0.5 | 0.6 | 0.7 | 0.8 | 0.9 | 1 |
Всасывание | 0 | -0,01 | -0,01 | -0,01 | -0,01 | -0,01 | -0,01 | -0,01 | -0,01 | -0,01 | -0,01 | -0,01 | -0,01 |
Сжатие | 0,46 | 0,31 | 0,28 | 0,245 | 0,17 | 0,104 | 0,066 | 0,038 | 0,02 | 0,01 | 0,01 | 0 | -0,01 |
Расширение | 0,46 | 0,9 | 1 | 0,85 | 0,56 | 0,4 | 0,31 | 0,245 | 0,2 | 0,16 | 0,12 | 0,097 | 0,047 |
Выхлоп | 0 | 0,01 | 0,01 | 0,01 | 0,01 | 0,01 | 0,01 | 0,01 | 0,01 | 0,01 | 0,01 | 0,01 | 0,047 |

Исходные данные
Параметр | обозначение | Значение в системе МКГСС | Значение в системе СИ |
Средняя скорость поршня | Vср. | 3,7 м/с | 3,7 м/с |
Число оборотов коленчатого вала | n1 | 700 об/мин | 11,67 1/с |
Отношение длины шатуна к длине кривошипа | LAB/LOA | 4 | 4 |
Положение ц. т. звена 2 и 2¢ | LAS2 /LAB | 0,38 | 0,38 |
Диаметр цилиндра | d | 0,15 м | 0,15 м |
Максимальное давление в цилиндре | Pmax | 30 кГ/см2 | 2,943М Па |
Вес шатуна | G2 | 11 кГ | 107.91Н |
Вес поршня. | G3 | 18 кГ | 176,58Н |
Момент инерции шатуна относительно оси, проходящей через его ц. т. | 0,041 кГ·м·с2 | 0,402 кг*м2 | |
Коэффициент неравномерности вращения вала I | d | 1/100 | 1/100 |
Момент инерции вращающихся деталей, приведённый к валу кривошипа | | 0,5 кГ·м·с2 | 4,905 кг*м2 |
Закон изменения ускорения толкателя (рис. 14-3) | - | Б | Б |
Величина подъёма толкателя впускного клапана | h | 0,007 м | 0,007 м |
Угловая координата кривошипа для силового расчёта | | 60 град | 60 град |
Число зубьев колёс 6 и 7 | Z6 | 13 | 13 |
Z7 | 26 | 26 | |
Модуль колес 6 и 7 | m | 5 мм | 5 мм |
Угол наклона зубьев | | 15 град | 15 град |
Угол поворота кулачка, соответствующий дальнему стоянию толкателя | | 5 град | 5 град |
Внеосность толкателя кулачкового механизма | e | 0,004 м | 0,004 м |
Максимально допустимый угол давления в кулачковом механизме | [υ] | 30 град | 30 град |
Рабочий угол профиля кулачка впускного клапана | | 125 град | 125 град |
Параметры исходного контура реечного инструмента | a | 20 град | 20 град |
ha* | 1 | 1 | |
c* | 0,25 | 0,25 |
Чертежи
Лист 1 - Определение закона движения ![]()
Лист 2 - Силовой расчет ![]()
Лист 3 - Проектирование зубчатой передачи ![]()
Лист 4 - Проектирование кулачкового механизма ![]()
Характеристики курсовой работы
Учебное заведение
Семестр
Номер задания
Вариант
Просмотров
3239
Качество
Идеальное компьютерное
Размер
892,08 Kb
Список файлов
Проектирование и исследование механизмов четырехтактного двигателя внутреннего сгорания
РПЗ.doc
Чертежи.dwg
Чертежи.frw

Вам все понравилось? Получите кэшбэк - 40 рублей на Ваш счёт при покупке. Поставьте оценку и напишите положительный комментарий к купленному файлу. После Вы получите деньги на ваш счет.
Комментарии

Отзыв
Есть множество недочетов, пришлось много исправлять. Но очень помогло, что многие расчеты очень подробно расписаны.