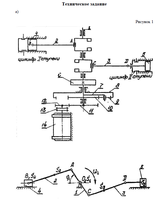
Для студентов МГТУ им. Н.Э.Баумана по предмету Теория механизмов и машин (ТММ)Проектирование и исследование механизмов двухцилиндрового поршневого компрессора (вариант №62А)Проектирование и исследование механизмов двухцилиндрового поршневого компрессора (вариант №62А)
4,8858700
2021-05-212021-05-21СтудИзба
Другое 62: Проектирование и исследование механизмов двухцилиндрового поршневого компрессора (вариант №62А) вариант А
Описание




Характеристики учебной работы
Тип
Учебное заведение
Семестр
Номер задания
Вариант
Просмотров
38
Размер
5,35 Mb
Список файлов
Проектирование и исследование мех-мов двухцилиндр
Определение закона движения механизма.pdf
Проектирование кулачкового механизма.pdf
Проектирование цилиндрической передачи.pdf
РПЗ.pdf
Силовой анализ механизма.pdf

НОВИНКА: отчеты по практикам! Поиск - по названию предприятия в тэге. База учебных материалов МГТУ им. Н.Э. Баумана в формате pdf, оригиналы файлов отсутствуют (если иное не оговорено в описании). Вопросы задавайте ДО покупки в комментариях под файлами.