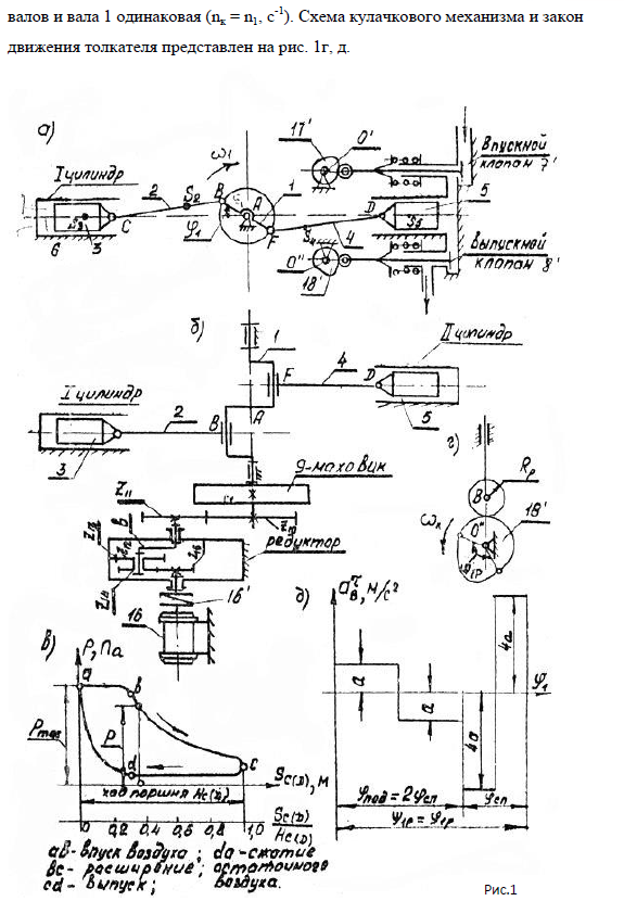
Для студентов МГТУ им. Н.Э.Баумана по предмету Теория механизмов и машин (ТММ)Проектирование и исследование механизмов криогенного поршневого детандера (вариант №104Г)Проектирование и исследование механизмов криогенного поршневого детандера (вариант №104Г)
5,0051
2020-10-052020-10-05СтудИзба
Другое 104: Проектирование и исследование механизмов криогенного поршневого детандера (вариант №104Г) вариант Г
Описание





Характеристики учебной работы
Тип
Учебное заведение
Семестр
Номер задания
Вариант
Просмотров
48
Размер
2,12 Mb
Список файлов
Проектирование и исследование механизмов криогенного поршневого детандера (вариант №104Г)
Определение закона движения.pdf
Проектирование зубчатой передачи.pdf
Проектирование кулачкового механизма.pdf
РПЗ.pdf
Силовой расчет.pdf

НОВИНКА: отчеты по практикам! Поиск - по названию предприятия в тэге. База учебных материалов МГТУ им. Н.Э. Баумана в формате pdf, оригиналы файлов отсутствуют (если иное не оговорено в описании). Вопросы задавайте ДО покупки в комментариях под файлами.