Курсовая работа 93: Курсовая работа 93: Проектирование и исследование механизмов пальцевого транспортера вариант Б вариант Б
Описание
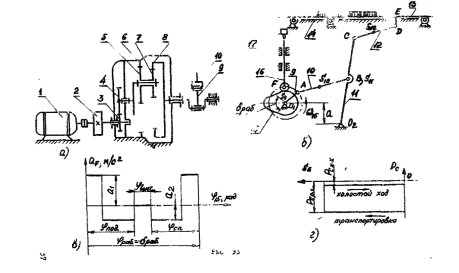
Проектирование и исследование механизмов пальцевого транспортера

ИСХОДНЫЕ ДАННЫЕ
Табл. 1
№ | Наименование параметра | Обозначение | Единица СИ | Численные значения для вариантов |
А | ||||
1 | Частота вращения вала электродвигателя | n1 | c-1 | 15.67 |
2 | Средняя скорость транспортировки отливок (поковок) | Vср | м/с | 0.55 |
3 | Коэффициент изменения скорости холостого хода линейки | Kv | - | 1.20 |
4 | Ход линейки транспортера | H | м | 1.6 |
5 | Размеры звеньев механизма | L02C | м | 1.6 |
L02B | м | 0.7 | ||
LCD | м | 0.85 | ||
LDE | м | 0.2 | ||
a | м | 0.2 | ||
6 | Масса звеньев механизма | m13 | кг | 12.25 |
m12 | кг | 4.1 | ||
m11 | кг | 7.15 | ||
m10 | кг | 4.60 | ||
m9 | кг | 2.05 | ||
7 | Количество перемещаемых отливок | K0 | - | 6 |
8 | Масса одной отливки | m0 | кг | 25.5 |
9 | Относительное положение центров масс звеньев | LAS10/LAB = LCS12/LCD | ------ | 0.5 |
10 | Коэффициент неравномерности вращения вала 9 | δ | - | 0.12 |
11 | Момент инерции ротора электродвигателя | Jрэ | кг*м2 | 0.12 |
12 | Момент инерции звена 9 | J90 | кг*м2 | 0.6 |
13 | Момент инерции деталей редуктора приведенных к звену 9 | Jpпр | кг*м2 | 0.4 |
14 | Угловая координата звена 9 для силового расчета | µ9 | град | 120 |
15 | Приведенный коэффициент трения отливок по лотку | fn | - | 0.12 |
16 | Приведенный коэффициент трения линейки по роликам | fH | - | 0.08 |
17 | Число зубьев колес передачи | Z3 | - | 11 |
Z4 | - | 22 | ||
18 | Угол наклона образующей зубьев | β | град | 10 |
19 | Модуль зубчатых колес | m34 | м | 0.005 |
20 | Число сателлитов в редукторе | k | - | 3 |
21 | Соотношение между ускорениями толкателя | a1/a2 | - | 2.5 |
22 | Ход толкателя кулачкового механизма | h | м | 0.035 |
23 | Угол рабочего профиля кулачка | φраб | град | 160 |
24 | Максимально допустимый угол давления в кулачковом механизме | 𝛩 | град | 25 |
25 | Угол поворота кулачка соответствующий дальнему выстою толкателя | φвыстоя | град | 20 |
МГТУ им. Н.Э.Баумана



















