Для студентов МГТУ им. Н.Э.Баумана по предмету Теория механизмов и машин (ТММ)Проектирование и исследование механизмов поршневого детандераПроектирование и исследование механизмов поршневого детандера
5,0055
2013-08-252025-04-07СтудИзба
Курсовая работа 15: Проектирование и исследование механизмов поршневого детандера вариант Б
-50%
Описание
Проектирование и исследование механизмов поршневого детандера
Аннотация
Расчетно-пояснительная записка к курсовому проекту “Проектирование и исследование механизмов поршневого детандера” содержит 27 страниц машинописного текста, 11 таблиц и 1 рисунок.В расчетно-пояснительной записке описано проведение проектирования основного механизма перемещения поршня детандера, исследовано его движение и определена зависимость угловой скорости в зависимости от угла поворота кривошипа, проведен силовой расчет основного механизма, спроектирована цилиндрическая эвольвентная зубчатая передача, спроектирован планетарный редуктор, спроектирован кулачковый механизм с поступательно движущимся толкателем.
Оглавление
- Аннотация........................................................................................................................................... 2
- Оглавление.......................................................................................................................................... 3
- Техническое задание.......................................................................................................................... 4
- Определение закона движения основного механизма.............................................................. 8
- Определение недостающих размеров механизма........................................................................... 8
- Передаточные функции..................................................................................................................... 8
- График движущих сил....................................................................................................................... 9
- Приведенный момент движущих сил.............................................................................................. 9
- Приведенные моменты инерции II группы звеньев..................................................................... 10
- Кинетическая энергия II группы звеньев....................................................................................... 11
- Работа сил......................................................................................................................................... 11
- Кинетическая энергия I группы звеньев........................................................................................ 12
- Момент инерции I группы звеньев, момент инерции маховика................................................. 13
- Габаритные размеры и масса маховика......................................................................................... 13
- Закон движения механизма............................................................................................................. 13
- Силовой расчёт механизма.......................................................................................................... 15
- Исходные данные............................................................................................................................. 15
- Скорости точек механизма.............................................................................................................. 15
- Ускорения точек механизма........................................................................................................... 16
- Главные векторы и главные моменты сил инерции..................................................................... 17
- Силовой расчёт ................................................................................................................................ 17
- Результаты силового расчета ......................................................................................................... 19
- Проектирование цилиндрической зубчатой передачи и планетарного редуктора.......... 20
- Выбор коэффициента смещения зубчатой передачи................................................................... 20
- Параметры зубчатых колес............................................................................................................. 20
- Планетарный редуктор.................................................................................................................... 20
- Проектирование кулачкового механизма................................................................................. 24
- Исходные данные............................................................................................................................. 24
- Кинематические диаграммы........................................................................................................... 24
- Основные параметры кулачкового механизма............................................................................. 24
- Профиль кулачка ............................................................................................................................. 25
- Диаграмма изменения угла давления............................................................................................. 25
- Результаты расчета.......................................................................................................................... 26
- Заключение....................................................................................................................................... 27
- Список использованной литературы.............................................................................................. 28
- Приложения...................................................................................................................................... 29
Задание №15Б
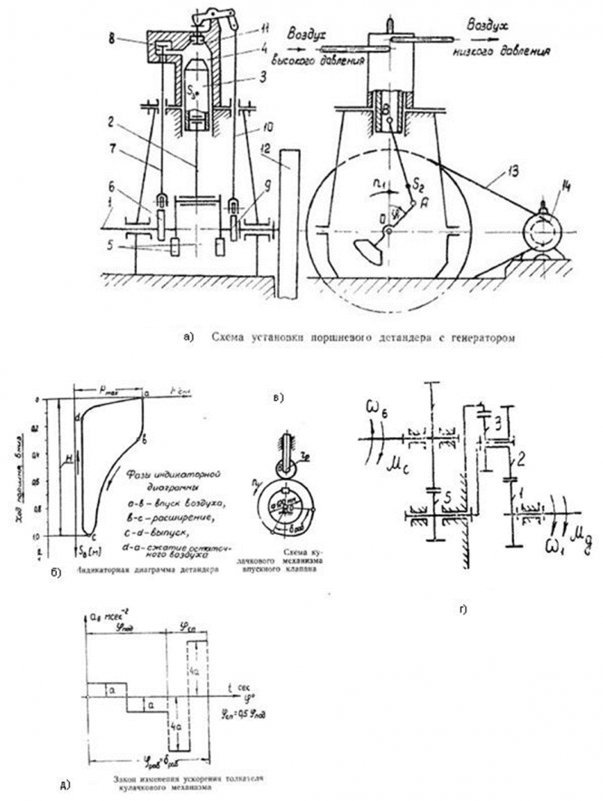
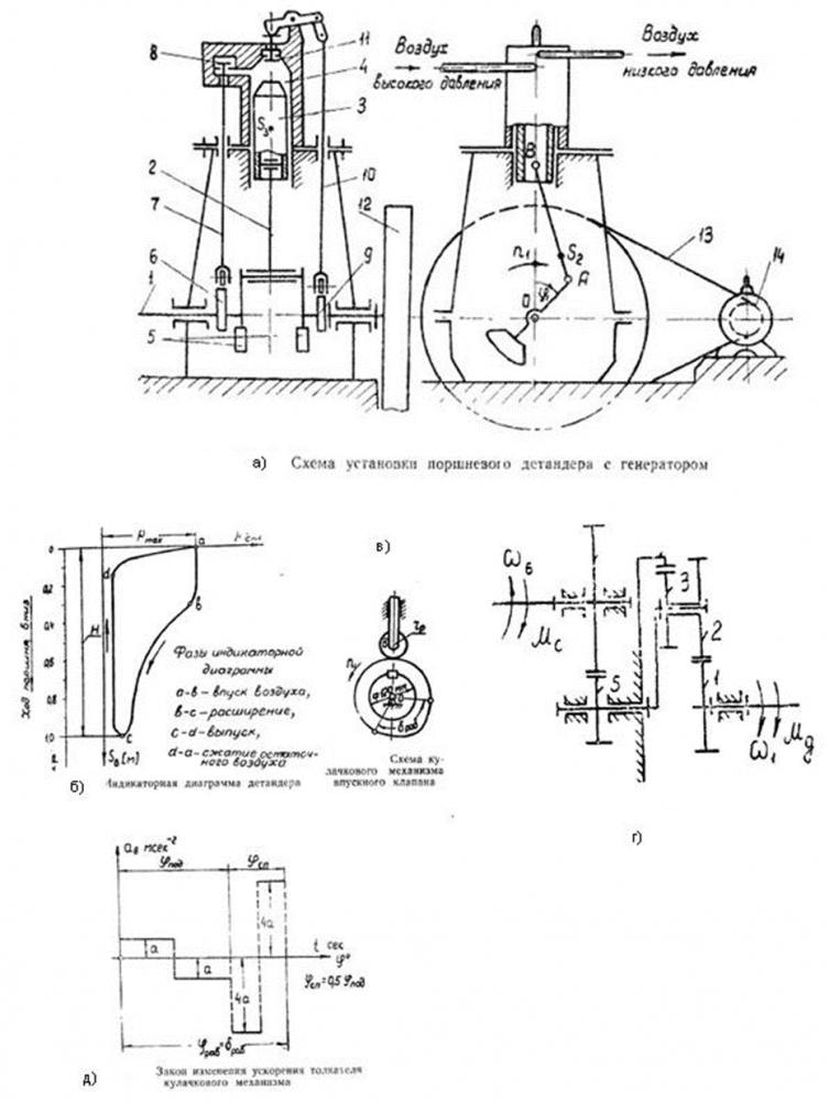
Детандерами называются машины, служащие для создания холода засчет внешней работы, совершаемой расширяющимся газом. Детандеры широко применяются в технике глубокого холода.Детандер высокого давления (рис. 1а) - вертикальная одноцилиндровая машина простого действия. Основным механизмом детандера является кривошипно-ползунный механизм, состоящий из коленчатого вала 1, шатуна 2 и поршня 3. рабочее тело - воздух, сжатый до давления pmax, поступает в цилиндр детандера 4 через впускной клапан 8. При движении поршня вниз сжатый воздух расширяется, производя работу. Рабочий цикл детандера совершается за один оборот коленчатого вала. Изменение давления в цилиндре детандера в зависимости от положения поршня представлено индикаторной диаграммой (рис. 1б), данные для построения которой приведены в табл. 2. рабочее тело удаляется из цилиндра после расширения через выпускной клапан 11. Клапаны открываются принудительно посредством штоков-толкателей 7 и 10. Кулачки впуска 6 и выпуска 9 насажены на коленчатый вал детандера. Схема кулачкового механизма привода впускного клапана изображена на рис. 1в, а закон изменения ускорения толкателя кулачкового механизма - на рис. 1д.
Работа детандера воспринимается генератором электрического тока 14. Маховик-шкив 12, насаженный на коленчатый вал, передает движение шкиву генератора с помощью клиноременной передачи 13. Коленчатый вал снабжен двумя противовесами 5.
Схема планетарного редуктора приведена на рис. 1г.
При проектировании и исследовании механизмов детандера считать известными параметры, приведенные в табл. 1.

Таблица 1 – Исходные данные
| Наименование параметра | Обозначение | Размерность | Значение | Размерность в Си | Значение в Си |
1 | Средняя скорость поршня | | м/сек | 2,53 | м/сек | 2,53 |
2 | Отношение длины шатуна к длине кривошипа | | - | 4,75 | - | 4,75 |
3 | Отношение расстояния от точки А до центра тяжести шатуна к длине шатуна | | - | 0,26 | - | 0,26 |
4 | Диаметр цилиндра | d | м | 0,07 | м | 0,07 |
5 | Число оборотов коленчатого вала | | об/мин | 400 | об/с | 6,67 |
6 | Максимальное давление воздуха в цилиндре | | кГ/см2 | 190 | Па | |
7 | Вес шатуна | G2 | кГ | 24 | Н | 235,44 |
8 | Вес поршня | G3 | кГ | 41 | Н | 402,21 |
9 | Момент инерции шатуна относительно оси, проходящей через его центр тяжести | J2S | | 0,073 | кг×м2 | 0,716 |
10 | Момент инерции коленчатого вала (без маховика) | J10 | | 0,48 | кг×м2 | 4,7 |
11 | Коэффициент неравномерности вращения коленчатого вала | | - | 1/30 | - | 1/30 |
12 | Угловая координата кривошипа для силового расчета (рис. 1) | j1 | град | 60 | град | 60 |
13 | Угол рабочего профиля кулачка | | град | 65 | град | 65 |
14 | Ход толкателя кулачкового механизма | h | м | 0,009 | м | 0,009 |
15 | Максимально допустимый угол давления в кулачковом механизме | | град | 37 | град | 37 |
16 | Числа зубьев колёс 5 и 6 (приложение III-I) | z5 | - | 12 | - | 12 |
z6 | - | 20 | - | 20 | ||
17 | Модуль зубчатых колес 5 и 6 | m | мм | 8 | мм | 8 |
18 | Угол наклона зуба для колес 5 и 6 | | град | 18 | град | 18 |
19 | Параметры исходного контура реечного инструмента | | град - - | 20 1 0,25 | град - - | 20 1 0,25 |
20 | Передаточное значение планетарного редуктора | i16 | - | 15 | - | 15 |
21 | Модуль зубчатых колес планетарного редуктора | m | мм | 1 | мм | 1 |
22 | Число сателлитов в планетарном редукторе | K | - | 4 | - | 4 |
Путь поршня (в долях хода H) | | 0 | 0,05 | 0,1 | 0,2 | 0,3 | 0,4 | 0,5 | 0,6 | 0,7 | 0,8 | 0,9 | 1 |
Давление воздуха (в долях ) | | для хода поршня вниз | |||||||||||
1 | 1 | 1 | 0 | 0,92 | 0,7 | 0,54 | 0,44 | 0,36 | 0,32 | 0,3 | 0,2 | ||
для хода поршня вверх | |||||||||||||
1 | 0,34 | 0,16 | 0,1 | 0,1 | 0,1 | 0,1 | 0,1 | 0,1 | 0,1 | 0,1 | 0,2 |
Чертежи
Лист 1 - Определение закона движения механизма ![]()
Лист 2 - Силовой расчет ![]()
Лист 3 - Проектирование кулачкового механизма ![]()
Лист 4 - Проектирование зубчатой передачи и планетарного редуктора ![]()
Характеристики курсовой работы
Учебное заведение
Семестр
Номер задания
Вариант
Программы
Просмотров
384
Качество
Идеальное компьютерное
Размер
386,05 Kb
Список файлов
Лист (1).cdw
Лист (2).cdw
Лист (3).cdw
Лист (4).cdw
Лист 3.xls
РПЗ.docx

Вам все понравилось? Получите кэшбэк - 40 рублей на Ваш счёт при покупке. Поставьте оценку и напишите положительный комментарий к купленному файлу. После Вы получите деньги на ваш счет.