Главная » Учебные материалы » Теория механизмов и машин (ТММ) » Курсовые работы » МГТУ им. Н.Э.Баумана » 5 семестр » Номер 102 » Вариант Б » Проектирование и исследование механизмов дозировочного сильфонного насоса
Для студентов МГТУ им. Н.Э.Баумана по предмету Теория механизмов и машин (ТММ)Проектирование и исследование механизмов дозировочного сильфонного насосаПроектирование и исследование механизмов дозировочного сильфонного насоса
4,96532323
2025-10-07СтудИзба

Курсовая работа 102: Проектирование и исследование механизмов дозировочного сильфонного насоса вариант Б

-50%

Описание

Проектирование и исследование механизмов дозировочного сильфонного насоса

Реферат

Расчетно-пояснительная записка к курсовому проекту “Проектирование и исследование механизмов горизонтального одноцилиндрового поршневого насоса” содержит 39 страниц машинописного текста, 1 рисунок и 15 таблиц.
В расчетно-пояснительной записке проведено проектирование основного механизма перемещения поршня насоса, исследовано его движение и определено время цикла, проведен силовой расчет основного механизма, спроектирована цилиндрическая эвольвентная зубчатая передача, спроектирован планетраный редуктор, спроектирован кулачковый механизм с поступательно движущимся толкателем.

Содержание

  • Техническое задание………………………………………………………...………
  • Исходные данные……………………………………………………………...…….
  • Определение закона движения механизма………………………………....
  • Определение размеров основного механизма………………………...…..
  • Построение графика сил сопротивления………………………………......
  • Построение планов возможных скоростей……………………………...…
  • Построение графиков передаточных функций…………………………….
  • Приведение сил и масс…………………………………………………...…
  • Определение приведенных моментов инерции звеньев……………………
  • Определение суммарнного приведенного момента инерции……..…...…
  • Посроение графиков приведенных моментов инерции…………………...
  • Определение приведенных моментов…………………….….…………….
  • Построение графика суммарной работы……………………………….…
  • Построение графика угловой скорости…………………………………...
  • Построение графика времени……………………………………………...
  • Построение графика углового ускорения………………………………...
  • Силовой расчет механизма………………………………………………….
  • Построение плана скоростей………………………………………………..
  • Построение плана ускорений……………………………………………….
  • Силы и моменты сил, действующие на механизм………………………...
  • Определение сил в кинематических парах……………………………...…
  • Оценка погрешности по значению движущего момента…………...…….
  • Проектирование цилиндрической эвольвентной зубчатой передачи и планетарного редуктора………………………………………………………...….
  • Проектирование зубчатой передачи………………..………………………
  • Исходные данные для проектирования…………….………………………
  • Качественные показатели зубчатых передач………………………………
  • Выбор коэффициентов смещения…………………………………………..
  • Геометрический расчет зацепления…………………………………..……
  • Построение профиля зуба колеса, изготовляемого реечного инструментом……………………………………………………………………….
  • Построение проектируемой зубчатой передачи……………..…………….
  • Проектирование планетарного редуктора………………………...……….
  • Исходные данные……………………………………………………………
  • Подбор числа зубьев……...…………………………………………………
  • Графическая проверка………………………………………………………
  • Проектирование кулачкового механизма………………………………………
  • Построение кинематических диаграмм методом графического интегрирования……………………………………………………………………..
  • Определение основных размеров кулачкого механизма…………………….
  • Построение профиля кулачка………………….………………………………
  • Заключение………………………………………………………………………….
  • Список литературы……..…………………………………………………………..
  • Приложение 1……………………………….………………………………………
  • Приложение 2…………………………………………….…………………………

Техническое задание

Горизонтальный одноцилиндровый поршневой дозировочный насос предназначен для дозирования водных растворов органическими и неорганическими веществами в процессе производства биологических препаратов.
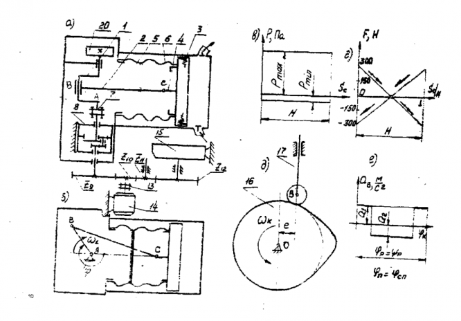
Коленчатый вал 1 насоса приводиться во вращение электродвигателем 14 через соединительную муфту 13 ,зубчатую передачу, планетарный редуктор 8 и соединительную муфту 7. насос выполнен герметичным. Его рабочая полость изолирована от картера сильфонами 5 и 6, жестко соединенными между собой. Конец сильфона 6 припаян к поршню 3 , а конец сильфона 5 к корпусу насоса (рис.а). Изменение усилия F, приложенного к поршню от сильфона при перемещении поршня насоса, представлено графиком (рис.б).
Основным механизмом насоса является кривошипно-ползунный механизм (рис.в), состоящий из коленчатого вала 1 , шатуна 2 и поршня 3 со штоком 4. Для обеспечения движения основного механизма с заданной неравномерностью на коленчатом валу насоса закреплен маховик 20.
Смазка механизмов насоса осуществляется от плунжерного масляного насоса 15, плунжер 17 которого (рис.г) приводиться в движение от кулачка 16, закрепленного на валу зубчатого колеса (рис.д.). Изменение ускорения толкателя 17 показано на(рис.е).

Исходные данные

ПараметрОбозначение Единица измеренияЧисловое значение
1Частота вращения коленчатого вала насоса

2,42
2Средняя скорость поршня
м/с0,22
3Отношение длины шатуна к длине кривошипа
-5,1
4Относительное положение центра масса шатуна
-0,35
5Диаметр поршняdм0,05
6Диаметр штока
м0,009
7Частота вращения вала электродвигателя

37,0
8Максимальное давление нагнетания
МПа2,94
9Минимальное давление в цилиндре
Па0,29
10Отношение длины штока к длине шатуна
-0,20
11Масса шатуна
кг6
12Масса штока
кг3
13Масса поршня
кг12
14Момент инерции шатуна относительно оси, проходящей через центр масс

0,009
15Максимальное усилие растяжения—сжатия от сильфона
н2250
16Момент инерции коленвала

0,006
17Момент инерции ротора электродвигателя

0,0022
18Момент инерции планетарного редуктора, соединительной муфты и зубчатых колес, приведенных к валу электродвигателя

0,023
19Начальная угловая скорость коленчатого вала
0
20Момент электродвигателя
н*м10
21Угловая координата кривошипа для силового расчета
град340
22Числа зубьев зубчатых колес

16
13
13
16
23Модуль зубчатых колесmмм2,5
24Угол наклона зубьев
град25
25Угол рабочего профиля кулачка
град220
26Ход толкателя 17 кулачкового механизма
м0,018
27Допустимый угол давления в кулачковом механизме
град25
28Внеосность толкателя 17 в кулачковом механизмеeм0,005
29Изменение ускорений толкателя
-1,85
30Начальный угол поворота кривошипа
град0

Чертежи

Лист 1 - Определение закона движения

Лист 2 - Силовой расчет

Лист 3 - Проектирование зубчатой передачи

Лист 4 - Проектирование кулачкового механизма

Характеристики курсовой работы

Учебное заведение
Семестр
Номер задания
Вариант
Просмотров
694
Качество
Идеальное компьютерное
Размер
4,47 Mb

Список файлов

Проектирование и исследование механизмов дозировочного сильфонного насоса
DIADA
версия вторая
102ANEYV.DIF
версия первая
999.DIF
для силового
102AVER.DI
SILOVOI.DIF
РПЗ.doc
Таблица данных.xls
Чертежи.dwg
Электронный расчет.xls
Картинка-подпись
Если вам всё понравилось, поставьте оценку и напишите пару слов о работе - так вы поможете другим покупателям. В благодарность мы вернём вам 40 рублей на счёт.❤️

Комментарии

Нет комментариев
Стань первым, кто что-нибудь напишет!
Поделитесь ссылкой:
Цена: 5 000 2 490 руб.
Расширенная гарантия +3 недели гарантии, +10% цены
Рейтинг автора
4,96 из 5
Поделитесь ссылкой:
Сопутствующие материалы

Подобрали для Вас услуги

-26%
Вы можете использовать курсовую работу для примера, а также можете ссылаться на неё в своей работе. Авторство принадлежит автору работы, поэтому запрещено копировать текст из этой работы для любой публикации, в том числе в свою курсовую работу в учебном заведении, без правильно оформленной ссылки. Читайте как правильно публиковать ссылки в своей работе.
Свежие статьи
Популярно сейчас
Зачем заказывать выполнение своего задания, если оно уже было выполнено много много раз? Его можно просто купить или даже скачать бесплатно на СтудИзбе. Найдите нужный учебный материал у нас!
Ответы на популярные вопросы
Да! Наши авторы собирают и выкладывают те работы, которые сдаются в Вашем учебном заведении ежегодно и уже проверены преподавателями.
Да! У нас любой человек может выложить любую учебную работу и зарабатывать на её продажах! Но каждый учебный материал публикуется только после тщательной проверки администрацией.
Вернём деньги! А если быть более точными, то автору даётся немного времени на исправление, а если не исправит или выйдет время, то вернём деньги в полном объёме!
Да! На равне с готовыми студенческими работами у нас продаются услуги. Цены на услуги видны сразу, то есть Вам нужно только указать параметры и сразу можно оплачивать.
Отзывы студентов
Ставлю 10/10
Все нравится, очень удобный сайт, помогает в учебе. Кроме этого, можно заработать самому, выставляя готовые учебные материалы на продажу здесь. Рейтинги и отзывы на преподавателей очень помогают сориентироваться в начале нового семестра. Спасибо за такую функцию. Ставлю максимальную оценку.
Лучшая платформа для успешной сдачи сессии
Познакомился со СтудИзбой благодаря своему другу, очень нравится интерфейс, количество доступных файлов, цена, в общем, все прекрасно. Даже сам продаю какие-то свои работы.
Студизба ван лав ❤
Очень офигенный сайт для студентов. Много полезных учебных материалов. Пользуюсь студизбой с октября 2021 года. Серьёзных нареканий нет. Хотелось бы, что бы ввели подписочную модель и сделали материалы дешевле 300 рублей в рамках подписки бесплатными.
Отличный сайт
Лично меня всё устраивает - и покупка, и продажа; и цены, и возможность предпросмотра куска файла, и обилие бесплатных файлов (в подборках по авторам, читай, ВУЗам и факультетам). Есть определённые баги, но всё решаемо, да и администраторы реагируют в течение суток.
Маленький отзыв о большом помощнике!
Студизба спасает в те моменты, когда сроки горят, а работ накопилось достаточно. Довольно удобный сайт с простой навигацией и огромным количеством материалов.
Студ. Изба как крупнейший сборник работ для студентов
Тут дофига бывает всего полезного. Печально, что бывают предметы по которым даже одного бесплатного решения нет, но это скорее вопрос к студентам. В остальном всё здорово.
Спасательный островок
Если уже не успеваешь разобраться или застрял на каком-то задание поможет тебе быстро и недорого решить твою проблему.
Всё и так отлично
Всё очень удобно. Особенно круто, что есть система бонусов и можно выводить остатки денег. Очень много качественных бесплатных файлов.
Отзыв о системе "Студизба"
Отличная платформа для распространения работ, востребованных студентами. Хорошо налаженная и качественная работа сайта, огромная база заданий и аудитория.
Отличный помощник
Отличный сайт с кучей полезных файлов, позволяющий найти много методичек / учебников / отзывов о вузах и преподователях.
Отлично помогает студентам в любой момент для решения трудных и незамедлительных задач
Хотелось бы больше конкретной информации о преподавателях. А так в принципе хороший сайт, всегда им пользуюсь и ни разу не было желания прекратить. Хороший сайт для помощи студентам, удобный и приятный интерфейс. Из недостатков можно выделить только отсутствия небольшого количества файлов.
Спасибо за шикарный сайт
Великолепный сайт на котором студент за не большие деньги может найти помощь с дз, проектами курсовыми, лабораторными, а также узнать отзывы на преподавателей и бесплатно скачать пособия.
Популярные преподаватели
Добавляйте материалы
и зарабатывайте!
Продажи идут автоматически
6917
Авторов
на СтудИзбе
266
Средний доход
с одного платного файла
Обучение Подробнее
{user_main_secret_data}