Для студентов МГТУ им. Н.Э.Баумана по предмету Теория механизмов и машин (ТММ)Проектирование и исследование механизмов насоса с электроприводом для перекачки вязких жидкостейПроектирование и исследование механизмов насоса с электроприводом для перекачки вязких жидкостей
5,0054
2013-08-212025-04-07СтудИзба
Курсовая работа 131: Проектирование и исследование механизмов насоса с электроприводом для перекачки вязких жидкостей вариант Б
-50%
Описание
Проектирование и исследование механизмов насоса с электроприводом для перекачки вязких жидкостей
Реферат
Данная записка содержит 27 страниц машинописного текста, в том числе: техническое задание, таблицу с исходными данными, 2 приложения.Расчётно-пояснительная записка содержит расчёты и проектирование механизма насоса для перекачки вязких жидкостей, определение закона его движения под действием заданных силовых факторов, действующих в кинематических парах механизма с учётом геометрии и масс звеньев; расчёт и исследование кулачкового механизма, предназначенного для своевременного открытия и закрытия впускного и выпускного клапанов.
Содержание
- Реферат...................................................................................................... 1
- Техническое задание................................................................................. 4
- Исходные данные...................................................................................... 5
- 1. Определение закона движения механизма........................................... 6
- 1.1. Проектирование рычажно - кулисного механизма.......................... 7
- 1.1.1. Определение основных размеров звеньев механизма................... 7
- 1.2. Нахождение передаточных функций и передаточных отношений основного механизма....... 7
- 1.3. Определение суммарного приведенного момента внешних сил, приложенных к звеньям механизма........ 8
- 1.3.1. Определение приведенного момента от момента сопротивления........... 9
- 1.3.2. Определение приведенного момента движущих сил.................... 9
- 1.3.3. Построение графика ........................................................ 10
- 1.4. Построение графика суммарной работы AS(j1)............................. 10
- 1.5. Определение суммарного приведенного момента инерции механизма...... 10
- 1.5.1. Определение угловой скорости начального звена11
- 2. Силовой расчёт................................................................................... 12
- 2.1. Определение угловых ускорений и ускорений центров масс звеньев механизма......... 12
- 2.2 Определение действующих сил и моментов сил на звенья механизма............... 13
- 3. Проектирование зубчатой передачи и планетарного механизм 15
- 3.1. Выбор коэффициента смещения…………………………………...15
- 3.2. Построение профиля зуба, изготовляемого реечным инструментом16
- 3.3. Построение проектируемой зубчатой передачи …………………18
- 3.4. Проектирование планетарного зубчатого механизма с цилиндрическими колёсами 19
- 4. Проектирование кулачкового механизма.......................................... 21
- 4.1. Исходные данные и основные этапы проектирования................... 21
- 4.2. Определение кинематических передаточных функций кулачкового механизма..... 22
- 4.3. Определение основных размеров кулачкового механизма............ 22
- 4.4. Определение координат и построение профиля кулачка......... 23
- Литература.............................................................................................. 24
Техническое задание
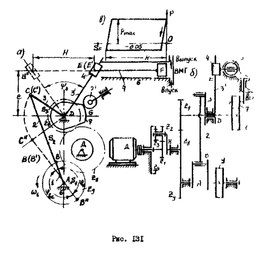
Поршень 5 одноцилиндрового поршневого насоса одностороннего действия получает движение от электродвигателя планетарный редуктор, цилиндрическую передачу и рычажно-кулисный механизм.Жидкость всасывается в цилиндр через впускной клапан при достижении в цилиндре давления 0,05 МПа. Всасывающий клапан открывается с запаздыванием, когда угол поворота кривошипа от верхней мёртвой точки достигает 15 градусов. В конце хода всасывания этот клапан закрывается, и давление в цилиндре возрастает до Pmax. При этом угол поворота кривошипа от НМТ равен 15 градусам. Толкатель 7' кулачкового механизма открывает впускной клапан, и жидкость под давлением Pmax вытесняется из цилиндра. Кулачок 7 закреплён на распределительном валу D, который соединён зубчатой передачей с кривошипом.
Примечания:
Исходные данные приведены в таблице. Угол CDE = 90. Массы m3, m3', m2 (кг) можно определить по соотношению m = q·l; m1 = m4 =0; центры масс расположены посередине соответствующих звеньев.

Исходные данные
№П/П | Параметр | Обозначение | Единица измерения | Числовое значение |
1 | Угловой ход кулисы 3' | φ3' | градус | 52 |
2 | Смещение оси цилиндра | e | м | 0,186 |
3 | Радиус коромысла CD | l3 | м | 0,13 |
4 | Длина кулисной части коромысла | l3' | м | 0,26 |
5 | Максимальное давление | Pmax | Мпа | 0,66 |
6 | Угол перекрытия | θ | градус | 13 |
7 | Коэффициент неравномерности движения механизма | δ | 1/40 | |
8 | Диаметр поршня | d | м | 0,18 |
9 | Линейная плотность материала звеньев | q | кг/м | 32 |
10 | Передаточное отношение планетарного редуктора | U1H | - | 7 |
11 | Масса штанги поршня 5 | m5 | кг | 6,5 |
12 | Число сателлитов | k | 5 | |
13 | Частота вращения электродвигателя | nд | об/мин | 1000 |
14 | Приведённый к валу водила H момент инерции коробки скоростей | JпрH | кг·м2 | 0,12 |
15 | Угол поворота кривошипа 1 от ВМТ (для силового расчёта) | j1* | градус | 300 |
16 | Число зубьев колес 8 и 9 | z8;z9 | - | 15;12 |
17 | Модуль колес | m | мм | 7 |
18 | Угол наклона линии зуба | β | градус | 20 |
19 | Угол рабочего профиля кулачка | dР | градус | 280 |
20 | Допустимый угол давления | [J] | градус | 30 |
21 | Ход толкателя | h | м | 0,018 |
Чертежи
Лист 1 - Определение закона движения ![]()
Лист 2 - Силовой расчет ![]()
Лист 3 - Проектирование зубчатой передачи ![]()
Лист 4 - Проектирование кулачкового механизма ![]()
Характеристики курсовой работы
Учебное заведение
Семестр
Номер задания
Вариант
Программы
Просмотров
1667
Качество
Идеальное компьютерное
Размер
1,06 Mb
Список файлов
РПЗ.doc
Лист (1).dwg
Лист (2).dwg
Лист (3).dwg
Лист (4).dwg

Вам все понравилось? Получите кэшбэк - 40 рублей на Ваш счёт при покупке. Поставьте оценку и напишите положительный комментарий к купленному файлу. После Вы получите деньги на ваш счет.