Курсовая работа 126: Проектирование и исследование механизмов упаковочного автомата вариант В
Описание
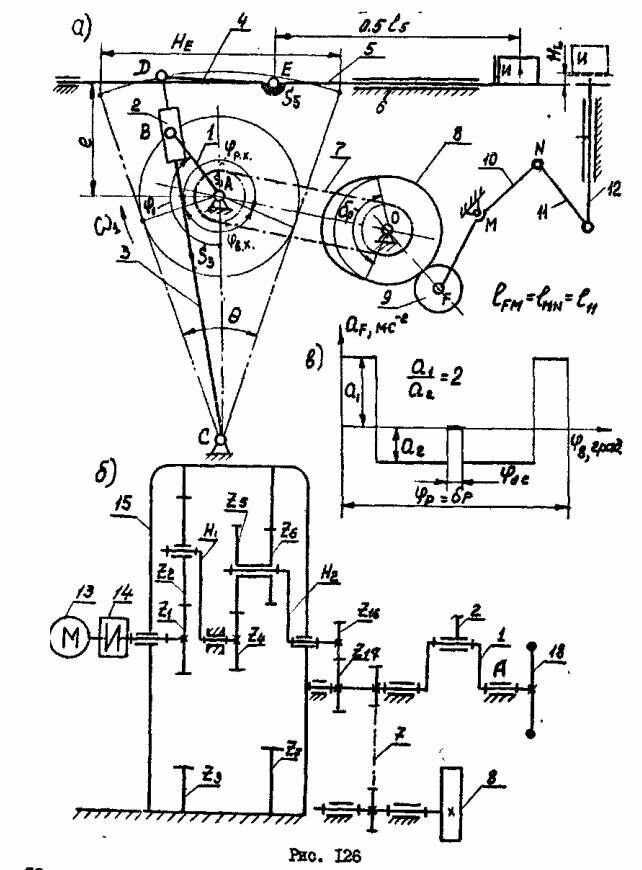
Защищена в 2021 г. Значения, полученные на 1-ом, 2-ом, 4-ом листах были получены графическим методом решения.
![]()

Характеристики курсовой работы
Учебное заведение
Семестр
Номер задания
Вариант
Просмотров
38
Размер
1,46 Mb
Список файлов
~$рвый лист готовый.cd~
Второй лист готовый.cdw
Второй лист готовый.pdf
Первый лист готовый.cdw
Первый лист готовый.cdw.bak
Первый лист готовый.pdf
РПЗ.docx
Третий лист готовый.cdw
Третий лист готовый.pdf
Четвертый лист готовый.cdw
Четвертый лист готовый.pdf
Комментарии
Нет комментариев
Стань первым, кто что-нибудь напишет!
МГТУ им. Н.Э.Баумана
Saturn


















