Для студентов МГТУ им. Н.Э.Баумана по предмету Теория механизмов и машин (ТММ)Проектирование и исследование двуступенчатого воздушного компрессораПроектирование и исследование двуступенчатого воздушного компрессора
5,0051
2021-12-052021-12-05СтудИзба
Курсовая работа 97: Проектирование и исследование двуступенчатого воздушного компрессора вариант В
Описание
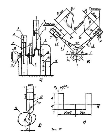
97B Двухступенчатый воздушный компрессор.(PDF,Inventor,Mathcad).
ИЗМЕНЁН РАЗВАЛ МЕЖДУ ПОРШНЯМИ С90 НА 110
Так же лист 3 выполнен не стандартным инструментом
Есть расчёты(Mathcad). для первого листа
![]()
ИЗМЕНЁН РАЗВАЛ МЕЖДУ ПОРШНЯМИ С
Так же лист 3 выполнен не стандартным инструментом
Есть расчёты(Mathcad). для первого листа

Характеристики курсовой работы
Учебное заведение
Семестр
Номер задания
Вариант
Просмотров
64
Размер
9,07 Mb
Список файлов
Курс97В
OldVersions
Лист 2.0001.dwg
Лист4.0001.dwg
ZUB.xls
Лист 1 для 110.xmcd
Лист 2.dwg
Лист 2.pdf
Лист3.dwg
Лист3.pdf
Лист4.dwg
Лист4.pdf
РПЗ.doc
РПЗ.pdf
лист1.dwg
лист1.pdf
Комментарии
Нет комментариев
Стань первым, кто что-нибудь напишет!
МГТУ им. Н.Э.Баумана

















