Для студентов МГТУ им. Н.Э.Баумана по предмету Теория механизмов и машин (ТММ)Проектирование и исследование механизмов буровой установкиПроектирование и исследование механизмов буровой установки
5,0055
2017-01-042025-04-07СтудИзба
Курсовая работа 109: Проектирование и исследование механизмов буровой установки вариант А
-50%
Описание
Проектирование и исследование механизмов буровой установки
Содержание
- Техническое задание. 3
- 1.Определение закона движения механизма. 5
- 1.1 Определение размеров механизма. 5
- 1.2 Силы, действующие на звенья механизма. 7
- 1.3 Построение графика силы FС. 7
- 1.4 Нахождение значений передаточных функций. 8
- 1.5 Построение графика приведённого момента. 9
- 1.6 Построение графика суммарной работы . 11
- 1.7 Построение графиков приведенных моментов инерции . 11
- II группы звеньев. 11
- 1.8 Построение графика угловой скорости .12
- 1.9 Построение графика времени движения механизма. 14
- 1.10 Построение графика углового ускорения динамической модели. 14
- Из уравнения движения в дифференциальной форме: 14
- 2. Силовой расчёт механизма. 15
- 2.1. Исходные данные для силового расчёта. 15
- 2.2.Построение схемы механизма. 15
- 2.3. Определение скоростей точек механизма. 16
- 2.4.Определение ускорений точек механизма. 17
- 2.5.Определение главных векторов и главных моментов сил инерции. 18
- 2.6. Силовой расчёт. 19
- 3. ПРОЕКТИРОВАНИЕ ЗУБЧАТОЙ ПЕРЕДАЧИ И ПЛАНЕТАРНОГО МЕХАНИЗМА. 22
- 3.1. Геометрический расчёт зацепления. 22
- 3.2. Построение схемы станочного зацепления для шестерни. 23
- 3.4. Построение схемы зацепления колес зубчатой передачи. 24
- 3.4.Проектирование планетарного редуктора. 25
- 4. ПРОЕКТИРОВАНИЕ КУЛАЧКОВОГО МЕХАНИЗМА. 28
- 4.1. Исходные данные. 28
- 4.2. Построение кинематических диаграмм методом графического интегрирования. 28
- 4.3. Определение основных размеров кулачкового механизма. 29
- 4.4. Построение профиля кулачка. 30
- 4.5. Построение графика изменения угла давления. 30
- Список литературы.. 32
Техническое задание
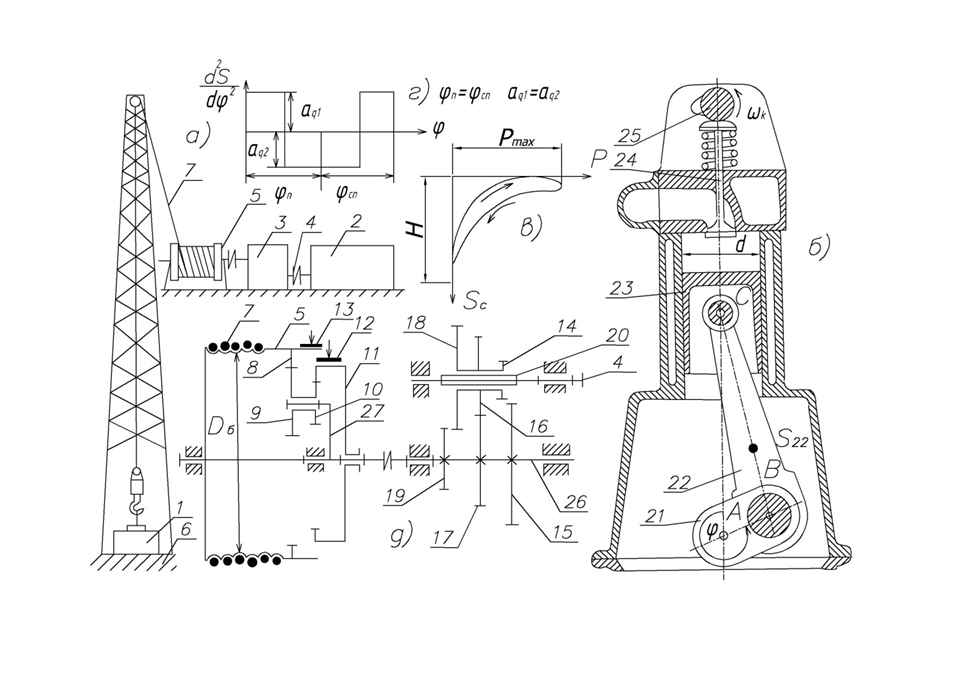
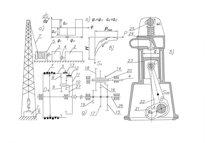
Буровая установка состоит из бурового станка 1, сообщающего вращательное движение буровому инструменту, грузоподъёмного устройства 5, осуществляющего подъём и опускание бурового инструмента и труб в скважине, коробки передач 3, соединённой с дизельным двигателем 2 муфтой сцепления 4.Дизельный двигатель представляет 12-цилиндровую вертикальную двухтактную машину с равномерным чередованием работы цилиндров, основным механизмом которой является кривошипно-ползунный. Цикл работы двухтактного двигателя внутреннего сгорания соответствует одному обороту его коленчатого вала 21. Характер изменения давления в цилиндре двигателя представлен индикаторной диаграммой, данные для построения которой приведены в таблице 109-2.
Очистка цилиндра двигателя от продуктов сгорания осуществляется через клапаны 24, открывающиеся посредством кулачкового механизма. Кулачковый распределительный вал 25 кинематически связан с коленчатым валом 21 зубчатой передачей, не показанной на рисунке. Кулачковый вал вращается с угловой скоростью, равной угловой скорости коленчатого вала, и перемещение клапана строго связано по фазам с положением поршня. Закон изменения аналога ускорения поступательно двигающегося толкателя клапана 24 показан на рисунке 109г.
Буровой инструмент поднимается из скважины по колонне бурильных труб 6 тросом 7, наматываемым на барабан лебёдки 5. Трубы, а их в колонне не один десяток, в процессе подъёма и спуска инструмента разъединяются и соединяются неоднократно. По этой причине спуско-подъёмные операции в бурении по затратам времени занимают первое место. С целью снижения затрат времени на подъём инструмента согласовывают характеристики двигателя и нагрузку на лебёдку выбором оптимального передаточного отношения. В качестве критерия при выборе оптимального передаточного отношения используют угловое ускорение барабана лебёдкиили продолжительность цикла подъёма секции труб. Кинематическая схема коробки передач и планетарного механизма лебедки показана на рисунке 109д. Барабан лебёдки 5 соединён с зубчатым колесом 8 планетарного механизма, зубчатое колесо 11 которого в режиме подъёма остановлено тормозом 12. В режиме спуска тормоз 12 отпускается, и скорость спуска регулируется тормозом 13. Передаточное отношение коробки передач меняется перемещением блока зубчатых колёс 14,16, 18, установленных на шлицевом валу 20. Зубчатые колёса 14, 16, 18 вводятся в зацепление с зубчатыми колёсами 15, 17, 19, закреплёнными на валу 26, соединённом с водилом 27 планетарного механизма.
Требуется определить закон движения барабана лебёдки в процессе подъёма при разгоне двигателя с нулевыми начальными условиями при расчётном оптимальном передаточном отношении . Исходные данные для проектирования приведены в таблице 109-1.
Исходные данные
Таблица 1 | Параметр | Обозначение | Размерность | Значение |
1 | Средняя скорость поршня | (VC)ср. | м/с | 4 |
2 | Отношение длины шатуна к длине кривошипа | LBC/lAB,l2 | - | 4.4 |
3 | Отношение расстояния от центра тяжести шатуна до точки B к длине шатуна | LBS/lBC,l3 | - | 0.3 |
4 | Диаметр цилиндрa | d | м | 0.2 |
5 | Частота вращения коленчатого вала на номинальном режиме | | Об/с | 8.4 |
6 | Максимальное давлениев цилиндредвигателя | Pmax | Па | 44.105 |
7 | Масса шатуна | | кг | 12 |
8 | Масса поршня | | кг | 14 |
9 | Момент инерции шатуна относительно оси, проходящей через его центр масс | | кг×м2 | 1.0 |
10 | Момент инерции коленчатого вала с маховиком | | кг×м2 | 10 |
11 | Масса бурового инструмента и труб | | кг | 2.104 |
12 | Диаметр барабана лебедки | | м | 0,5 |
13 | Угловая координата кривошипа (от ВМТ) для силового расчета | j1 | град | 30 |
14 | Число зубьев колес 14, 15 | , | - | 16, 20 |
15 | Модуль зубчатых колес 14, 15 | , | мм | 8 |
16 16 | Передаточное отношение планетарного механизма лебедки(неподвижное колесо 11) | | - | 22 |
17 | Модель зубчатых колес планетарного механизма | m | мм | 10 |
18 | Число сателлитных блоков в планетарном механизме | K | - | 2 |
19 | Ход толкателя клапана двигателя | h | м | 0,02 |
20 | Угол начала подъема клапана до НМТ | ' | град | 60 |
21 | Угол конца закрытия клапана после НМТ | '' | град | 60 |
22 | Допустимы угол давления в кулачковом механизме | [ ] | град | 30 |
Ход поршня вниз от ВМТ до НМТ | ||||||||||||||
Sc/H | 0 | 0,025 | 0,05 | 0,1 | 0,2 | 0,3 | 0,4 | 0,5 | 0,6 | 0,7 | 0,8 | 0,9 | 1,0 | |
p/pmax | 0,86 | 1 | 0,86 | 0,6 | 0,34 | 0,24 | 0,17 | 0,13 | 0,10 | 0,082 | 0,068 | 0 | 0 | |
Ход поршня вверх от НМТ до ВМТ | ||||||||||||||
Sc/H | 0 | 0,025 | 0,05 | 0,1 | 0,2 | 0,3 | 0,4 | 0,5 | 0,6 | 0,7 | 0,8 | 0,9 | 1,0 | |
p/pmax | 0,86 | 0,5 | 0,32 | 0,2 | 0,113 | 0,073 | 0,045 | 0,025 | 0,014 | 0,005 | 0,001 | 0 | 0 |
Чертежи
Лист 1 - Определение закона движения ![]()
Лист 2 - Силовой расчет ![]()
Лист 3 - Проектирование зубчатой передачи ![]()
Лист 4 - Проектирование кулачкового механизма ![]()
Характеристики курсовой работы
Учебное заведение
Семестр
Номер задания
Вариант
Программы
Просмотров
829
Качество
Идеальное компьютерное
Размер
4,7 Mb
Список файлов
Проектирование и исследование механизмов буровой установки - 109 - А
Лист 1
Лист 1.bak
Лист 1.dwg
Лист 1.pdf
Лист 2
PR2
AR2
AR2
8X16TU.FNT
AR2U.EXE
AR2U.PAS
EGAVGA.BGI
EGAVGA.OBJ
FDI5.PAS
FDI5.TPU
F_GRTEXT.PAS
F_GRTEXT.TPU
GDI5.PAS
GDI5.TPU
GRAPH.TPU
MATH387.PAS
MATH387.TPU
OETOANS.PAS
OETOANS.TPU
RUSSCR16.PAS
SCR16TU.PAS
TRIP.OBJ
TURBO.DSK
TURBO.TP
WW.REW

Вам все понравилось? Получите кэшбэк - 40 рублей на Ваш счёт при покупке. Поставьте оценку и напишите положительный комментарий к купленному файлу. После Вы получите деньги на ваш счет.