Для студентов МГТУ им. Н.Э.Баумана по предмету Теория механизмов и машин (ТММ)Проектирование и исследование механизмов поршневого насоса двойного действияПроектирование и исследование механизмов поршневого насоса двойного действия
5,0054
2015-02-032025-04-07СтудИзба
Курсовая работа 120: Проектирование и исследование механизмов поршневого насоса двойного действия вариант В
-50%
Описание
Проектирование и исследование механизмов поршневого насоса двойного действия
Реферат
В курсовом проекте выполнено проектирование поршневого насоса двойного действия.В пояснительной записке приведено:
- проектирование основного механизма поршневого насоса двойного действия, исследовано его движение, расчет дополнительной маховой массы;
- кинетостатический силовой расчет основного рычажного механизма;
- проектирование цилиндрической эвольвентой зубчатой передачи;
- проектирование двухрядного планетарного редуктора со смешанным зацеплением;
- проектирование кулачкового механизма с поступательно движущимся толкателем.
Содержание
- Содержание - 3 -
- Техническое задание - 4 -
- 1. Проектирование основного механизма поршневого насоса и определение закона движения его начального звена - 8 -
- 1.1 Проектирование кинематической схемы и определение длин звеньев механизма - 8 -
- 1.2 Выбор динамической модели - 9 -
- 1.3 Расчет кинематических передаточных функций скоростей - 10 -
- 1.4 Построение диаграммы суммарного приведенного момента - 11 -
- 1.5 Построение графика суммарной работы всех сил - 12 -
- 1.6 Построение диаграмм приведенных моментов инерции звеньев - 12 -
- 1.7 Построение диаграмм кинетической энергии механизма - 13 -
- 1.8 Определение необходимого момента инерции маховых масс ……………..……...- 13-
- 1.9 Построение графика угловой скорости - 14 -
- 1.10 Построение графика углового ускорения…………………….…………………. - 15 -
- 2. Силовой расчет механизма - 16 -
- 2.1 Исходные данные для силового расчета - 16 -
- 2.2 Построение плана скоростей механизма - 16 -
- 2.3 Построение плана ускорений механизма - 17 -
- 2.4 Определение сил инерции, главных моментов сил инерции - 19 -
- 2.5 Определение реакций в кинематических парах - 19 -
- 2.6 Расчет погрешности в определении движущего момента - 22 -
- 3. Проектирование зубчатых механизмов. - 23 -
- 3.1 Исходные данные для проектирования - 23 -
- 3.2 Геометрический расчет эвольвентной зубчатой передачи - 23 -
- 3.3 Выбор коэффициента смещения с учетом качественных показателей……….......- 25-
- 3.4 Построение профиля зуба колеса, изготовляемого реечным инструментом; построение зубчатой передачи. - 28 -
- 3.4.1 Построение станочного зацепления. - 28 -
- 3.4.2 Построение проектируемой зубчатой передачи. - 28 -
- 3.5 Построение планетарного зубчатого редуктора. - 29 -
- 4. Проектирование кулачкового механизма. - 32 -
- 4.1 Построение кинематических диаграмм методом графического интегрирования. - 32 -
- 4.2 Определение основных размеров кулачкового механизма. - 32 -
- 4.3 Построение профиля кулачка. - 33 -
- 4.4 Построение графика изменения угла давления……………………………………..- 33-
- Заключение - 35 -
- Список использованной литературы. - 36 -
- Список программного обеспечения. - 36 -
- ПРИЛОЖЕНИЯ
Техническое задание
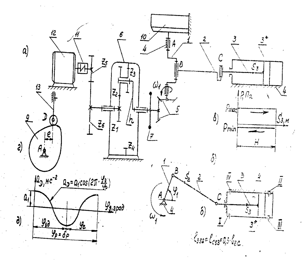
Горизонтальный одноцилиндровый поршневой наосос двойного действия, приминяемый в теплоэнергетике, служит для перекачки воды или тепловых нефтепродуктов. Коленчатый вал I насоса приводится в движение от электродвигателя 12 через муфту II, пару зубчатых колес с числами зубьев Z5 и Z6, планетарный редуктор 6 и коническую зубчатую передачу 5 с передаточным отношением, равным единице (рис. 1 а, б). На выходном валу редуктора установлен маховик 7. При вращении кривошипа I через шатун 2 поршневой шток 3 с поршнем 3*, находящимся в цилиндре 4, получает возвратно-поступательное движение.В процессе работы поршневого насоса двойного действия жидкость вытесняется при движении поршня в обе стороны. При ходе поршня вправо клапаны I и П открыты (рис. 1 6). Через клапан I происходит всасывание, а через клапан П- вытеснение жидкости в напорную трубу. В это время клапаны Ш и IV закрыты. При обратном ходе поршня жидкость через клапан Ш поступает в рабочую камеру, а через клапан IV - в напорную трубу. Таким образом, всасывание и нагнетание жидкости происходят при каждом ходе поршня.
Изменение давления Р жидкости в цилиндре от перемещения S3 поршня З* характеризуется индикаторной диаграммой (рис. 1 в).
Смазка элементов кинематических пар механизма поршневого насоса осуществляется под давлением от масляного насоса 10, плунжер (толкатель) 13 которого перемещается от кулачка 9, установленного на коленчатом валу I (рис. 1 а, г). Перемещение толкателя осуществляется по закону ad = a1*cos(2*π* φd / φp) . (рис. 1д).

Исходные данные
№ ц/п | Наименование параметра | Обозначение | Единица СИ | Численные значения |
1 | Средняя скорость поршня | υcр | м/с | 0,55 |
2 | Частота двойных ходов поршня 3 | n1 | 1/с | 1,5 |
3 | Отношение длины шатуна 2 к длине кривошипа 1 | λ=lbс/lаb | - | 4,8 |
4 | Длина штока 3 в долях от хода H | λ3=l3/H | - | 1,06 |
5 | Диаметр штока 3 | d3 | м | 0,04 |
6 | Диаметр цилиндра 4 | d4 | м | 0,08 |
7 | Максимально давление жидкости в цилиндре | Pmax | Па | 8,6*105 |
Минимальное давление жидкости в цилиндре | Pmin | Па | -8,6*104 | |
8 | Масса шатуна 2 | m2 | кг | 12 |
9 | Масса поршня 3 и штока 3* | m3 | кг | 8,2 |
10 | Момент инерции коленчатого вала | I1A | кг·м2 | 0,024 |
11 | Момент инерции шатуна 2 относительно оси, проходящей через его центр масс S2 | I2S | кг·м2 | 0,200 |
12 | Моменты инерции зубчатых колес передачи и редуктора, приведенный к валу двигателя | I3k | кг·м2 | 0,021 |
13 | Коэффициент неравномерности вращения коленчатого вала | δ | - | 1/30 |
14 | Угловая координата кривошипа | φ1 | град | 45 |
15 | Число зубьев колес зубчатой передачи | Z6 | - | 21 |
Z5 | - | 18 | ||
16 | Передаточное отношение планетарного редуктора | U1h | - | 12 |
17 | Число блоков сателлитов | k | - | 3 |
18 | Модуль зубчатых колес передачи и редуктора | m | мм | 2,5 |
19 | КПД зубчатой передачи | η3п | - | 0,9 |
20 | КПД редуктора | ηр | - | 0,95 |
21 | Угол рабочего профиля кулачка | δр | град | 260 |
№ ц/п | Наименование параметра | Обозначение | Единица СИ | Численные значения |
22 | Максимальный ход толкателя | hd | м | 0,016 |
23 | Внеосность толкателя | e | м | 0,010 |
24 | Допустимый угол давления в кулачковом механизме | [ϑ] | град | 35 |
Mathcad

Чертежи
Лист 1 - Определение закона движения - Inventor 2022 ![]()
Лист 2 - Силовой расчет механизма - KOMPAS 2021 ![]()
Лист 3 - Проектирование зубчатой передачи и планетарного редуктора - Inventor 2022 ![]()
Лист 4 - Проектирование кулачкового механизма - Inventor 2022 ![]()
Характеристики курсовой работы
Учебное заведение
Семестр
Номер задания
Вариант
Просмотров
2599
Качество
Идеальное компьютерное
Размер
3,9 Mb
Список файлов
ТММ - 120 - В - Проектирование и исследование механизмов поршневого насоса двойного действия
РПЗ и Расчеты
Маткад.xmcd
Приложение №1.pdf
Приложение №2.doc
Приложение №3.docx
Приложение №4.docx
РПЗ.docx
Чертежи
Лист 1 - Определение закона движения.idw
Лист 1 - Определение закона движения.pdf
Лист 2 - Силовой расчет механизма.cdw
Лист 2 - Силовой расчет механизма.pdf
Лист 3 - Проектирование зубчатой передачи и планетарного редуктора.idw
Лист 3 - Проектирование зубчатой передачи и планетарного редуктора.pdf
Лист 4 - Проектирование кулачкового механизма.idw
Лист 4 - Проектирование кулачкового механизма.pdf

Вам все понравилось? Получите кэшбэк - 40 рублей на Ваш счёт при покупке. Поставьте оценку и напишите положительный комментарий к купленному файлу. После Вы получите деньги на ваш счет.