ДЗ 1: Кинематика точки и простейших движений твердого тела вариант 26
Описание



Кинематика точки и простейшие движения твердого тела
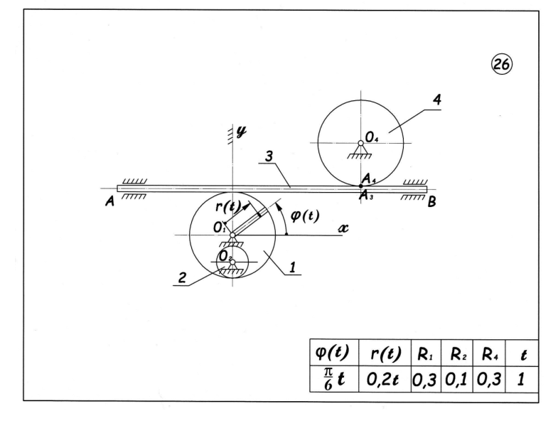
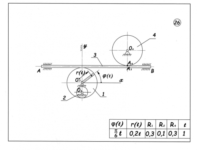
Задание по разделам теоретической механики «Кинематика точки и простейшие движения твердого тела» является первым при изучении курса «Теоретическая механика». Оно позволяет студенту усвоить основные понятия кинематики точки и простейших движений твердого тела. Задание содержит 30 вариантов задач. Каждому варианту задания соответствует схема механизма (на схемах – 1, 2, … 5 – номера звеньев механизма).
Указанная на схемах механизма точка M (ее движение изучают) может принадлежать звену или совершать движение относительно него. Начало и положительное направление отсчета координат s(t), x(t), y(t),r(t), и также указаны на схемах.
Кроме того, на схемах механизмов приведены законы движения точки или звеньев, а также исходные данные для всех вариантов задания и единицы измерения исходных величин: длина – в метрах, время – в секундах, угол – в радианах.
В точках соприкосновения звеньев механизма проскальзывание отсутствует, нити и ремни считаются нерастяжимыми и относительно шкивов не скользят.
Задание состоит из двух частей: 1) кинематика точки; 2) простейшие движения твердого тела.
КИНЕМАТИКА ТОЧКИ
В первой части задания нужно исследовать движение точки M и определить основные характеристики этого движения.
Требуется:
1) по заданному движению механизма (см.варианты заданий) получить
уравнения движения точки M координатным способом (в декартовой или полярной системе координат, указанной на схеме варианта);
2) определить траекторию движения точки M для момента времени
3) найти скорость v и ускорение a точки M ;
4) определить проекции скорости v и ускорения a точки M на оси декартовой системы координат;
5) найти касательную и нормальную составляющие ускорения, радиус кривизны траектории в данном положении точки M ;
6) найти радиальные и трансверсальные составляющие скорости и ускорения точки M . Начало полярной системы координат нужно поместить в начало
декартовой, направив полярную ось по оси Ox ;
7) в выбранном масштабе выполнить чертеж с изображением траектории
движения точки M . На чертеже указать все составляющие скорости и ускорения точки M в момент времени
КИНЕМАТИКА ПРОСТЕЙШИХ ДВИЖЕНИЙ
ТВЕРДОГО ТЕЛА
Во второй части курсового задания требуется:
1) установить вид движения звеньев механизма для момента времени ;
2) определить угловые скорости и угловые ускорения звеньев механизма, совершающих вращательное движение, указав на чертеже круговыми стрелками их направления, определить характер движения тел (замедленный или ускоренный);
3) определить скорости v и ускорения a тел при поступательном движении;
4) для точек контакта тел (i - номер звена) определить скорости, ускорения и изобразить их на схеме механизма в соответствующем масштабе
(см.разд. 4).
Показать/скрыть дополнительное описание
Кинематика точки и простейшие движения твердого тела Задание по разделам теоретической механики «Кинематика точки и простейшие движения твердого тела» является первым при изучении курса «Теоретическая механика». Оно позволяет студенту усвоить основные понятия кинематики точки и простейших движений твердого тела. Задание содержит 30 вариантов задач. Каждому варианту задания соответствует схема механизма (на схемах – 1, 2, … 5 – номера звеньев механизма). Указанная на схемах механизма точка M (ее движение изучают) может принадлежать звену или совершать движение относительно него. Начало и положительное направление отсчета координат s(t), x(t), y(t),r(t), и также указаны на схемах.
Кроме того, на схемах механизмов приведены законы движения точки или звеньев, а также исходные данные для всех вариантов задания и единицы измерения исходных величин: длина – в метрах, время – в секундах, угол – в радианах. В точках соприкосновения звеньев механизма проскальзывание отсутствует, нити и ремни считаются нерастяжимыми и относительно шкивов не скользят . Задание состоит из двух частей: 1) кинематика точки; 2) простейшие движения твердого тела. КИНЕМАТИКА ТОЧКИ В первой части задания нужно исследовать движение точки M и определить основные характеристики этого движения. Требуется: 1) по заданному движению механизма (см.варианты заданий) получить уравнения движения точки M координатным способом (в декартовой или полярной системе координат, указанной на схеме варианта); 2) определить траекторию движения точки M д ля момента времени 3) найти скорость v и ускорение a точки M ; 4) определить проекции скорости v и ускорения a точки M на оси декартовой системы координат; 5) найти касательную и нормальную составляющие ускорения, радиус кривизны траектории в данном положении точки M ; 6) найти радиальные и трансверсальные составляющие скорости и ускорения точки M .
Начало полярной системы координат нужно поместить в начало декартовой, направив полярную ось по оси Ox ; 7) в выбранном масштабе выполнить чертеж с изображением траектории движения точки M . На чертеже указать все составляющие скорости и ускорения точки M в момент времени КИНЕМАТИКА ПРОСТЕЙШИХ ДВИЖЕНИЙ ТВЕРДОГО ТЕЛА Во второй части курсового задания требуется: 1) установить вид движения звеньев механизма д ля момента времени ; 2) определить угловые скорости и угловые ускорения звеньев механизма, совершающих вращательное движение, указав на чертеже круговыми стрелками их направления, определить характер движения тел (замедленный или ускоренный); 3) определить скорости v и ускорения a тел при поступательном движении; 4) для точек контакта тел (i - номер звена) определить скорости, ускорения и изобразить их на схеме механизма в соответствующем масштабе .
Характеристики домашнего задания
Список файлов
