Для студентов МГТУ им. Н.Э.Баумана по предмету Теоретическая механикаКинематика точки и простейших движений твердого телаКинематика точки и простейших движений твердого тела
5,0051
2022-03-222025-02-07СтудИзба
ДЗ 1: Кинематика точки и простейших движений твердого тела вариант 3
-43%
Описание
Типовой расчет по теоретической механике, "Кинематика точки", зачтено
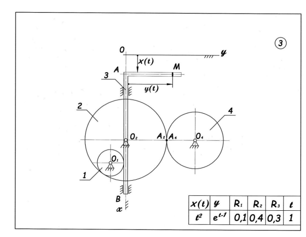
Условие:
Пример решения:
![]()
Условие:


Характеристики домашнего задания
Предмет
Учебное заведение
Семестр
Номер задания
Вариант
Просмотров
73
Размер
1,28 Mb
Список файлов
Вариант 3 Кинематика точки 257.pdf

Спасибо за покупку! Я буду очень рад, если поставишь справедливую оценку купленному файлу :3 Ищи больше работ в моём профиле, там много нужного тебе!