Для студентов МГТУ им. Н.Э.Баумана по предмету Теоретическая механикаКолебания линейной системы с одной степенью свободыКолебания линейной системы с одной степенью свободы
5,0053
2021-04-262025-02-11СтудИзба
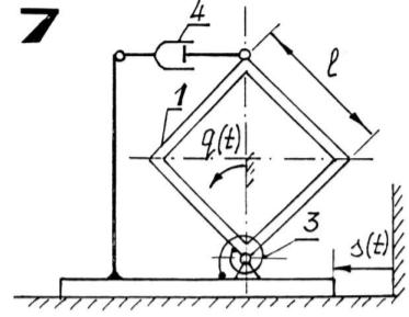
ДЗ 2: Колебания линейной системы с одной степенью свободы вариант 7
-43%
Описание
Характеристики домашнего задания
Предмет
Учебное заведение
Семестр
Номер задания
Вариант
Просмотров
144
Качество
Скан рукописных листов
Размер
2,64 Mb
Список файлов
колебания 7 вар.pdf

Спасибо за покупку! Я буду очень рад, если поставишь справедливую оценку купленному файлу :3 Ищи больше работ в моём профиле, там много нужного тебе!